AN-2599: Using the RBIAS Pin of Single Positive Supply RF Amplifiers as a Fast Enable/Disable Input
Introduction
RF amplifiers designed in the traditional depletion mode gallium arsenide (GaAs) pseudomorphic high electron mobility transistor (pHEMPT) process require a negative gate voltage to set the drain current. Recent semiconductor process enhancements and design innovations have given rise to RF amplifiers that operate from a single positive supply voltage and are biased by a single-supply referenced resistor. While there is an obvious benefit to eliminating negative supply voltages, the RBIAS function can also be used to turn on and off the device. This article explores these capabilities and presents some of the associated trade-offs.
Traditional Negative gate Voltage Biasing
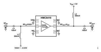
Figure 1 shows the HMC8410, a low noise RF amplifier that operates from 10MHz to 10GHz. It requires a drain current, set by the negative gate voltage, to turn on. The application schematic shown in Figure 1 has a positive drain voltage that is applied through an inductor to the RFOUT/VDD pin. A negative gate voltage is applied directly to the RFIN/VGG1 pin via an inductor. The negative gate voltage is adjusted to set the desired drain current. To avoid excessive drain current and burnout, the negative gate bias voltage must be applied before the drain voltage.

Single Positive Supply RF Amplifier with Resistor Adjustable Bias Current
Figure 2 shows a single positive supply low noise RF amplifier, the HMC8412, which operates at 400MHz to 11GHz. In this schematic, a resistor is placed between the RBIAS pin and the drain voltage to set the desired drain current. Figure 3 shows a plot of the bias current vs. resistor values at different supply voltages. The typical current flowing through the RBIAS resistor is a few milliamperes.

Using the RBIAS pin as an Enable/Disable Input
The ability for an RF amplifier to shut down is a desirable feature in power sensitive applications. In Figure 4, the ADG719, a single- pole double throw (SPDT) switch is used to disable and enable the HMC8412, by connecting the RBIAS resistor either to supply ground. Featuring an on and off time of 12ns and 6ns, respectively, the ADG719 switch is not a limiting factor in the overall response time.

If the enable/disable signal is coming from a 50Ω source, it is good practice to terminate at the input, IN, of the switch with a 50Ω resistor. An alternative approach is to use a single-pole single throw (SPST) switch to turn on and off the amplifier by switching the RBIAS pin directly to ground. A disadvantage of this approach is that the current continues to flow through the RBIAS resistor.
Figure 5 shows the response time of the circuit in Figure 4. The blue trace is the enable signal, and the green trace is the RFOUT envelope. The turn-on response is approximately 200ns, and the turn-off response is approximately 500ns.

Impact of Matching Network on Enable/Disable Response Time
In Figure 6, the ADG719 is used to enable and disable the HMC8413, a low noise RF amplifier that operates from 10MHz to 9GHz. This circuit includes a shunt resistor, inductor, and capacitor (RLC) network at the input of the HMC8413. This RLC network adds resistive loss that reduces the gain at low frequencies and stabilizes the amplifier.

Figure 7 shows the response time for the circuit in Figure 6. The turn-on response is approximately 240μs, and the turn-off response is approximately 840μs. This response time is significantly slower than the response time seen for the HMC8412 application circuit (Figure 5).

Modified Circuit with Enhanced Response Time
The response time can be improved by eliminating the RLC net- work as shown in Figure 8. In addition, the AC-coupling capacitors and bias inductor are reduced in size. Modifications to the power supply decoupling components are also made to include a 5Ω resistor to ensure stability in the absence of the RLC network.
Figure 9 shows the response time of the modified circuit. The turn-on response is approximately 200ns, and the turn-off response is approximately 240ns. This response time is much faster than the response time seen for the default HMC8413 application circuit (Figure 7).
S-Parameter Comparison of Original and Modified Circuits
Figure 10 shows the S-parameters of the original and modified circuits. The modified circuit has a low-frequency response that rolls off at 200MHz. This is the result of the smaller AC coupling capacitors and bias inductor. The gain for both circuits is similar at frequencies above 600MHz.
Conclusion
The advent of single positive supply RF amplifiers with adjustable biasing is a significant advantage because it removes the need for negative gate supply voltages and the associated on and off sequencing. While all newer Analog Devices, Inc., LNAs have this functionality, going forward, higher power driver amplifiers and power amplifiers come available with single positive supplies. The RBIAS function can be used as a convenient shutdown feature, but some circuit modifications may be required if a fast turn-on and -off response is required.



