 
                
                            官方正品、现货发售、一片起订,人民币结算系统、国内顺丰速递
ADI 中国在线商城让您实现无忧订购!
                        
ADF5355
推荐用于新设计集成VCO的微波宽带频率合成器
- 产品模型
- 2
概述
- RF输出频率范围:54 MHz至13,600 MHz
- 小数N分频频率合成器和整数N分频频率合成器
- 高分辨率38位模数
- 工作频率高达125 MHz的鉴频鉴相器(PFD)
- 参考频率达600 MHz
- 在−40°C至+85°C范围内维持锁频
- 低相位噪声电压控制振荡器(VCO)
- 可编程1/2/4/8/16/32/64分频输出
- 模拟和数字电源:3.3 V
- 电荷泵和VCO电源:5 V(典型值)
- 逻辑兼容性:1.8 V
- 可编程双模预分频器:4/5或8/9
- 可编程的输出功率
- RF输出静音功能
- 模拟和数字锁定检测
- ADIsimPLL 设计工具支持
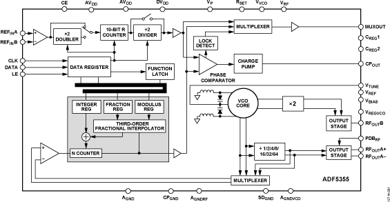
ADF5355结合外部环路滤波器和外部参考频率使用时,可实现小数N分频或整数N分频锁相环(PLL)频率合成器。 该微波宽带VCO设计允许在一个射频(RF)输出实现6.8 GHz至13.6 GHz的工作频率。 其他频率输出的一系列分频器可实现54 MHz至6,800 MHz的工作频率。
ADF5355具有集成VCO,其基波输出频率范围为3400 MHz至6800 MHz。 此外,VCO频率可进行1、2、4、8、16、32或64分频,因此用户可以产生低至54 MHz的RF输出频率。 对于要求隔离的应用,RF输出级可以实现静音。 静音功能既可以通过引脚控制,也可以通过软件控制。
所有片内寄存器均通过简单的三线式接口进行控制。 ADF5355采用3.15 V至3.45 V的模拟和数字电源工作,并带有4.75 V至5.25 V的电荷泵和VCO电源。此外,ADF5355还内置硬件和软件省电模式。
应用
- 无线基础设施(W-CDMA、TD-SCDMA、WiMAX、GSM、PCS、DCS、DECT)
- 点到点/点到多点微波链路
- 卫星/V-SAT
- 测试设备/仪器仪表
- 时钟产生
参考资料
数据手册 1
用户手册 1
应用笔记 2
技术文章 5
视频 5
器件驱动器 1
产品选型指南 1
模拟对话 2
ADI 始终高度重视提供符合最高质量和可靠性水平的产品。我们通过将质量和可靠性检查纳入产品和工艺设计的各个范围以及制造过程来实现这一目标。出货产品的“零缺陷”始终是我们的目标。查看我们的质量和可靠性计划和认证以了解更多信息。
| 产品型号 | 引脚/封装图-中文版 | 文档 | CAD 符号,脚注和 3D模型 | 
|---|---|---|---|
| ADF5355BCPZ | 32-Lead LFCSP (5mm x 5mm x 0.75mm w/ EP) | ||
| ADF5355BCPZ-RL7 | 32-Lead LFCSP (5mm x 5mm x 0.75mm w/ EP) | 
| 产品型号 | 产品生命周期 | PCN | 
|---|---|---|
| 1月 26, 2015 - 15_0018 ADF5355 and ADF4355-2 Datasheet Update | ||
| ADF5355BCPZ | 量产 | |
| ADF5355BCPZ-RL7 | 量产 | |
这是最新版本的数据手册
软件资源
Evaluation Software 0
找不到您所需的软件或驱动?
 
                             
                                                                     
                                                                     
                                                                    