power promo

本文从多个角度介绍了功能安全系统:首先概述工业领域的功能安全标准、相关概念及完整性等级(SIL);其次说明系统能力、可靠性预测和架构约束三项满足 SIL 的关键要求;第三部分分析监控器件如何依据 IEC 61508 实现功能安全,并给出其作为诊断功能和安全功能的应用案例;最后介绍功能安全器件的四类形态及特点:FS-Enabled、FS-Evaluated、FS-Compliant 和 FS-Certified。希望通过本文的分析,帮助读者全面理解功能安全系统并设计出高可靠产品。

立即下载

MAX16193

推荐用于新设计

精度为0.3%的双通道监控电路

精度为0.3%的双通道汽车级监控器

产品技术资料帮助

ADI公司所提供的资料均视为准确、可靠。但本公司不为用户在应用过程中侵犯任何专利权或第三方权利承担任何责任。技术指标的修改不再另行通知。本公司既没有含蓄的允许,也不允许借用ADI公司的专利或专利权的名义。本文出现的商标和注册商标所有权分别属于相应的公司。

Viewing:

概述

  • IN1阈值精度为±0.3%
  • IN2阈值精度为±0.3%
  • IN1阈值范围为0.6V至0.9V
  • IN2阈值范围为0.9V至3.3V
  • ±2%至±5%欠压/过压监控范围
  • 开漏/推挽型复位输出选项
  • 8引脚TDFN、2mm x 3mm可湿侧面封装
  • 工作温度范围:–40°C至+125°C
  • 通过AEC-Q100认证

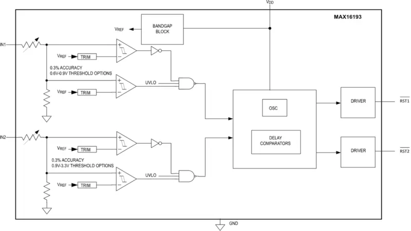
MAX16193是一款超高精度、双通道窗口检测器监控电路,用于监控系统电源轨的欠压和过压故障。输入通道1 (IN1)以±0.3%的精度监控0.6V至0.9V阈值范围内的低内核电压轨,而输入通道2 (IN2)则以±0.3%的精度监控0.9V至3.3V阈值范围内的较高系统电源轨。提供各种工厂调整的欠压/过压阈值,范围在±2%到±5%,以适应不同的电源电压和容差。

MAX16193具有两路独立的低电平有效复位输出。两路复位输出均提供开漏或推挽版本。当受监控的相应电源轨超出欠压/过压阈值窗口范围时,每路复位输出均会置为低电平。当相应的电源轨电压恢复至其标称电压电平时,这些复位输出会在工厂设置的复位超时周期后取消置位。

MAX16193采用小型2mm x 3mm、8引脚TDFN引线芯片、可湿侧面封装,并在-40°C至+125°C的汽车应用温度范围内工作。

 

应用

  • 先进驾驶辅助系统(ADAS)
  • 多电压ASIC
  • 服务器
  • 存储设备

MAX16193
精度为0.3%的双通道监控电路
MAX16193 Typical Application Circuit MAX16193 Pin Configuration
添加至 myAnalog

将产品添加到myAnalog 的现有项目或新项目中(接收通知)。

创建新项目
提问

参考资料

了解更多
添加至 myAnalog

Add media to the Resources section of myAnalog, to an existing project or to a new project.

创建新项目

软件资源

找不到您所需的软件或驱动?

申请驱动/软件

工具及仿真模型


评估套件

eval board
MAX16193EVKIT

MAX16193评估套件

特性和优点

  • 阈值精度为±0.3%
  • 标称阈值为0.9V/3.28V
  • 欠压/过压监控范围为±4%/±3%
  • 低电平有效RST1和低电平有效RST2信号的复位超时为10ms
  • 两种复位输出上拉电压选项
  • 经过验证的1.5” x 1.5”双层2oz铜基PCB布局
  • 展示紧凑的解决方案尺寸
  • 装配完成且经过测试

产品详情

MAX16193评估套件(EV套件)是一个经过全面测试且已装配完成的电路,用于演示MAX16193双通道、低压窗口检测器监控电路的功能。MAX16193评估套件可用于帮助评估MAX16193的0.3%过压/欠压故障检测能力。借助跳线JP1,可选择将复位输出的上拉电阻连接到VDD以外的电压。关于复位输出上的绝对最大额定电压,请参考MAX16193 IC数据手册。MAX16193评估套件采用1.5” x 1.5”PCB封装,并在-40°C至+125°C汽车应用温度范围工作。

 

应用

  • 先进驾驶辅助系统(ADAS)
  • 多电压ASIC
  • 服务器
  • 存储设备

MAX16193EVKIT
MAX16193评估套件
MAX16193EVKIT: Board Photo

最新评论

需要发起讨论吗? 没有关于 MAX16193的相关讨论?是否需要发起讨论?

在EngineerZone®上发起讨论

近期浏览