LTC3677-3

推荐用于新设计

高集成度便携式产品 PMIC

产品技术资料帮助

ADI公司所提供的资料均视为准确、可靠。但本公司不为用户在应用过程中侵犯任何专利权或第三方权利承担任何责任。技术指标的修改不再另行通知。本公司既没有含蓄的允许,也不允许借用ADI公司的专利或专利权的名义。本文出现的商标和注册商标所有权分别属于相应的公司。

Viewing:

概述

  • 具“即时接通”操作能力的全功能锂离子 / 锂聚合物电池充电器 / PowerPath 控制器
  • 三路、可调、高效率降压型开关稳压器 (800mA、500mA、500mA IOUT)
  • 用于降低 EMI 的 I2C 可调型 SW 转换速率
  • 在高温时降低电池电压可改善安全性和可靠性
  • 用于USB (VBUS) / 墙上适配器输入的过压保护控制器提供了至 30V 的保护能力
  • 1.5A 最大充电电流和热限制功能
  • 电池浮置电压:4.2V
  • 具系统复位功能的按钮 ON/OFF 控制
  • 双路 150mA 电流限制 LDO
  • 与 SiRF Atlas IV 处理器相兼容的启动定时
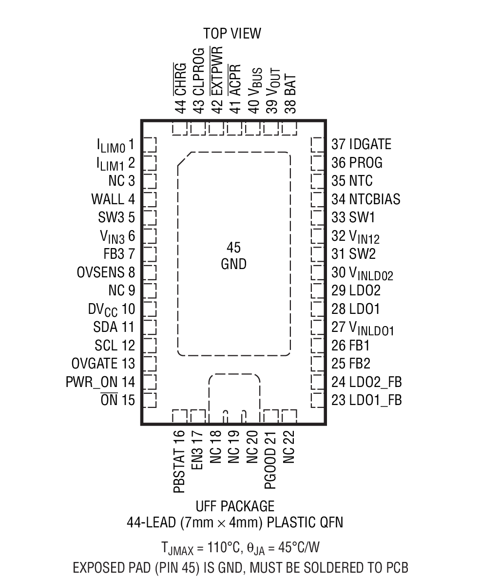
  • 小外形 4mm x 7mm 44 引脚 QFN 封装

 

LTC®3677-3 是一款面向单节锂离子/锂聚合物电池应用的高集成度电源管理 IC。它包括一个具自动负载优先级处理功能的 PowerPath 管理器、一个电池充电器、一个理想二极管、输入过压保护能力和众多其他内部保护功能。LTC3677-3 专为从电流受限型电源 (例如:USB) 来进行准确充电而设计,运用的方法是自动减小充电电流,这样负载电流与充电电流之和就不会超过编程输入电流限值 (100mA 或 500mA 模式)。LTC3677-3 在高温条件下将降低电池电压,以改善安全性和可靠性。三个降压型开关稳压器和两个 LDO 提供了众多的可用电源。LTC3677-3还包括一个按钮输入,用于控制电源排序和系统复位。LTC3677-3 具有专为支持 SiRF Atlas IV 处理器而设计的按钮定时和排序功能。LTC3677-3 采用扁平 4mm x 7mm x 0.75mm 44引脚 QFN 封装。

 


Applications

  • PND、DMB / DVB-H、数字 / 卫星无线电通信、媒体播放器
  • 便携式工业 / 医疗产品
  • 其他基于 USB 的手持式产品

 

LTC3677-3
高集成度便携式产品 PMIC
High Temperature BAT Discharge Product Package 1
添加至 myAnalog

将产品添加到myAnalog 的现有项目或新项目中(接收通知)。

创建新项目
提问

参考资料

了解更多
添加至 myAnalog

Add media to the Resources section of myAnalog, to an existing project or to a new project.

创建新项目

软件资源

找不到您所需的软件或驱动?

申请驱动/软件

硬件生态系统

部分模型 产品周期 描述
保护开关和控制器 2
LTC4362 推荐用于新设计 1.2A 过压/过流保护器
LTC2955 推荐用于新设计 具自动接通功能的按钮接通 / 关断控制器
电池监控器和电量计 1
LTC2942 不推荐用于新设计 具温度、电压测量功能的电池电量测量芯片
模数转换器(ADC) 1
LTC2991 推荐用于新设计 8 通道 I2C 电压、电流和温度监视器
Modal heading
添加至 myAnalog

将产品添加到myAnalog 的现有项目或新项目中(接收通知)。

创建新项目

最新评论

需要发起讨论吗? 没有关于 LTC3677-3的相关讨论?是否需要发起讨论?

在EngineerZone®上发起讨论

近期浏览