ADF4107
量产PLL频率合成器
- 产品模型
- 6
Viewing:
概述
- 带宽:7.0 GHz
- 2.7 V至3.3 V电源供电
- 独立的电荷泵电源(VP)可在3 V系统中提供扩展的调谐电压
- 可编程双模预分频器:8/9、16/17、32/33、64/65
- 可编程电荷泵电流
- 可编程反冲防回差脉冲宽度
- 三线式串行接口
- 模拟和数字锁定检测
- 硬件和软件省电模式
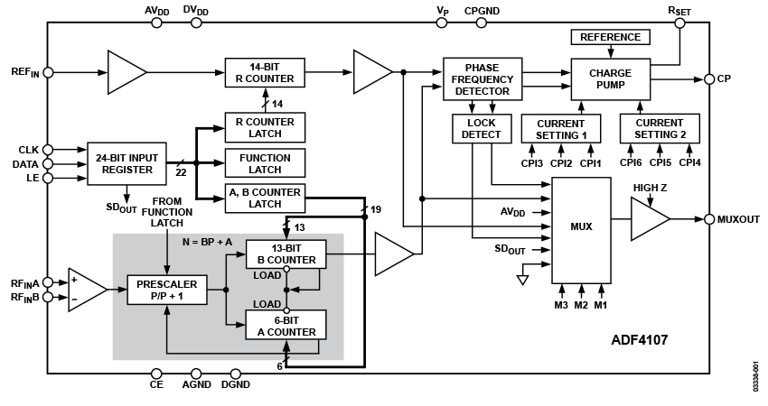
ADF4107频率合成器在无线接收机和发射机的上变频和下变频部分中,可用来实现本振。它由低噪声数字鉴频鉴相器(PFD)、精密电荷泵、可编程参考分频器、可编程A和B计数器以及双模预分频器(P/P+1)组成。A(6位)、B(13位)计数器与双模预分频器(P/P+1)配合,可实现N分频器(N = BP + A)。此外,14位参考分频器(R分频器)允许PFD输入端的REFIN频率为可选值。如果频率合成器与外部环路滤波器和电压控制振荡器(VCO)一起使用,则可以实现完整的锁相环(PLL)。其带宽极高,因此许多高频系统可以省去倍频器,从而简化系统架构并降低成本。
参考资料
数据手册 1
用户手册 2
应用笔记 3
评估设计文件 1
常见问题 1
产品选型指南 1
模拟对话 4
在线研讨会 2
ADI 始终高度重视提供符合最高质量和可靠性水平的产品。我们通过将质量和可靠性检查纳入产品和工艺设计的各个范围以及制造过程来实现这一目标。出货产品的“零缺陷”始终是我们的目标。查看我们的质量和可靠性计划和认证以了解更多信息。
| 产品型号 | 引脚/封装图-中文版 | 文档 | CAD 符号,脚注和 3D模型 |
|---|---|---|---|
| ADF4107BCPZ | 20-Lead LFCSP (4mm x 4mm w/ EP) | ||
| ADF4107BCPZ-REEL | 20-Lead LFCSP (4mm x 4mm w/ EP) | ||
| ADF4107BCPZ-REEL7 | 20-Lead LFCSP (4mm x 4mm w/ EP) | ||
| ADF4107BRUZ | 16-Lead TSSOP | ||
| ADF4107BRUZ-REEL | 16-Lead TSSOP | ||
| ADF4107BRUZ-REEL7 | 16-Lead TSSOP |
| 产品型号 | 产品生命周期 | PCN |
|---|---|---|
|
7月 5, 2022 - 21_0271 Qualification of an Alternate Adhesive Material and Molding Compound for Select LFCSP Packages |
||
| ADF4107BCPZ | 量产 | |
| ADF4107BCPZ-REEL | 量产 | |
| ADF4107BCPZ-REEL7 | 量产 | |
|
10月 18, 2016 - 16_0036 Assembly Relocation to Stats ChipPAC Jiangyin and Test Transfer to Stats ChipPAC Singapore of Select LFCSP Products |
||
| ADF4107BCPZ | 量产 | |
| ADF4107BCPZ-REEL | 量产 | |
| ADF4107BCPZ-REEL7 | 量产 | |
|
8月 6, 2014 - 13_0230 Assembly and Test Transfer of Select 3.5x3.5, 4x3, 4x4, and 5x5mm LFCSP Products to STATS ChipPAC China |
||
| ADF4107BCPZ | 量产 | |
| ADF4107BCPZ-REEL | 量产 | |
| ADF4107BCPZ-REEL7 | 量产 | |
|
11月 9, 2011 - 11_0241 Conversion of Select LFCSP Package Outlines from Punch to Sawn and Transfer of Assembly Site to STATS ChipPAC Malaysia. |
||
| ADF4107BCPZ | 量产 | |
| ADF4107BCPZ-REEL | 量产 | |
| ADF4107BCPZ-REEL7 | 量产 | |
|
10月 26, 2011 - 11_0020 Conversion of Select Sizes of LFCSP Package Outlines from Punch to Sawn and Transfer of Assembly Site to StatsChippac Malaysia. |
||
| ADF4107BCPZ | 量产 | |
| ADF4107BCPZ-REEL | 量产 | |
| ADF4107BCPZ-REEL7 | 量产 | |
|
3月 14, 2011 - 11_0045 Addition of STATSChipPAC Malaysia as an Alternate Test Site for LFCSP packages. |
||
| ADF4107BCPZ | 量产 | |
| ADF4107BCPZ-REEL | 量产 | |
| ADF4107BCPZ-REEL7 | 量产 | |
|
2月 15, 2010 - 07_0061 LFCSP Package Manufacturing Line Transfer from Amkor Korea to Amkor PRC |
||
| ADF4107BCPZ | 量产 | |
| ADF4107BCPZ-REEL | 量产 | |
| ADF4107BCPZ-REEL7 | 量产 | |
|
2月 11, 2011 - 10_0005 Halogen Free Material Change for TSSOP Products Assembled at Amkor |
||
| ADF4107BRUZ | 量产 | |
| ADF4107BRUZ-REEL | 量产 | |
| ADF4107BRUZ-REEL7 | 量产 | |
这是最新版本的数据手册
软件资源
找不到您所需的软件或驱动?
申请驱动/软件硬件生态系统
工具及仿真模型
评估套件
最新评论
需要发起讨论吗? 没有关于 ADF4107的相关讨论?是否需要发起讨论?
在EngineerZone®上发起讨论