概要
設計リソース
設計/統合ファイル
- Schematic
- Bill of Materials
- Gerber Files
- PADS Files
- Assembly Drawing
評価用ボード
型番に"Z"が付いているものは、RoHS対応製品です。 本回路の評価には以下の評価用ボードが必要です。
- EVAL-CN0190-EB1Z ($86.14) Robust, Multivoltage, High Efficiency, 25 W Universal Power Supply Module with 6 V to 14 V Input
機能と利点
- 12種類の電源レールと出力電流
- 過大電圧、過大電流の検出と保護
製品カテゴリ
マーケット & テクノロジー
使用されている製品
参考資料
-
CN0190 Software User Guide2018/10/18WIKI
-
CN-0190: 堅牢な、6 V ~14 V入力、多電圧、高効率、25Wユニバーサル電源モジュール2011/09/20PDF1012 kB
回路機能とその特長
FPGAや,CPU、 DSPなど、アナログ回路を各種組み合わせて使用する近年の複雑なシステムでは、一般的に多電圧レールを必要とします。電源システムは高信頼性、高安定性を高めるために、多電圧レールを出力するだけでなく、適切なシーケンス・コントロールと必要な保護回路を内蔵する必要があります。

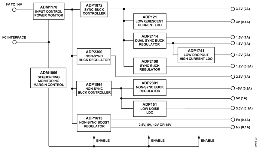
図1に示すモジュールは多電圧電源システムのリファレンス・ソリューションです。お客様のご要求に応じて回路を容易に変更して、使用頻度の高いシステムの電源電圧を出力させる事ができます。出力がフル負荷時、全体の効率が約78%になるように、回路はスイッチング・レギュレータとリニア・レギュレータを適切に組み合わせて使用しております。フル負荷時に供給される出力電力は約25 Wです。
回路説明
回路のブロック図を図1に示します。このセクションの完全な回路はCN0190 Design Support Packageに載っています。このモジュールは、デジタル回路とアナログ回路に必要とされるほとんどの標準的な電源電圧を出力し、過大電圧、過小電圧、過大電流の検出と保護を実現する簡単な方法も明示しています。さらに、このモジュールはシーケンス・コントロールと出力電圧調整機能(出力電圧マージニング)を実施する方法も示しています。
さらに、このモジュールはシーケンス・コントロールと出力電圧調整機能(出力電圧マージニング)を実施する方法も示しています。 ADM1066はワンチップで12電源レール全部の電源電圧モニタとシーケンス・コントロールさらに3.3V(2A)レールの出力電圧調整機能を行います。

入力保護回路の説明
図2に示す回路はモジュールの入力保護回路ですが、次のセクションで詳しく説明します。
入力電圧極性反転保護
極性反転に対する保護はP-チャンネル MOSFET(Q1)によって行われます。入力電圧が正で正常動作では、SYSTEM_POWERIN とSYS_GNDの間の電圧が正でゲート-ソース間スレシホールド電圧より大きい時、Q1(SI7461DP)はターンオンします。入力が負(極性反転した故障状態)の場合、主要回路を破損から守るためにQ1はターンオフするので、その機能はダイオードに似た機能になります。
PチャンネルMOSFETは高入力電流(6.67 Aまで)なので、ダイオードよりはるかに優れています。なぜならMOSFETは低オン抵抗なので電力消費を最小にできるからです。例えばSI7461DPのオン抵抗は VGSが−4.5 Vの時約0.02Ωです。従って6.67 Aの電流の場合、消費電力はわずか0.9 Wです。順方向電圧降下0.6 Vのダイオードは同じ電流で約4Wを消費します。 SI7461DPの最大VGSは±20 Vなので、モジュールの入力範囲6 V ~ 14 Vをカバーします。Q1を入力電圧変化に対して堅牢にするために、Q1のゲート・バイアス電圧を抵抗R4-R5で分割した出力から供給している事に注目してください。
過電流検出と保護
入力電流はホットスワップ・コントローラ/デジタル・パワー・モニタADM1178を使用して、15 mΩの電流検出抵抗R2の電圧降下を測定する事により検出されます。最大負荷電流は ADM1178内部のFETドライブ・コントローラがN-チャンネルMOSFET(Q2)のゲート電圧を制御する事により調整されます。 検出抵抗両端の電圧が100 mV以上になると、ゲート駆動電圧はQ2を流れる電流を制限してそれ以降の回路を保護します。
過電圧と低電圧の検出と保護
ADCMP670-1 はデュアル、低電力、高精度のコンパレータで400 mVのリファレンスを内蔵しています。2つのコンパレータと外付けMOSFET(Q4,Q5)でウインド・コンパレータを形成しています。5.54 V と 14.35 Vの低電圧スレッショールドと高電圧スレッショールドはそれぞれ抵抗分割R10–R11とR12–R13によって設定されます。もし入力電圧が高電圧側でウィンドウ域を外れると、VOUTAが”ハイ”になり、Q5がターンオンして、ADM1178のONピンが”ロー”に落ちるのでQ2がターンオフします。同じように、もし入力電圧が低電圧側でウィンドウ域を外れると、VOUTBが”ハイ”になり、Q4がターンオンして、ADM1178のONピンがローに落ちるのでQ2がターンオフします。
過電流、低電圧、過電圧の計算のまとめ
過電流スレッショールド= 100 mV ÷ 15 mΩ = 6.67 A
電流検出用抵抗の電力= 100 mV × 6.67 A = 0.667 W (0.75 W 抵抗を使用)
高電圧スレッショールド= 0.4 V(R10 + R11)/R11 = 14.35 V
低電圧スレッショールド= 0.4 V(R12 + R13)/R11 = 5.54 V
IC 保護回路
各電源用ICには関連したいくつかの保護機能もあります。出力レールがパワーアップ時に予測可能な方向で動作するために必要な最低入力電圧よりも入力電圧が下がった時、低電圧ロックアウト(UVLO)がICへのすべての入力と出力をディスエーブルにします。サーマル・シャット・ダウン(TSD) は高動作接合部温度による破損からICを守ります。過電流保護(OCP)は同様に出力が短絡した時ICを守ります。詳細は、個々の電源ICのデータシートに載っています。
ユニバーサル電源モジュールの電源レールの説明
表1にまとめたように、ここにはこのモジュールによって供給される12種類の電源レールがあります。3.3V(2A)、1.5V(1A)、1.8V(1A)、1.2V(0.5A)の4種類のレールは同期降圧回路を基本にしています。5.0V(1A)と、 2.5V(1A)の2種類のレールは非同期降圧回路を基本にしています。−5 Vレールは +5.0V(1A)レールから反転バック・ブースト回路を使用して生成します。正と負のアナログ電圧{Px,Nx}(0.1A)はSepic-Cuk回路で生成します。 最後の3種類の電源電圧はLDOを使用して供給します。各レールのLEDインジケータは独立した電源をもちます。表1は電圧、最大電流能力、電源用ICの主な特長、各電源電圧の代表的なアプリケーションの一覧です。
| 出力電圧 | 電流 | 電源 IC | 電源 IC の概要 | 代表的な アプリケーション |
| 3.3 V | 2 A | ADP1872 | ADP1872 は汎用、電流モードの同期式ステップ・ダウン・コントローラで、優れ た過度応答、最適な安定性を提供し、設定可能な電流検出ゲイン、電流制御回路 を伴った一定のオン時間、擬似固定周波数を用いた電流制限保護も備えていま す。 | 汎用デジタル回路、 I/O 電圧 |
| 5.0 V | 1 A | ADP1864 | ADP1864 は小型、低価格、一定周波数、電流モードのステップ・ダウン DC/DC コ ントローラです。ADP1864 で駆動する P チャンネル MOSFET は、14V という高い 入力電圧から 5A までの負荷電流に対して、0.8V という低い出力電圧を±1.25%の 精度でレギュレーションします。デバイスは低ドロップアウト電圧のために 100% デューティ・サイクルで動作する事ができます。 | |
| 1.5 V | 1 A | ADP2114 | ADP2114 は汎用、同期型デュアル、ステップダウン・スイッチング・レギュレー タでユーザーの広範囲の負荷要求を満足します。2 つの PWM チャンネルは、独立 した 2A と 2A(又は 1A/3A)出力に設定するか、1つの 4A インターリーブ出力に 設定できます。入力のリップル電流を軽減し、入力容量を軽減するために 2 つの PWM チャンネルは 180°位相シフトされております。 | MCU、 DSP 又は FPGA のコア電圧 |
| 1.8 V | 1 A | |||
| 2.5 V | 1 A | ADP2300 | ADP2300 は、小型、一定周波数、電流モードのステップ・ダウン DC-DC レギュレ ータで、パワーMOSFET を内蔵しています。ADP2300 は 3.0 V ~20 V の入力電圧 で動作するので広範囲のアプリケーションに適しています。 | |
| 1.2 V | 0.5 A | ADP2108 | ADP2108 は高効率、低静止電流のステップ・ダウン DC/DC コンバータです。この デバイスには全部で 3 個の小さな外付け部品しか必要としません。このデバイス は、優れた安定性と過度応答のために当社独自の高速電流モード、一定周波数の パルス幅変調(PWM)制御回路を使用しております。100%デューティ・サイク ルでの動作は低ドロップ・アウト電圧を提供します。 | |
| 1.0 V | 2A | ADP1741 | ADP1741 は 1.6 V~3.6 V で動作し、最大出力電流が 2A の低ドロップ・アウト (LDO)CMOS リニア・レギュレータです。 | |
| Px | 0.1 A | ADP1613 | ADP1613 は、最大 20 V の出力電圧が可能なパワー・スイッチ内蔵のステップ・ア ップ DC/DC スイッチング・コンバータです。 | ADC、DAC、アン プ、アナログ・マル チプレクサなどのア ナログ又はミックス ド・シグナル・シス テム |
| Nx | 0.1 A | |||
| 3.3 V | 0.15 A | ADP151 | ADP151 は、超低ノイズ (9µV)、低ドロップ・アウトのリニア・レギュレータで、 2.2V~5.5V で動作し、最大出力電流は 200 mA です。 | |
| 3 V | 0.1 A | ADP121 | ADP121 は、低静止電流、超低ノイズ、低ドロップ・アウトのリニア・レギュレー タで、2.3V~5.5V で動作し、最大出力電流は 150 mA です。 | |
| −5 V | 0.2 A | ADP2301 | ADP2301 は、小型、一定周波数、電流モードのステップ・ダウン DC-DC レギュレ ータで、パワーMOSFET を内蔵しています。デバイス ADP2301 は 3.0 V ~ 20 V の 入力電圧で動作するので、広範囲のアプリケーションに適しています。 |
低ドロップ・アウト・リニア・レギュレータ(LDO)は一般的にスイッチング電源よりも容易に使用可能で、低ノイズで、過度応答特性が優れています。しかしそれらは、出力電圧が入力電圧よりかなり低い時には効率が悪くなります。この事はそれらの電流出力能力を制限します。 スイッチング電源は高効率で高電流出力なので一般的に電源システムの初段に最適です。
スイッチング電源によって生じるノイズはコントロール・ループを適切に設計し、優れたPCBレイアウト技術を用いる事により最小限に抑える事ができます。スイッチング電源は、次の回路ノートに述べるように注意して使用する事により、しばしば高性能アナログ回路の電源として使用する事ができます: CN-0135、 CN-0137、 CN-0141と CN-0193
| VOUT | VIN(MIN) | VIN(MAX) | IOUT(MAX) | IRIPPLE | VRIPPLE | ISTEP | VSTEP |
| 3.3V(2A) | 6 V | 14 V | 4 A | 33% IOUT(MAX) | 1% VOUT | 80% IOUT(MAX) | 5% VOUT |
| 5.0V(1A) | 6 V | 14 V | 2 A | 33% IOUT(MAX) | 1% VOUT | 75% IOUT(MAX) | 5% VOUT |
| 2.5V(1A) | 6 V | 14 V | 1 A | 33% IOUT(MAX) | 1% VOUT | 80% IOUT(MAX) | 5% VOUT |
| {Px,Nx}(0.1A) | 6 V | 14 V | 0.1 A | 33% IOUT(MAX) | 1% VOUT | 70% IOUT(MAX) | 5% VOUT |
| 1.8V(1A) | 3.2 V | 3.4 V | 3 A | 33% IOUT(MAX) | 1% VOUT | 90% IOUT(MAX) | 5% VOUT |
| 1.5V(1A) | 3.2 V | 3.4 V | 1 A | 33% IOUT(MAX) | 1% VOUT | 90% IOUT(MAX) | 5% VOUT |
| 1.2V(0.5A) | 3.2 V | 3.4 V | 0.5 A | 33% IOUT(MAX) | 1% VOUT | 90% IOUT(MAX) | 3% VOUT |
ADIsimPower を使った個別のスイッチング電源回路 の設計
ADIsimPower は対話型設計ツールで、電源 IC の選択工程を簡 略化し、最適なリニア又は DC-DC コンバータを組み立てるた めに必要な情報を提供します。プログラムはすべての面倒な計 算を遂行し、最終回路、推奨する部品表、推定性能を提供し ます。使用部品の推薦は既知の電気的特性に基づき大規模な 部品データベースから行われます。ユーザーは単にプログラ ムにシステム-レベルの入力を行うだけです;表 2 に示すよう に最小入力電圧、最大入力電圧、出力電圧、出力電流、出力 電流リップル、出力電圧リップル、過度応答など。
(反転バック・ブースト構成の)ADP2301を使用した−5V(0.2A)レールを除き、この電源モジュールのスイッチング・コントローラとスイッチング・レギュレータを基本としたすべての電源レールはADIsimPowerを使用して設計されます。
ADIsimPower に関する詳細は Analog Dialogue 44-01 “ADIsimPower™ Provides Robust, Customizable DC-to-DC Converter Designs” と www.analog.com/jp/ADIsimPower を参照 してください。
設計例 1:ADP1872を使用した3.3V(2A)レール
図3にADP1872で制御する同期降圧回路の回路図を示します。この回路は次の3つの部分に分ける事ができます。Aの部分はADP1872のバイアス電圧の生成部で、Bの部分はイネーブル・コントロール、そしてCの部分は電圧のスイッチング・レギュレータ部です。
ADP1872は2.75 V~5.5 Vの広範囲のバイアス電圧で動作します。図3のAの部分に示すように、この回路でバイアス電圧はNPNバッファ・トランジスタと組み合せた4.7 V ツェナ―・ダイオードが供給します。選択したツェナ―ダイオード(DDZ9687)は電流 50 µAでツェナ―電圧が4.7 Vです。ADP1872の最大入力電圧は20 Vです。
ADP1872のピン2 (COMP/EN)は内部の高精度イネーブル回路に接続しているだけでなく全体のループ特性をコントロールする内蔵誤差アンプの出力にも接続されています。Nチャンネル MOSFET(Q9)はADP1872のイネーブル・コントロールを接地してデバイスをディスエーブルにするために使用します。Q9がオフで、ADP1872がイネーブルの時、ループ特性はC11, C12と R16の回路網でコントロールされます。Q8はインバータとして動作し、Bの部分 の入力(EN_3.3V)に正のロジック信号が加わるとADP1872がイネーブルになります。
図3のCの部分に示す回路は表2に示した入力を基にADIsimPowerを使用して作成しました。


設計例 2:出力の過電流検出と保護回路つき正/負のアナログ・レール{Px,Nx}(0.1A)
正/負のアナログ・レール{Px,Nx}(0.1A)は、ステップアップ・コントローラADP1613を使いSepic-Cuk回路構成で設計されています。フィードバック経路の抵抗の値を変える事により、出力を4つの異なる対称な出力電圧に設定する事ができます。設定できる電圧は{+2.5V,−2.5V}、 {+5V,−5V}、{+12V,−12V}、{+15V,−15V}です。図4はすべての部品をADIsimPowerに基づいて選択した回路です。アナログ電源の出力リップルをさらに削減するために出力容量を10 µFに増やしました。又ノイズを抑制するためにフェライト・ビーズと3端子コンデンサを使った外付けLCフィルタを使用しています。R76とR77は過電流検出のために追加した240 mΩシャント抵抗ですが、コントロール・ループの特性には重大な影響を及ぼしません。
図5に過電流検出回路を示します。ADM1170はソフトスタート機能付きホットスワップ・コントローラで、この回路では正の出力レールの過電流検出に使用しています。内部の過電流検出回路は{Px,Nx} 出力の範囲2.5 V~15 Vを含む1.6 V~16.5 Vの電圧を制御できます。SENSE+とSENSE−間の電圧が50 mVtyp以上の時、ゲートピンが接地され、ADP1613をシャットダウンします。 過電流スレッショールドは240 mΩ シャットダウン抵抗(R76)によって208 mAtypに設定されています。

負の出力レールの過電流検出回路には高同相電圧プログラマブル・ゲイン差動アンプAD628と0.6 Vリファレンス内蔵のコンパレータADCMP350を組み合わせて使用します。AD628は2段構成のアンプです。初段は、固定ゲイン= 0.1の差動アンプです。2段目のゲイン(G)は外付け抵抗で設定できます。過電流スレッショールドとシャント抵抗の値は正のレールで使用された値と同じです。2段目のアンプのゲインは(式1をGについて解く式に書き直す事により計算され)G = 125になります。

ここでITHRESHOLD = 208 mA, and RSHUNT = 240 mΩ.
AD628の電源は{Px,Nx} レールから供給されるので、モジュールの初期パワーオン期間の間に両電圧が安定する時間が必要です。この時間の間は電源レベルが不定なのでAD628は異常に動作する可能性があります。 抵抗2 kΩ(R62)は{Px,Nx}電圧がそれぞれの最終値になる前にAD628の出力をプルダウンし、回路がラッチアップ状態にならないように防ぎます。
設計例 3:ADP2301で制御する反転バック・ブースト構成を使用した−5V(0.2A)1
ADP2301は非同期ステップダウン・レギュレータです。図6に示す回路でADP2301は負電圧を発生させるために反転バック・ブースト構成で使用されます。この回路は直接ADIsimPowerでサポートされていませんが、詳細はアプリケーション・ノート AN-1083,"スイッチング・レギュレータADP2300 とADP2301を使った反転降圧ブーストのデザイン."に説明されています。この構成で、ADP2301のVINピンとGNDピンは それぞれ電圧の入力レールと出力レールに接続されます。フィードバック抵抗の値を変える事により他の負電圧を発生させる事ができます。しかし、 |VIN| + |VOUT| をADP2301の最大入力電圧の20 V以下にする事が重要です。

電源モニタ、シーケンスと出力電圧調整機能
電圧モニタ
Super Sequencer® ADM1066は設定可能なデバイスで、多電源システムの電源モニタとシーケンスをワンチップで処理できます。回路を図7に示します。システムの入力電源をADM1066のVHに接続します。−5V(0.2A)を除くすべての電源レールを抵抗分割で減衰後、直接VPx、VXx 、AUXxに接続します。 高電圧入力又は負入力をモニタする方法についての詳細はAN-780 と AN-782を参照してください。
ADM1066 には最大10個の電源故障検出(SFD)があります。入力は過小電圧故障(入力電圧が予め設定された値以下に下がる)、又は過電圧故障(入力電圧が予め設定された値以上に高くなる)、またはウィンドウ域外故障(入力電圧が予め設定された範囲の外になる)を検出するために設定する事ができます。モジュールのすべての電源はウィンドウ域外故障の基準を使用してモニタされます。各ウィンドウのスレッショールドはVOUT + 5% と VOUT − 5%.に設定されます。各電源のパラメータを表3に示します。
ADM1066の10個のPDO出力が12種類の電源レールをすべてコントロールします。 5.0V(1A)、−5V(0.2A)と{Px,Nx}(0.1A)は1つのPDOピンを共用します。 他のすべての出力は個々のPDOピンによってコントロールされます。

| Power Rail | VMAX (V) | VMAX (V) | Resistor Divider | Overvoltage Threshold (V) | Undervoltage Threshold (V) | |
| VX1 | 1.0V_2A | 1.05 | 0.95 | 1 | 1.05 | 0.95 |
| VX2 | 1.5V_1A | 1.575 | 1.425 | 5/6 | 1.31 | 1.19 |
| VX3 | 1.2V_0.5A | 1.26 | 1.14 | 1 | 1.26 | 1.14 |
| VX4 | 3.3V_0.1A | 3.465 | 3.135 | 5/16 | 1.08 | 0.98 |
| VX5 | 1.8V_1A | 1.89 | 1.71 | 11/16 | 1.30 | 1.18 |
| VP1 | 5.0V_1A | 5.25 | 4.75 | 1 | 5.25 | 4.75 |
| VP2 | 3.3V_2A | 3.465 | 3.135 | 1 | 3.465 | 3.135 |
| VP3 | 2.5V_1A | 2.625 | 2.375 | 1 | 2.625 | 2.375 |
| VP4 | 3.0V_0.1A | 3.15 | 2.85 | 1 | 3.15 | 2.85 |
| VH | VIN | 14.20 | 5.70 | 1 | 14.20 | 5.70 |
| AUX1 | Nx_0.1A | −2.375 | −2.375 | 1/11 | 1.65 | 0.43 |
| AUX2 | Px_0.1A | 15.57 | 2.375 | 1/12 | 1.30 | 0.22 |
シーケンス・コントロールの方策
図1に示すように、出力レールによって電源経路は、3段階まで上がることができます。3.3V(2A)、2.5V(1A)、5V(1A)、{Px,Nx}(0.1A)のレールは入力電圧から直接変換され初段だけ通過します。3V(0.1)、1.5V(1A)、1.8V(1A)、1.2V(0.5A)、 −5V(0.2A)、3.3V(0.1A)のレールは2段通過します。1.0V(2A)レールは3段通過します。
シーケンスとコントロールは次のように行われます:
- 初段、2段目、3段目を順次ターンオンし、次に各レールの電圧をチェックします。
- もしいくつかのレールが設定時異常であれば、同じ段のすべてのレールをターンオフし、戻って前段の出力をチェックします。もし前段のレールがすべて正常なら、再度この段のすべてのレールをターンオンします
- それらがすべて正常にターンオンした後に全てのレールをモニタします。いずれかの出力が異常の場合、3段すべての出力全部をターンオフし、初めのステップにもどり、初段の出力をターンオンします。
ADM106x Configuration Tool-Version 4.0.6によって生成されたステート・マシン を図8に示します。Application Note AN-0975, "Automatic Generation of State Diagrams for the ADM1062 to ADM1069 Using Graphvizもご覧ください。
下記はステート図に使用される項目の定義です。:
PSetUp : 電源の入力電圧をチェック
TOnStx : x (x = 1, 2, 3)段をターンオン
TOffStx : x (x = 1, 2, 3)段をターンオフ
MoStx : x(x = 1, 2, 3)段をモニタ
MoAll:段をモニタ
注意:バイナリ・ワード形式は(PDO10, PDO9, PDO8, PDO7, PDO6, PDO5, PDO4, PDO3, PDO2, PDO1)です。

3.3V(2A)電圧レールの出力電圧調整機能
ADM1066には閉ループ・マージニング・システムを行うために使用する6つのDACがあります。閉ループ・マージニング・システムはDAC出力を使ってDC/DCコンバータのフィードバック・ノードまたはリファレンスを変える事により電源の調整を可能にします。DAC1はR85、C82とR89を通して3.3V(2A)レール系統のADP1872のフィードバックに接続されます。コンデンサC82はPCBパターンのノイズをデカップリングするために使用されます。R89とR85の合計抵抗は152.3 kΩに設定されるので、3.3V(2A)の出力をVOUT_3.3(2A) − 0.2 VからVOUT_3.3V(2A) + 0.2 まで連続に調整できます。
各スイッチング電源と電源モジュール全体の効率の実測値
各スイッチング電源の実測した効率を負荷電流の関数として図9に示します。10V入力電圧で出力がフル負荷時の電源モジュール全体の効率を図10に示します。表4は入力電圧が6 V、10 V、14 Vの場合のモジュールの効率の一覧です。


| VIN = 6 V | VIN = 10 V | VIN = 14 V | |
| Total Input Power (W) | 30.79 | 31.47 | 32.24 |
| Total Circuit Power Loss (W) | 5.96 | 6.63 | 7.39 |
| Total Output Power (W) | 24.83 | 24.85 | 24.85 |
| Overall Efficiency (%) | 80.6 | 80.6 | 80.6 |
実測した出力電圧リップル
すべてのスイッチング・モジュールの出力についてリップルを測定しました。スイッチング電源ADP2114 の出力1.5V(1A)の代表的な結果を図11に示します。表5はリップルの結果の一覧です。
| Power Rail | VIN | VRIPPLE (P-P) | ISTEP | ISTEP |
| 3.3V(2A) | 10 V | 26.4 mV (0.8%) | 3.2 A* | 170 mV (5.2%) |
| 5.0V(1A) | 10 V | 43.6 mV (0.9%) | 1.5 A* | 130 mV (2.6%) |
| 2.5V(1A) | 10 V | 8.2 mV (0.3%) | 0.8 A | 80 mV (3.2%) |
| 1.8V(1A) | 3.3 V | 7.6 mV (0.4%) | 2.7 A* | 50 mV (2.8%) |
| 1.5V(1A) | 3.3 V | 8.6 mV (0.6%) | 0.9 A | 39 mV (2.6%) |
| 1.2V(0.5A) | 3.3 V | 11.4 mV (0.9%) | 0.45A | 26 mV (2.2%) |
*これらの出力はモジュールのレギュレータを駆動します。
リップルの測定は回路のレイアウト、オシロスコープの帯域幅設定、プローブの帯域幅、プローブを出力に接続する方法に大きく依存します。図11に示す測定は受動プローブ(P6139A, 500 MHz, 10×) を使用し、テクトロニクスの300 MHz オシロスコープ(TDS3034B)で行われました。オシロスコープとプローブを組み合わせたフル帯域幅は300 MHzです。オシロスコープにはいくつかの(有効帯域幅を減衰する内部フィルタを使用した)内部帯域設定があります。図11のデータは、フルの300MHz帯域幅で測定されました。
電源ノイズとリップルの測定に関する詳細はChapter 8, Power and Thermal Management Hardware Design Techniques, Analog Devices, 1998(英語)に載っています。

オシロスコープ(テクトロニクス TDS3034B)、プローブ(P6139A)、オシロスコープ の帯域幅は300 MHzに設定
実測した過度応答
FPGA、DSP、その他のデジタルICはしばしば電源には過度電流が発生する負荷になります。電源をこれらの条件下で規定された制限内に保つ事が重要です。ADP2114 をベースとした出力1.8V(1A)の代表的な過度応答を図12に示します。スイッチング電源の過度応答測定の一覧を表5に示します。3.3V(2A)、5V(1A)、1.8V(1A)レールの場合、ステップ電流が各々のレール出力の電流より高くなる事に注意してください。なぜならこれらの電圧は複数段を駆動するからです。

バリエーション回路
ADM1275はワンチップでシステムのホットスワップ・コントロールと過大電流、過小電圧、過大電圧の検出と保護が可能です。ADP1870は内部回路に電圧を供給できるバイアス・レギュレータ(従って外部部品の数を減らす)を内蔵しているので、外付け部品を削減できます。ADP1871 と ADP1873は ADP1870や ADP1872の 低消費電力モード (PSM)版 ですが、軽負荷で高効率を必要とするアプリケーションにも使用できます。ADP2116は3 A/3 A あるいは 3 A/2 A のデュアル出力負荷構成または結合して6Aのシングル出力負荷に設定可能でADP2114とピン・コンパチブルです。大電流出力能力のある負レールはADP1621を使用してCuk回路構成にする事により生成できます。
回路の評価とテスト
この電源モジュールは 6 V ~ 14 V の任意の電圧の DC 電源で 電源投入後、簡単に評価する事ができます。任意の電源レー ルの出力能力をテストする時、DC 電源が要求を満足している かどうかを確認してください。図 8 に示すようにすべての電 源レールは ADM1066 を使ってプリロードしたモニタとコン トロールの手順でターンオンします。ユーザーは又ユーザー 自信のアプリケーションの電源モニタとシーケンス・コント ロールを行うために、Super Sequencer 評価基板ソフトウエア ADM106x を使って、ユーザー自信のコントロール手順を設計 し、それを I2C バス・コネクタ JP1 を介して ADM1066 にダウ ンロードする事ができます。詳細については ADM1066 と AN-698 "Configuration Registers of ADM1062/ADM1063/ADM1064/ADM1065/ADM1066/ADM1067/ADM1166"(英文)と AN-0975 を参照してください。
EVAL-CN0190-EB1Z基板の写真を図13に示します。

必要な装置(同等の装置に変更可能)
- テクトロニクス TDS3034B 4チャンネル 300 MHz カラー・デジタル・フォスファ・オシロスコープ
- テクトロニクス P6139A、500 MHz、8 pF、10 MΩ、10× 受動プローブ
- アジレント N3302A、 150 W、0 A ~ 30 A、0 V ~ 60 V N3300Aと組み合わせの電子負荷モジュール
- アジレント E3631A、0 V ~ 6 V、5 A; 0 V ~±25 V、1 A、トリプル出力DC電源
- アジレント 3458A、 8.5 デジット・デジタル・マルチメータ
- フルーク 15B デジタル・マルチメータ
- USB-SMBUS-CABLE Z (USB to I2C インターフェース・ドングル) または CABLE-SMBUS-3PINZ (パラレル・ポート to I2C インターフェース ケーブル)
- USBインターフェースつきPC (Windows 2000 または Windows XP)
セット・アップとテスト
電源レールの効率を測定するブロック図を図14に示します。10 VでEVAL-CN0190-EB1Zの電源を立ち上げた後に、電子負荷(アジレントN3302A)を定電流モードで動作するように設定します。アジレント3440Aを電流計として動作するように設定し、フルーク15Bを電圧計として動作するように設定します。電力出力はVOUT を IOUTに乗算する事により計算できます。VINとIINはDC電源(アジレントE3631A)の表示ウィンドウから直接読み取れます。効率は式2から計算できます。


リップルと過度応答は図15に示した回路を使って測定します。オシロスコープのチャンネルAはモジュールの出力電圧をモニタします。チャンネルBは電流検出抵抗0.1Ω両端の電圧(負荷電流に比例する)をモニタします。振幅と周波数をプリセットし、電子負荷を”スイッチ”モードに設定します。そこで出力ダイナミック電圧とダイナミック電流はオシロスコープで捉える事ができます。


