ADF4001

PRODUCTION

200 MHz Clock Generator PLL

Viewing:

Overview

  • 200 MHz Bandwidth
  • 2.7 V to 5.5 V Power Supply
  • Programmable Charge Pump Currents
  • 3-Wire Serial Interface
  • Hardware and Software Power-Down Mode
  • Analog and Digital Lock Detect

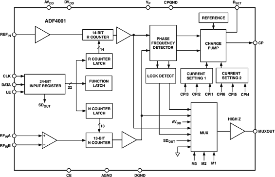
The ADF4001 frequency synthesizer can be used to implement clock sources for PLLs that require very low noise, stable reference signals. It consists of a low-noise digital PFD (Phase Frequency Detector), a precision charge pump, a programmable reference divider, and a programmable 13-bit N counter. In addition, the 14-bit reference counter (R Counter), allows selectable REFIN frequencies at the PFD input. A complete PLL (Phase-Locked Loop) can be implemented if the synthesizer is used with an external loop filter and VCO (Voltage Controlled Oscillator) or VCXO (Voltage Controlled Crystal Oscillator). The N min value of 1 allows flexibility in clock generation. 

There is a newer version of this part available

ADF4002 RECOMMENDED FOR NEW DESIGNS

Phase Detector / PLL Frequency Synthesizer

ADF4001
200 MHz Clock Generator PLL
ADF4001 Functional Block Diagram ADF4001 Pin Configuration
Add to myAnalog

Add product to the Products section of myAnalog (to receive notifications), to an existing project or to a new project.

Create New Project
Ask a Question

Documentation

Learn More
Add to myAnalog

Add media to the Resources section of myAnalog, to an existing project or to a new project.

Create New Project

Software Resources


Hardware Ecosystem

Parts Product Life Cycle Description
Frequency Dividers & Multipliers 1
ADF5001 PRODUCTION 4 GHz TO 18 GHz Divide-by-4 Prescaler
LDO Linear Regulators 3
ADP151 PRODUCTION Ultralow Noise, 200 mA, CMOS Linear Regulator
ADP3334 NOT RECOMMENDED FOR NEW DESIGNS High Accuracy Low IQ, 500 mA anyCAP­® Adjustable Low Dropout Regulator
ADP150 PRODUCTION Ultralow Noise, 150 mA CMOS Linear Regulator
Modulators & Demodulators 2
ADL5375 PRODUCTION 400 MHz TO 6 GHz Broadband Quadrature Modulator
ADL5380 RECOMMENDED FOR NEW DESIGNS 400 MHz TO 6000 MHz Quadrature Demodulator
Operational Amplifiers (Op Amps) 1
OP184 PRODUCTION Single-Supply Rail-to-Rail Input/Output Operational Amplifier
RF Mixers 2
ADL5801 RECOMMENDED FOR NEW DESIGNS High IP3, 10 MHz TO 6 GHz, Active Mixer
ADL5802 RECOMMENDED FOR NEW DESIGNS Dual Channel High IP3 100 MHz TO 6 GHz Active Mixer
Switching Regulators & Controllers 1
ADP1613 PRODUCTION 650 kHz /1.3 MHz Step-Up PWM DC-to-DC Switching Converter with 2.0 A Current Limit
Modal heading
Add to myAnalog

Add product to the Products section of myAnalog (to receive notifications), to an existing project or to a new project.

Create New Project

Tools & Simulations

ADIsimRF

ADIsimRF is an easy-to-use RF signal chain calculator. Cascaded gain, noise, distortion and power consumption can be calculated, plotted and exported for signal chains with up to 50 stages. ADIsimRF also includes an extensive data base of device models for ADI’s RF and mixed signal components.

Open Tool

ADIsimPLL™

ADIsimPLL enables the rapid and reliable evaluation of new high performance PLL products from ADI. It is the most comprehensive PLL Synthesizer design and simulation tool available today. Simulations performed include all key non-linear effects that are significant in affecting PLL performance. ADIsimPLL removes at least one iteration from the design process, thereby speeding the design- to-market.

Open Tool

Evaluation Kits

eval board
EVAL-ADF4001

ADF4001 Evaluation Board

Product Details

This page contains ordering information for the evaluation board used to evaluate the ADF4001 200 MHz Clock Generator PLL.

This evaluation board requires an SDP Controller board for connection to the PC. The SDP controller board connects to the PC via USB 2.0. The evaluation board will connect to the SDP controller board. The evaluation board cannot be connected directly to the PC. The evaluation software running on the PC will communicate through the SDP Controller board, to the evaluation board. The SDP Controller board is a separate list item in the ordering guide below (EVAL-SDP-CS1Z). If you have not previously purchased an SDP Controller board, please do so to ensure a full evaluation setup.

EVAL-ADF4001
ADF4001 Evaluation Board
ADF4002 Evaluation Board ADF4002 Evaluation Board - Top View ADF4002 Evaluation Board - Bottom View

Latest Discussions

Recently Viewed