AD5778R

RECOMMENDED FOR NEW DESIGNS

2-Channel, 300 mA Current Source Output 16-Bit SoftSpan DAC

Viewing:

Overview

  • Per channel programmable output ranges: 300 mA, 200 mA, 100 mA, 50 mA, 25 mA, 12.5 mA, 6.25 mA, and 3.125 mA
  • Flexible 2.85 V to 33 V supply voltage
  • 1 V dropout guaranteed
  • Separate voltage supply per output channel
  • Internal switches to optional negative supply
  • Full 16-bit resolution at all ranges
  • Guaranteed operation –40°C to 125°C
  • Precision (10 ppm/°C maximum) internal reference or external reference input
  • Analog mux monitors, voltages, and currents
  • A/B toggle via SPI or dedicated pin
  • 1.8 V to 5 V SPI
  • 32-lead (5 mm × 5 mm) QFN package

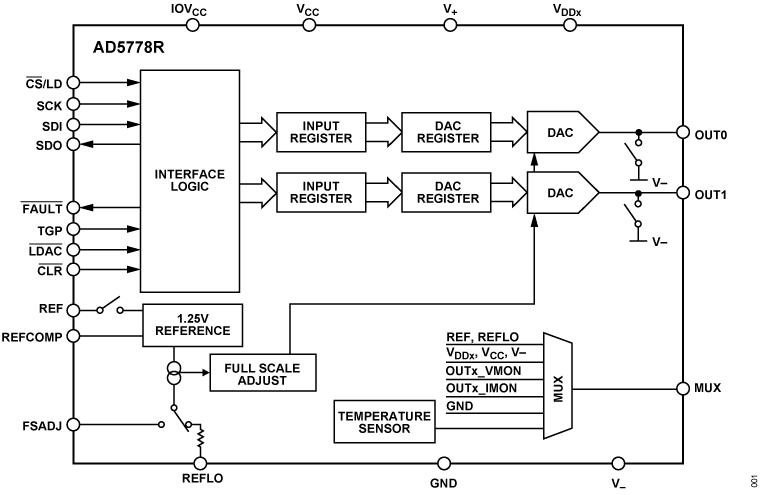
The AD5778R is a 2-channel, 16-bit current source digital-to-analog converter (DAC), providing two high-compliance current source outputs with a guaranteed 1 V dropout at 200 mA. The device supports load voltages of up to 32 V. There are eight current ranges, programmable per channel, with full-scale outputs of up to 300 mA. Additionally, the channels can be paralleled to allow for ultrafine adjustments of large currents or for combined outputs of up to 600 mA.

A dedicated supply pin is provided for every output channel. Each channel can be operated from 2.85 V to 33 V, and internal switches allow any output to be pulled to the optional negative supply.

The AD5778R includes a precision integrated 1.25 V reference (10 ppm/°C maximum), with the option to use an external reference.

The SPI-/Microwire-compatible 3-wire serial interface operates on logic levels as low as 1.71 V at clock rates up to 50 MHz.

APPLICATIONS

  • Tunable lasers
  • Semiconductor optical amplifiers
  • Resistive heaters
  • Current-mode biasing
  • Proportional solenoid drive

AD5778R
2-Channel, 300 mA Current Source Output 16-Bit SoftSpan DAC
AD5778R Functional Block Diagram AD5778R Pin Configuration
Add to myAnalog

Add product to the Products section of myAnalog (to receive notifications), to an existing project or to a new project.

Create New Project
Ask a Question

Documentation

Learn More
Add to myAnalog

Add media to the Resources section of myAnalog, to an existing project or to a new project.

Create New Project

Software Resources

Can't find the software or driver you need?

Request a Driver/Software

Tools & Simulations


Evaluation Kits

eval board
EVAL-LTC2662

Evaluation Board for the LTC2662-16 5-Channel, 300mA Current-Source-Output 16-Bit SoftSpan DACs

Features and Benefits

  • Full featured evaluation board for the LTC2662-16
  • PC control in conjunction with the EVAL-SDP-CK1Z board

Product Details

This user guide explains the operation of the EVAL-LTC2662-ARDZ for the LTC2662 16-bit, 5-channel, current output DAC, enabling quick prototyping and reduced design time. The device features per-channel SoftSpan™ configuration of 3.125mA to 300mA, a separate supply for each output, and an internal switch to allow any output pin to be connected to V−. The LTC2662 operates on 2.8V to 33V VDD supplies and includes a 1.25V internal low noise reference. Refer to the LTC2662 data sheet, which must be consulted in conjunction with this user guide when using the EVAL-LTC2662-ARDZ.

The evaluation board connects to a PC via SDP-K1 board or directly to microcontrollers via a PMOD connection (requiring SDP-K1 disconnection).

eval board
DC2692A-A

LTC2662 Demo Board | 5-Channel, 16-/12-Bit, 300mA, SoftSpan Current Source DACs

Product Details

Demonstration circuit 2692A-A features the LTC2662, 5-channel, 16-bit, 300mA, current source DACs with 10ppm/°C reference in a 5mm × 5mm QFN package. This device features per-channel SoftSpan configuration of 3.125mA to 300mA, a separate supply for each output, and an internal switch to allow any output pin to be connected to V.

Pin-compatible 12-bit versions are available for lower resolution requirements on the DC2692A-B.

EVAL-LTC2662
Evaluation Board for the LTC2662-16 5-Channel, 300mA Current-Source-Output 16-Bit SoftSpan DACs
EVAL-LTC2662 Board Photo Angle View EVAL-LTC2662 Board Photo Top View EVAL-LTC2662 Board Photo Bottom View
DC2692A-A
LTC2662 Demo Board | 5-Channel, 16-/12-Bit, 300mA, SoftSpan Current Source DACs
DC2692A Application Circuit

Latest Discussions

No discussions on AD5778R yet. Have something to say?

Start a Discussion on EngineerZone®

Recently Viewed