概览
设计资源
评估硬件
产品型号带"Z"表示符合RoHS标准。评估此电路需要下列选中的电路板
- EVAL-CFTL-6V-PWRZ ($23.01) Wall Power Supply for Eval Board
- EVAL-CN0272-SDPZ ($135.36) 2 MHz Bandwidth PIN Photodiode Preamp with Dark Current Compensation
- EVAL-SDP-CB1Z ($134.00) Eval Control Board
优势和特点
- 高速光电二极管信号调理电路
- 91dB动态范围,电路功耗仅40 mA
- 暗电流补偿
- 频谱范围从400nm至1050nm
- 非常适合便携式高速应用
领域和技术
所用产品
参考资料
-
CN-0272 Software User Guide2018/10/22WIKI
-
CN-0272:具有暗电流补偿功能的2 MHz带宽PIN光电二极管前置放大器2013/4/10PDF376 kB
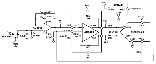
电路功能与优势
图1所示电路是一个高速光电二极管信号调理电路,具有 暗电流补偿功能。系统转换来自高速硅PIN光电二极管的 电流,并驱动20 MSPS模数转换器(ADC)的输入。该器件组 合可提供400 nm至1050 nm的频谱敏感度和49 nA的光电流 敏感度、91 dB的动态范围以及2 MHz的带宽。信号调理电 路采用±5 V电源供电,功耗仅为40 mA,适合便携式高速、 高分辨率光强度应用,如脉搏血氧仪。

本电路还适合其它应用,如模拟光隔离器。它还能满足需 要更高带宽和更低分辨率的应用,如自适应速度控制系 统。
本电路笔记讨论图1中所示电路的优化设计步骤,以满足 特定带宽应用的要求,这些步骤包括:稳定性计算、噪声 分析和器件选择考虑因素。
电路描述
器件选择
光电二极管属于高阻抗传感器,用于检测光的强度。它没有内部增益,但相比其它光检测器,可在更高的光级度下工作。
光电二极管工作时采用零偏置(光伏)模式或反向偏置(光导)模式。光伏模式可获得精确的线性运算,而让二极管工作在光导模式可实现更高的开关速度,但代价是降低线性度。在反向偏置条件下,存在少量的电流(称为暗电流),它们甚至在没有光照度的情况下也会流动。可在运算放大器的同相输入端使用第二个同类光电二极管消除暗电流误差,如图1所示。
有三个因素影响光电二极管的响应时间:
- 处于光电二极管耗尽区域内载波的充电采集时间
- 处于光电二极管未耗尽区域内载波的充电采集时间
- 二极管电路组合的RC时间常数
由于结电容取决于光电二极管的扩散区以及施加的反向偏置,采用扩散区较小的光电二极管并施加较大的反向偏置即可获得更快的上升时间。在CN0272电路笔记中,采用SFH 2701 PIN光电二极管,其结电容典型值为3 pF,0 V偏置下的最大值为5 pF。1 V反向偏置时的典型电容为2 pF,5 V反向偏置时为1.7 pF。本电路的测量均在5 V反向偏置下进行。

图2显示了一个电流电压转换器和一个光电二极管的电气模型,其基本传递函数为:

其中,IPHOTO为光电二极管的输出电流, RF 和CF 的并联组合设置信号带宽。理想情况下,光电二极管的全部输出电流均通过 RF,,但由于所有运算放大器都存在输入偏置电流,导致其输出产生误差。最好能够将运算放大器的输入偏置电流限制在数pA范围内,并且压低输入失调电压,以使误差最小。AD8065 的输入偏置电流仅为2 pA,输入失调电压仅为400 μV。
本电路设计为提供5 V满量程输出,最大光电二极管电流为200μA。由此确定反馈电阻值:

此前置放大器所能实现的稳定带宽是以下参数的函数:RF, 放大器的增益带宽积(65 MHz),以及放大器求和点的总电容CIN对本电路而言,二极管SFH 2701 (OSRAM Opto Semiconductors GmbH)的最大电容值 CD = 5 pF。AD8065 共模输入电容为CM = 2.1 pF, 差模输入电容为CD = 4.5 pF. 因此,总输入电容为CIN = 11.6 pF.
在45°相位裕量f(45)下产生的信号带宽可以表示为:

由于可实现的最大带宽大于所需带宽,AD8065非常适合本应用,这多数要归功于其较大的fCR和CIN之比。
RF和CIN在放大器的环路传递函数中产生一个极点, 它可能会导致峰化和电路不稳定(见图3)). 增加CF 可以在环路的传递函数中创建一个零点,它能补偿上述极点的影响并降低信号带宽。

选定RF,则产生2 MHz带宽的CF值可以表示为:
![]()
通过计算获得45°相位裕量所需的电容值,可确定3.3 pF电容对于稳定系统是否足够。产生f(45)的CF值可以表示为:

由于所需的3.3 pF高于1.1 pF的最小值,而通过增加电容值便可增加相位裕量,因此系统稳定。
噪声分析
选定器件后,必须确定完成信号转换所需的分辨率。如同大多数的噪声分析一样,只需考虑几个关键参数。噪声源以RSS方式叠加;因此,只需考虑至少高于其它噪声源三至四倍的任何单个噪声源即可。
对于光电二极管前置放大器而言,主要的输出噪声源是运算放大器的输入电压噪声和反馈电阻噪声。FET输入运算放大器的输入电流噪声可忽略不计。由于寄生电容具有滤波效果,反向偏置引起的光电二极管散粒噪声可忽略不计。
电阻噪声可根据约翰逊噪声公式计算:

其中:
k 表示玻尔兹曼常数(1.38 × 10-23J/K)。
T 表示绝对温度(单位K)。
系数1.57将近似单极点带宽转换为等效噪声带宽。
注意,前置放大器正输入端的0.1 μF 电容可消除第二个RF 电阻产生的高频噪声,该电阻用于抵消偏置电流的影响。
输出噪声主要源于输入电压噪声和高频噪声增益峰化,峰化现象发生在f1 和fCR之间。若假定整个频率范围内的输出噪声不变,并且使用了交流噪声增益的最大值,则:

其中, VN表示放大器的输入电压噪声(7 nV/√Hz)。
折合到输出的总均方根噪声便是两个器件的RSS值:

前置放大器的总输出动态范围可这样计算:将满量程输出信号(5 V)除以总输出均方根噪声(67 μV rms) ,然后转化为dB,其结果约等于97dB。

ADC选型
由于放大器的噪声输出量(即能够解析出来的最大位数)可通过将满量程输出除以均方根噪声算得:

因此,均方根LSB的数量可转化为有效分辨率:

从有效分辨率中减去2.7位,即可得到无噪声码分辨率

根据最终应用的不同,13位可能远高于实际需要的分辨率。由于目标应用无需这么高的分辨率,可以确定本系统符合12位的设计要求。
如果LSB以电流表示的数值低于暗电流,则如前文所述,可在运算放大器的同相输入端使用第二个同类光电二极管消除暗电流。例如,若要求16位分辨率,则检测到的光电流量为:

由于流经SFH 2701的最大暗电流额定值为5 nA,则在16位设计中就需要暗电流补偿。
本应用采用12位ADC,因此LSB值为49 nA,无需进行暗电流补偿。
若带宽为2 MHz,则合理的设计原则是选择一个10倍或更高采样速率的ADC。这表示,理想的ADC必须具有12位分辨率,采样速率必须达到20 MSPS。
AD9629-20 是一款20 MSPS、12位分辨率的ADC,可作为理想的替代产品使用。但它要求差分输入,并且5 V p-p单端输入必须转换为2 V p-p差分信号。使用AD8475 差分漏斗放大器可轻松满足这一要求。它能简化单端至差分转换,并提供共模电平转换和精密衰减。
AD8475最大输出失调仅为500μV,具有10 nV/μHz的差分输出噪声,以及−112 dB的总谐波失真加噪声(THD + N)性能。
AD8475 AD8475支持最大输出电压为2 V p-p,最高频率为10 MHz,完全符合2 MHz的设计要求。
AD8475 的增益由 AD9629-20的模拟输入范围(2 V p-p)和AD8065的满量程输出(5 V p-p)共同决定。

AD9629-20 通过VCM引脚提供0.9 V的片内共模电压。该引脚以0.9 V共模电压驱动AD8475 的VOCM引脚。
重要的是,必须考虑本系统中AD8475 的噪声贡献。首先,将AD8065 (67 μV rms)的输出噪声乘以AD8475的增益,即可算出AD8065的噪声贡献。

AD8475的输出噪声可这样计算:将输出噪声密度(10nV/μHz)乘以带宽的平方根(通过输出滤波器设置)。

经滤波处理后的AD8475输出噪声=

把AD8475 经滤波后的输出端总噪声可利用两个器件的RSS值计算:

把AD8475的噪声贡献计算在内,便可确定进行解析所需的位数,还能进行总动态范围的计算。

测试结果
使用一个激光二极管驱动D1光电二极管,并产生电流。光电二极管D2用于暗电流补偿,其覆有光学不透明环氧树脂(EPO-TEK® 320)材料,当D1受到激励时,可防止D2产生输出电流。
通过迫使光电二极管驱动一个高于预期的电流,AD8065的近似最大上升和下降时间达到72 ns(见图4)。

通过改变激光二极管的位置,使其不再对光电二极管过驱至超过200μA,便可测得更实用的系统上升和下降时间。
图5显示AD8065的上升和下降测量值分别为282 ns和290 ns。需注意,由于存在足够的相位裕量,在两种测试用例中分别关闭激光二极管后,均不存在振铃。

既然已经测试了系统对亮光脉冲的响应,那么系统对光强高速变化的响应亦可测得。利用Agilent 33250A函数发生器以2 MHz的正弦波驱动激光二极管。图6显示 AD8065 可正确检测较小的光强变化,图7显示 CN0272 评估软件 正确获取AD9629-20 ADC的转换数据,并以图形方式显示的屏幕截图。


有关本电路笔记的完整设计支持包,请参阅 https://www.analog.com/CN0272-DesignSupport。
脉搏血氧仪中的应用
脉搏血氧仪是一种医疗设备,用于连续测量氧饱和血红蛋白(Hgb)的百分比和病人的脉搏数。携氧血红蛋白(氧合血红蛋白)吸收红外光谱区(940 nm)中的光,未携氧的血红蛋白(脱氧血红蛋白)则吸收可见红光(650 nm)。通过计算这两个光强之比,便可得到体内氧气含量的百分比。
在脉搏血氧仪中,两个LED(一个发出红光,另一个发出红外光)受到两个电流源快速并有顺序的激励,并用一个光电二极管检测LED的光强。图1中的电路可与LED吸电流电路同步(如CN-0125),以便捕捉透过组织传递的每个LED发出的光。
常见变化
选用的器件针对噪声和成本优化;但也能用其它组合替换。
其它适用的双电源放大器包括ADA4817-1 和 ADA4637-1。若需采用单电源工作,则建议使用 AD8605 或AD8615 这 些放大器的输入偏置电流都不超过2 pA,输入失调电压不 超过400μV,并且单位增益带宽积超过10 MHz。
对于需要100 MHz及以上带宽的应用(如自适应速度控制),建 议采用下列器件组合:ADA4817-1 FastFET放大器、 ADA4932-1低功耗差分ADC驱动器和 AD9634-210 12位、210 MSPS ADC。
ADA4817-1 具有400 MHz的高增益带宽积和1.4 pF的极低输 入电容。这些特性使得这款放大器成为宽带跨导应用的理 想选择。
ADA4932-1 驱动器能以最高360 MHz的频率保持2 V p-p输 出,这对于 AD9634-210ADC而言足够了。
电路评估与测试
本电路使用 EVAL-CN0272-SDPZ电路板和 EVAL-SDP-CB1Z SDP-B系统演示平台转接板。这两片板具有120引脚的对接 连接器,可以快速完成设置并评估电路性能。 EVAL-CN0272-SDPZ板包含要评估的电路,如本笔记所述。 SDP-B转接板与 CN0272评估软件一起使用,可从 EVAL-CN0272-SDPZ 电路板获取数据。
设备要求
需要以下设备:
- 带USB端口的Windows® XP(32位)、Windows Vista®或 Windows® 7 PC
- EVAL-CN0272-SDPZ 电路板
- EVAL-SDP-CB1Z SDP-B转接板
- CN0272 SDP评估软件
- EVAL-CFTL-6V-PWRZ直流电源或同等6 V/1 A台式电源
- 400 nm至1050 nm光源
开始使用
将CN0272评估软件光盘放进PC的光盘驱动器,加载评估 软件。打开我的电脑 ,找到包含评估软件的驱动器。
功能框图
电路框图见图1,完整的电路原理图见EVAL-CN0272- SDPZ-PADSSchematic-RevC.pdf 文件。此文件位于CN0272设计支持包中。

设置
EVAL-CN0272-SDPZ电路板上的120引脚连接器连接到 EVAL-SDP-CB1Z转接板(SDP-B)上的CON A连接器。使用尼 龙五金配件,通过120引脚连接器两端的孔牢牢固定这两 片板。在断电情况下,将一个6 V电源连接到电路板上的+6 V 和GND引脚。如果有6 V壁式电源适配器,可将其连接到板 上的管式连接器,代替6 V电源。SDP-B板附带的USB电缆连 接到PC上的USB端口。此时请勿将该USB电缆连接到 SDP-B板上的微型USB连接器。
测试
为连接到 EVAL-CN0272-SDPZ电路板的6 V电源(或“壁式电源 适配器”)通电。启动评估软件,并通过USB电缆将PC连接 到SDP-B板上的微型USB连接器。
一旦建立USB通信,就可以使用SDP-B板来发送、接收、 捕捉来自 EVAL-CN0272-SDPZ板的并行数据。
图9显示 EVAL-CN0272-SDPZ 评估板连接SDP板的照片。有 关SDP-B板的信息,请参阅 EVAL-CN0272-SDPZ SDP-B用户指南。
注意,光电二极管D2用于暗电流补偿,其覆有光学不透明 环氧树脂(EPO-TEK 320)材料,当D1受到激励时,可防止D2 产生输出电流。
有关测试设置、校准以及如何使用评估软件来捕捉数据的 详细信息,请参阅 CN-0272软件用户指南。

针对原型开发的连接
EVAL-CN0272-SDPZ 评估板设计用于 EVAL-SDP-CB1Z SDP-B板,但任何微处理器都可与AD9629-20的并行外设接口(PPI)实现对接。为使另一个控制器能与 EVAL-CN0272-SDPZ 评估板一同使用,第三方必须开发相应的软件。
目前已有一些转接板能实现与 Altera 或 Xilinx 现场可编程门 阵列 (FPGAs) 的接口。利用 Nios 驱动器, Altera 的 BeMicro SDK 板能配合 BeMicro SDK/SDP 转接板一同使用。任何集成 FMC 连接器的 Xilinx 评估板均可与 FMC-SDP 转接板一同使 用。

