LTC2927
推荐用于新设计单路电源跟踪控制器
- 产品模型
- 9
概述
- 灵活的电源跟踪
- 跟踪电源电压上升和下降
- 电源排序
- 电源稳定性不受影响
- 低引脚数目
- 可在未采用串联 FET 的情况下控制单路电源
- 可调斜坡速率
- 采用 8 引脚 ThinSOT™ 和 8 引脚 (3mm x 2mm) DFN 封装
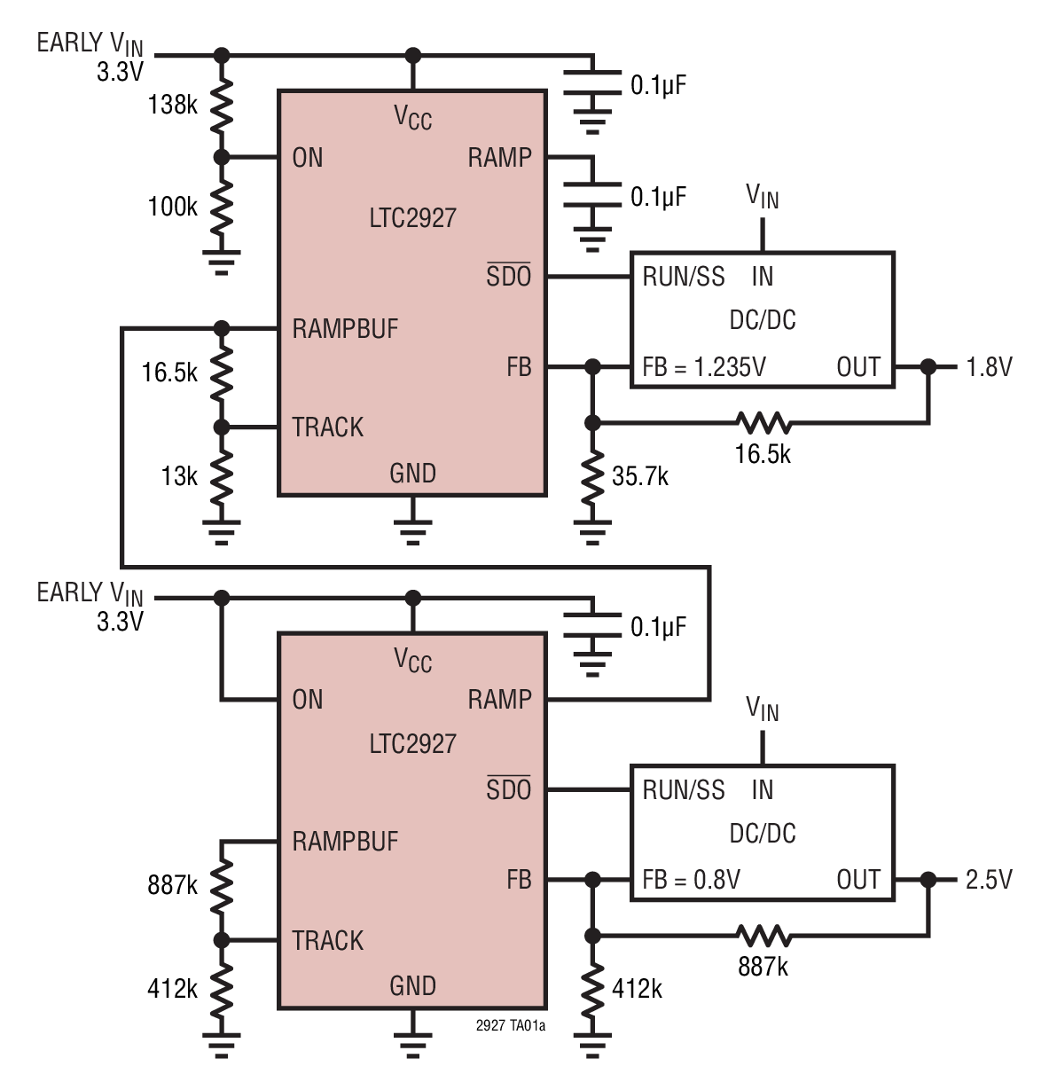
LTC®2927 提供了一款适合电源跟踪和排序要求的简单解决方案。通过选择少量的电阻器,即可把电源配置成以不同的斜坡速率、电压偏移或延时 (相对于其他电源或某个主控信号) 斜坡上升和下降。
通过强制电流流入一个独立电源的某个反馈节点,LTC2927 使得输出跟踪一个斜坡信号,而没有引入任何的传输元件损耗。由于电流是以一种开环方式来控制的,因此 LTC2927 并未影响电源的瞬态响应或稳定性。这种位于负载点的紧凑型解决方案较大限度地缩短了 DC/DC 电路敏感 FB 节点的走线长度。此外,它还将在上电操作结束时呈高阻抗状态,从而有效地将其从 DC/DC 电路移除。
应用
- VCORE 和 VI/O 电源跟踪
- 微处理器、DSP 和 FPGA 电源
- 多电源系统
- 负载点电源
参考资料
数据手册 1
可靠性数据 1
用户手册 1
设计笔记 1
技术文章 2
新闻 1
ADI 始终高度重视提供符合最高质量和可靠性水平的产品。我们通过将质量和可靠性检查纳入产品和工艺设计的各个范围以及制造过程来实现这一目标。出货产品的“零缺陷”始终是我们的目标。查看我们的质量和可靠性计划和认证以了解更多信息。
| 产品型号 | 引脚/封装图-中文版 | 文档 | CAD 符号,脚注和 3D模型 |
|---|---|---|---|
| LTC2927CDDB#TRMPBF | 8-Lead DFN (3mm x 2mm w/ EP) | ||
| LTC2927CDDB#TRPBF | 8-Lead DFN (3mm x 2mm w/ EP) | ||
| LTC2927CTS8#TRM | 8-Lead SOT-23 | ||
| LTC2927CTS8#TRMPBF | 8-Lead SOT-23 | ||
| LTC2927CTS8#TRPBF | 8-Lead SOT-23 | ||
| LTC2927IDDB#TRMPBF | 8-Lead DFN (3mm x 2mm w/ EP) | ||
| LTC2927IDDB#TRPBF | 8-Lead DFN (3mm x 2mm w/ EP) | ||
| LTC2927ITS8#TRMPBF | 8-Lead SOT-23 | ||
| LTC2927ITS8#TRPBF | 8-Lead SOT-23 |
| 产品型号 | 产品生命周期 | PCN |
|---|---|---|
|
6月 12, 2025 - 25_0047 Carsem SnPb Packaging End of Life |
||
| LTC2927CTS8#TRM | ||
|
5月 24, 2021 - 20_0074 Discontinuation of Sn/Pb Plated Lead Finish Parts for S5, S6, TS8 Packages |
||
| LTC2927CTS8#TRM | ||
这是最新版本的数据手册
软件资源
找不到您所需的软件或驱动?
申请驱动/软件硬件生态系统
工具及仿真模型
LTspice
LTspice中提供以下器件型号:
- LTC2927
LTspice®是一款强大高效的免费仿真软件、原理图采集和波形观测器,为改善模拟电路的仿真提供增强功能和模型。
评估套件
最新评论
需要发起讨论吗? 没有关于 LTC2927的相关讨论?是否需要发起讨论?
在EngineerZone®上发起讨论