ADG5208

RECOMMENDED FOR NEW DESIGNS

High Voltage Latch-Up Proof, 4-/8-Channel Multiplexers

Viewing:

Overview

  • Latch-up proof
  • 2.9 pF off source capacitance
  • 17 pF off drain capacitance
  • 0.4 pC charge injection
  • Low on resistance: 160 Ω typical
  • ±9 V to ±22 V dual-supply operation
  • 9 V to 40 V single-supply operation
  • 48 V supply maximum ratings
  • Fully specified at ±15 V, ±20 V, +12 V, and +36 V
  • See data sheet for additional features
ADG5208-EP supports defense and aerospace applications (AQEC standard)
  • Download ADG5208-EP data sheet (pdf)
  • Military temperature range: –55°C to +125°C
  • Controlled manufacturing baseline
  • One assembly and test site
  • One fabrication site
  • Enhanced product change notification
  • Qualification data available on request
  • V62/15601 DSCC Drawing Number

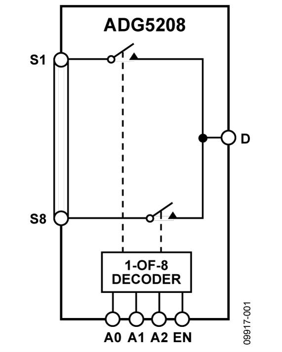
The ADG5208/ADG5209 are monolithic CMOS analog multiplexers comprising eight single channels and four differential channels, respectively. The ADG5208 switches one of eight inputs to a common output, as determined by the 3-bit binary address lines, A0, A1, and A2. The ADG5209 switches one of four differential inputs to a common differential output, as determined by the 2-bit binary address lines, A0 and A1.

An EN input on both devices enables or disables the device. When EN is disabled, all channels switch off. The ultralow capacitance and charge injection of these switches make them ideal solutions for data acquisition and sample-and-hold applications, where low glitch and fast settling are required. Fast switching speed coupled with high signal bandwidth make these devices suitable for video signal switching.

Each switch conducts equally well in both directions when on, and each switch has an input signal range that extends to the power supplies. In the off condition, signal levels up to the supplies are blocked.

The ADG5208/ADG5209 do not have VL pins; instead, the logic power supply is generated internally by an on-chip voltage generator.

Product Highlights

  1. Trench Isolation Guards Against Latch-Up.
    A dielectric trench separates the P and N channel transistors
    to prevent latch-up even under severe overvoltage conditions.
  2. 0.4 pC Charge Injection.
  3. Dual-Supply Operation.
    For applications where the analog signal is bipolar, the 
    ADG5208/ADG5209 can be operated from dual supplies of up to ±22 V.
  4. Single-Supply Operation.
    For applications where the analog signal is unipolar, the
    ADG5208/ADG5209 can be operated from a single rail power supply of up to 40 V.
  5. 3 V Logic-Compatible Digital Inputs.
    VINH = 2.0 V, VINL = 0.8 V.
  6. No VL Logic Power Supply Required.


Applications

      • Automatic test equipment
      • Data acquisition
      • Instrumentation
      • Avionics
      • Audio and video switching
      • Communication systems


ADG5208
High Voltage Latch-Up Proof, 4-/8-Channel Multiplexers
ADG5208 Functional Block Diagram ADG5208 Pin Configuration
Add to myAnalog

Add product to the Products section of myAnalog (to receive notifications), to an existing project or to a new project.

Create New Project
Ask a Question

Documentation

Learn More
Add to myAnalog

Add media to the Resources section of myAnalog, to an existing project or to a new project.

Create New Project

Software Resources

Can't find the software or driver you need?

Request a Driver/Software

Hardware Ecosystem

Parts Product Life Cycle Description
ADG5248F PRODUCTION User Defined Fault Protection and Detection, 0.8 pC QINJ, 8:1 Multiplexer
ADG5208F RECOMMENDED FOR NEW DESIGNS

Fault Protection, −0.4 pC QINJ, 8:1/Dual 4:1 Multiplexers

Modal heading
Add to myAnalog

Add product to the Products section of myAnalog (to receive notifications), to an existing project or to a new project.

Create New Project

Tools & Simulations

LTspice


Models for the following parts are available in LTspice:

  • ADG5208

ADG5208 IBIS Models 2

LTspice

LTspice® is a powerful, fast and free simulation software, schematic capture and waveform viewer with enhancements and models for improving the simulation of analog circuits.


Evaluation Kits

eval board
EVAL-16LFCSP

Evaluation Board for the 16-Lead LFCSP Devices in the Switches and Multiplexers Portfolio

Features and Benefits

  • 16-lead, 4 mm × 4 mm LFCSP evaluation board
  • Easily changeable clamshell socket for the main device
  • Gold pin connectors for the addition of passive components
  • SMB connectors for the input and output of signals
  • Additional space on board for prototyping

Product Details

The EVAL-16LFCSPEBZ enables easy evaluation of the 16-lead lead frame chip scale package (LFCSP) devices in the Switches and Multiplexers Portfolio that are purchased separately. The EVAL-16LFCSPEBZ is supplied with a clamshell socket to secure a 16-lead LFCSP device to the evaluation board without the need for soldering. In addition, there are three sets of gold pin connectors in each trace, for board flexibility and reusability for multiple evaluations.

Figure 1 in the user guide shows the EVAL-16LFCSPEBZ. A 16-lead LFCSP device can be inserted into the socket in the center of the evaluation board. Each device pin has a corresponding three-pin header link, from K1 to K16. This can either be connected to an external signal source by removing the corresponding link or use the link to choose between VDD or GND. A wire screw terminal, J5, supplies the VDD and GND. The Subminiature Version B (SMB) connectors on the EVAL-16LFCSPEBZ allow additional external signals to be supplied to the device. In addition, there is a perfboard space and two 16-lead LFCSP pads (3 mm x 3 mm and 2.1 mm x 2.1 mm) available on top of the EVAL-16LFCSPEBZ for prototyping.

The full specifications of the device under test (DUT) are available in the corresponding product data sheet, which must be consulted with the EVAL-16LFCSPEBZ user guide when using the EVAL-16LFCSPEBZ.

eval board
EVAL-16TSSOP

Evaluation Board for 16 lead TSSOP Devices in the Switch/Mux Portfolio

Features and Benefits

  • 16 lead TSSOP evaluation board
  • Clamp to allow the main device to be changed easily
  • Gold pin connectors to allow the addition of passive components
  • SMB connectors for the input/output of signals
  • Additional space on board to allow for prototyping

Product Details

The EVAL-16TSSOPEBZ evaluation board evaluates 16-lead TSSOP devices in the Switches and Multiplexers Portfolio that are purchased separately. A clamp is supplied with the EVAL-16TSSOPEBZ to secure a 16-lead TSSOP device to the evaluation board without the need for soldering, making the board reusable for multiple devices.

A 16-lead TSSOP device can be clamped or soldered to the center of the evaluation board. Each pin of the device has a corresponding link from K1 to K16 that can be set to either VDD or GND. A wire screw terminal supplies VDD and GND. SMB connectors on the board allow additional external signals to be supplied to the device. In addition, there is space available at the top of the board for prototyping.

Full specifications of the device under test (DUT) are available in the corresponding product data sheet, which should be consulted in conjunction with this user guide when using the evaluation board.

EVAL-16LFCSP
Evaluation Board for the 16-Lead LFCSP Devices in the Switches and Multiplexers Portfolio
EVAL-16LFCSPEBZ Evaluation Board EVAL-16LFCSPEBZ Evaluation Board - Top View EVAL-16LFCSPEBZ Evaluation Board - Bottom View
EVAL-16TSSOP
Evaluation Board for 16 lead TSSOP Devices in the Switch/Mux Portfolio
EVAL-16TSSOPEBZ Image

Reference Designs

Multichannel Data Acquisition Circuit
CN0269 Circuits from the lab

18-Bit, 1.33 MSPS, 16-Channel Data Acquisition System

Features and Benefits

  • 18-Bit, 16-Channel Data Acquisition
  • 16 single-ended, 8 differential inputs
  • 1.33MSPS sampling rate
  • 250kHz channel switching rate
CN0269
18-Bit, 1.33 MSPS, 16-Channel Data Acquisition System
Multichannel Data Acquisition Circuit

Latest Discussions

Recently Viewed