ADF4151

RECOMMENDED FOR NEW DESIGNS

Fractional-N/Integer-N PLL Synthesizer

Viewing:

Overview

  • Fractional-N synthesizer and integer-N synthesizer
  • RF bandwidth to 3.5 GHz
  • 3.0 V to 3.6 V power supply
  • 1.8 V logic compatibility
  • Separate charge pump supply (VP) allows extended tuning voltage (up to 5.5 V) in 3 V systems
  • Programmable dual-modulus prescaler of 4/5 or 8/9
  • Programmable RF output phase
  • 3-wire serial interface
  • Analog and digital lock detect
  • Switched bandwidth fast lock mode
  • Cycle slip reduction

The ADF4151 allows implementation of fractional-N or integer-N phase-locked loop (PLL) frequency synthesizers if used with an external voltage controlled oscillator (VCO), loop filter, and external reference frequency.

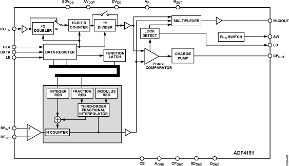
The ADF4151 is used with external VCO parts and is footprint and software compatible with the ADF4350. The part consists of a low noise digital phase frequency detector (PFD), a precision charge pump, and a programmable reference divider. There is a Σ-Δ based fractional interpolator to allow programmable fractional-N division. The INT, FRAC, and MOD registers define an overall N divider [N = (INT + (FRAC/MOD))]. The RF output phase is programmable for applications that require a particular phase relationship between the output and the reference. The ADF4151 also features cycle slip reduction circuitry, leading to faster lock times without the need for modifications to the loop filter.

Control of all the on-chip registers is through a simple 3-wire interface. The device operates with a power supply ranging from 3.0 V to 3.6 V that can be powered down when not in use.

The ADF4151 is available in a 5 mm × 5 mm package.

Applications

  • Wireless infrastructure (W-CDMA, TD-SCDMA, WiMax,
    GSM, PCS, DCS, DECT)
  • Test equipment
  • Wireless LANs, CATV equipment
  • Clock generation

ADF4151
Fractional-N/Integer-N PLL Synthesizer
ADF4151 Functional Block Diagram ADF4151 Pin Configuration
Add to myAnalog

Add product to the Products section of myAnalog (to receive notifications), to an existing project or to a new project.

Create New Project
Ask a Question

Documentation

Learn More
Add to myAnalog

Add media to the Resources section of myAnalog, to an existing project or to a new project.

Create New Project

Software Resources

Can't find the software or driver you need?

Request a Driver/Software

Hardware Ecosystem

Parts Product Life Cycle Description
LDO Linear Regulators 3
ADP3334 NOT RECOMMENDED FOR NEW DESIGNS High Accuracy Low IQ, 500 mA anyCAP­® Adjustable Low Dropout Regulator
ADP150 PRODUCTION Ultralow Noise, 150 mA CMOS Linear Regulator
ADP151 PRODUCTION Ultralow Noise, 200 mA, CMOS Linear Regulator
Operational Amplifiers (Op Amps) 1
OP184 PRODUCTION Single-Supply Rail-to-Rail Input/Output Operational Amplifier
RF Mixers 2
ADL5801 RECOMMENDED FOR NEW DESIGNS High IP3, 10 MHz TO 6 GHz, Active Mixer
ADL5802 RECOMMENDED FOR NEW DESIGNS Dual Channel High IP3 100 MHz TO 6 GHz Active Mixer
Switching Regulators & Controllers 1
ADP1613 PRODUCTION 650 kHz /1.3 MHz Step-Up PWM DC-to-DC Switching Converter with 2.0 A Current Limit
Modal heading
Add to myAnalog

Add product to the Products section of myAnalog (to receive notifications), to an existing project or to a new project.

Create New Project

Tools & Simulations

ADIsimRF

ADIsimRF is an easy-to-use RF signal chain calculator. Cascaded gain, noise, distortion and power consumption can be calculated, plotted and exported for signal chains with up to 50 stages. ADIsimRF also includes an extensive data base of device models for ADI’s RF and mixed signal components.

Open Tool

ADIsimPLL™

ADIsimPLL enables the rapid and reliable evaluation of new high performance PLL products from ADI. It is the most comprehensive PLL Synthesizer design and simulation tool available today. Simulations performed include all key non-linear effects that are significant in affecting PLL performance. ADIsimPLL removes at least one iteration from the design process, thereby speeding the design- to-market.

Open Tool

Evaluation Kits

eval board
EVAL-ADF4151

ADF4151 Evaluation Board

Product Details

This page contains ordering information for the evaluation board used to evaluate the ADF4151 Fractional-N/Integer-N PLL Synthesizer.

EVAL-ADF4151
ADF4151 Evaluation Board
ADF4151 Evaluation Board ADF4151 Evaluation Board - Top View ADF4151 Evaluation Board - Bottom View

Latest Discussions

Recently Viewed