Quantic X-Microwave

ADI RF和微波元件作为Quantic X-Microwave的插入式X-MWblocks®提供。

获取此器件的X-MWblock®插入式模块。

HMC465LP5

量产

宽带驱动放大器,采用SMT封装,DC - 20 GHz

产品技术资料帮助

ADI公司所提供的资料均视为准确、可靠。但本公司不为用户在应用过程中侵犯任何专利权或第三方权利承担任何责任。技术指标的修改不再另行通知。本公司既没有含蓄的允许,也不允许借用ADI公司的专利或专利权的名义。本文出现的商标和注册商标所有权分别属于相应的公司。

Viewing:

概述

  • 增益: 15 dB
  • 输出电压至10 Vp-p
  • 饱和输出功率: +24 dBm
  • 电源电压: +8V (160 mA)
  • 50 Ω匹配输入/输出
  • 32引脚5x5mm SMT封装: 25mm2

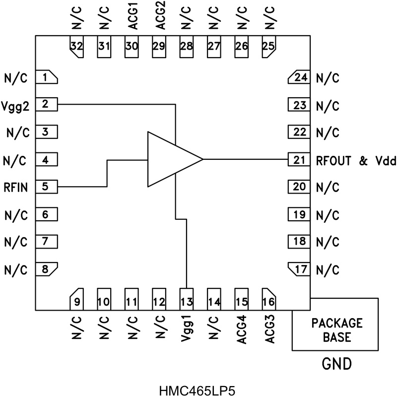
HMC465LP5(E)是一款GaAs MMIC PHEMT分布式驱动放大器,采用5x5 mm无引脚表贴封装,在DC到20 GHz的频率范围内工作。 该放大器提供15 dB增益、3 dB噪声系数,饱和输出功率为+25 dBm,采用+8V电源时功耗仅为160 mA。 它具有0.5 dB的出色增益平坦度,在DC至10 GHz的频率范围内与线性相位的偏差为± 4 度,这些特性使得HMC465LP5(E)非常适合OC192光纤LN/MZ调制器驱动放大器以及测试设备应用。 HMC465LP5(E)放大器I/O内部匹配50 Ω。

应用

  • OC192 LN/MZ调制器驱动器
  • 微波无线电和VSAT
  • 测试仪器仪表
  • 军用EW、ECM和C³I


此产品有一个更新版本

ADL8100 推荐用于新设计

GaAs、pHEMT、MMIC、低噪声放大器,0.01 GHz至20 GHz

HMC465LP5

宽带驱动放大器,采用SMT封装,DC - 20 GHz

HMC465LP5_fbl
添加至 myAnalog

将产品添加到myAnalog 的现有项目或新项目中(接收通知)。

创建新项目
提问

参考资料

了解更多
添加至 myAnalog

Add media to the Resources section of myAnalog, to an existing project or to a new project.

创建新项目

软件资源

找不到您所需的软件或驱动?

申请驱动/软件

硬件生态系统

部分模型 产品周期 描述
ADL8100 推荐用于新设计 GaAs、pHEMT、MMIC、低噪声放大器,0.01 GHz至20 GHz
Modal heading
添加至 myAnalog

将产品添加到myAnalog 的现有项目或新项目中(接收通知)。

创建新项目

工具及仿真模型

ADIsimRF

ADIsimRF是一款简单易用的RF信号链计算工具。可以计算和导出多达50级的信号链级联增益、噪声、失真和功耗并绘制其曲线。ADIsimRF还包括丰富的ADI射频和混合信号元件的器件模型数据库。

打开工具

Sys-Parameter Models for Keysight Genesys

Sys-Parameter models contain behavioral parameters, such as P1dB, IP3, gain, noise figure and return loss, which describe nonlinear and linear characteristics of a device.

打开工具

S-参数 1


评估套件

EVAL-HMC465LP5
HMC465LP5 评估板

最新评论

需要发起讨论吗? 没有关于 HMC465LP5的相关讨论?是否需要发起讨论?

在EngineerZone®上发起讨论

近期浏览