ADP8861

量产

电荷泵、7通道智能LED驱动器,采用I2C 接口

产品技术资料帮助

ADI公司所提供的资料均视为准确、可靠。但本公司不为用户在应用过程中侵犯任何专利权或第三方权利承担任何责任。技术指标的修改不再另行通知。本公司既没有含蓄的允许,也不允许借用ADI公司的专利或专利权的名义。本文出现的商标和注册商标所有权分别属于相应的公司。

Viewing:

概述

  • 电荷泵提供1x、1.5x和2x自动增益选择,以实现高效率
  • 7个独立、可编程LED驱动器:7个驱动器能提供30 mA(典型值)驱动电流;1个驱动器还能提供60 mA(典型值)驱动电流
  • 可编程最大电流限制(128级)
  • 待机模式功耗低于1 μA
  • 16种可编程渐亮/渐暗时间:0.1 s至5.5 s;选择范围包括线性速率、平方速率或立方速率
  • 渐变override功能
  • 所有编程均通过I2C兼容接口进行
  • 专用复位引脚和内置上电复位(POR)
  • 短路、过压和过温保护
  • 内部软启动限制浪涌电流
  • 故障或关断期间提供输入至输出隔离
  • 工作电压低至VIN = 2.5 V 欠压闭锁(UVLO)设置在VIN = 2.0 V
  • 小型引脚架构芯片级封装(LFCSP)

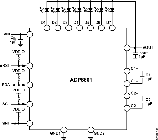
ADP8861提供一个强大的电荷泵驱动器,可以独立控制多达7个LED。其中的6个LED可独立驱动至30 mA(典型值),第七个LED则可驱动至60 mA(典型值)。所有LED的电流和渐亮/渐暗时间,均可以通过I2C® 接口编程。这些LED也可以合并为若干组,以减少渐亮/渐暗期间的处理器指令。 整个配置由一个双电容电荷泵驱动,其增益为1×、1.5×和2×。这种配置采用2.5 V至5.5 V电源供电,能够驱动最高240 mA的输出电流。该器件具备完整的安全特性,包括短路保护、过压保护和过温保护,因而很容易实现安全、稳定的设计。此外,输入浪涌电流会受到集成式软启动及其受控输入至输出隔离的限制。 ADP8861采用紧凑型引脚架构芯片级(LFCSP)封装。

ADP8861
电荷泵、7通道智能LED驱动器,采用I2C 接口
ADP8861-FBL ADP8861 Pin Configuration ADP8861 Pin Configuration
添加至 myAnalog

将产品添加到myAnalog 的现有项目或新项目中(接收通知)。

创建新项目
提问

参考资料

了解更多
添加至 myAnalog

Add media to the Resources section of myAnalog, to an existing project or to a new project.

创建新项目

软件资源

找不到您所需的软件或驱动?

申请驱动/软件

评估套件

eval board
ADP8861SHIELD-EVALZ

评估采用I2C接口的电荷泵、7通道智能LED驱动器ADP8861

特性和优点

  • 兼容Arduino
  • 背光阵列
  • 键盘背光阵列
  • 专用复位按钮
  • 用于I2C通信的专用接头

产品详情

ADP8860SHIELD-EVALZ 和ADP8861SHIELD-EVALZ集成了发光二极管(LED),可快速、轻松地评估ADP8860和ADP8861。请注意,仅ADP8860SHIELD-EVALZ集成了双通道光强度传感器。ADP8860SHIELD-EVALZ和ADP8861SHIELD-EVALZ采用普通Arduino®屏蔽板的外形尺寸,以便兼容使用相同接口的微控制器板。这些评估板还包含专用于I2C通信的独立接头。

ADP8860和ADP8861均为7通道LED驱动器,利用具有可选增益的电荷泵以实现最大效率。由任一器件驱动的LED的最大电流和渐亮/渐暗时间,均可以通过I2C接口编程。仅ADP8860具有可编程光强度阈值,可通过器件的I2C接口进行设置。每个通道可以处理高达30 mA(典型值)的电流,可处理60 mA(典型值)的第七通道除外。每个通道可以统一具有相同的渐亮和渐暗时间,或每个通道可以具有单独的渐亮和渐暗时间以提高灵活性。

有关ADP8860和ADP8861的完整详情,请参见ADP8860和ADP8861数据手册,使用这些评估板时应同时参考用户指南与数据手册。

ADP8861SHIELD-EVALZ
评估采用I2C接口的电荷泵、7通道智能LED驱动器ADP8861
ADP8861SHIELD Evaluation Board - Angle View ADP8861SHIELD Evaluation Board - Top View ADP8861SHIELD Evaluation Board - Bottom View

最新评论

需要发起讨论吗? 没有关于 ADP8861的相关讨论?是否需要发起讨论?

在EngineerZone®上发起讨论

近期浏览