ADP221

量产

双通道、200 mA、低噪声、高PSRR电压调节器

产品技术资料帮助

ADI公司所提供的资料均视为准确、可靠。但本公司不为用户在应用过程中侵犯任何专利权或第三方权利承担任何责任。技术指标的修改不再另行通知。本公司既没有含蓄的允许,也不允许借用ADI公司的专利或专利权的名义。本文出现的商标和注册商标所有权分别属于相应的公司。

Viewing:

概述

  • 输入电压范围:2.5 V至5.5 V
  • 初始精度:±1%
  • 两个独立的200 mA低压差电压调节器
  • 利用1 μF陶瓷输出电容便可稳定工作
  • 无需噪声旁路电容
  • 两个独立的逻辑控制使能引脚
  • 欲了解更多特性,请参考数据手册。

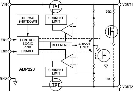
ADP221为200 mA、双路输出电压调节器,集高电源抑制比(PSRR)、低噪声、低静态电流和低压差于一体,非常适合对性能和电路板空间要求严苛的无线应用。   

ADP221的低静态电流、低压差和宽输入电压范围可延长便携式设备的电池续航时间。在工作频率高达100 kHz时,这些器件能保持60 dB以上的电源抑制性能,而所需的电压裕量则很低。与LDO竞争产品相比,ADP220的噪声低得多,而且不需要噪声旁路电容。ADP221还内置一个有源下拉电阻,用来对输出负载快速放电。

ADP221在0.8 V至3.3 V范围内提供许多输出电压组合,并提供过流和热保护,防止器件在不利条件下受损。

应用

  • 移动电话
  • 数码相机和音频设备
  • 便携式和电池供电设备
  • 便携式医疗设备
  • 后置DC-DC调节
  • ADP221
    双通道、200 mA、低噪声、高PSRR电压调节器
    ADP220/ADP221 Typical Application Diagram ADP220/ADP221 Functional Block Diagram ADP220/ADP221 Outline Dimensions ADP220/ADP221 Pin Configuration
    添加至 myAnalog

    将产品添加到myAnalog 的现有项目或新项目中(接收通知)。

    创建新项目
    提问

    参考资料

    了解更多
    添加至 myAnalog

    Add media to the Resources section of myAnalog, to an existing project or to a new project.

    创建新项目

    软件资源

    找不到您所需的软件或驱动?

    申请驱动/软件

    评估套件

    EVAL-ADP221

    ADP221 Evaluation Board

    产品详情

    These evaluation boards are used to demonstrate the functionality of the ADP221 linear regulators.

    Simple device measurements such as line and load regulation, dropout, and ground current can be demonstrated with just a single voltage supply, a voltmeter, a current meter, and load resistors.

    EVAL-ADP221
    ADP221 Evaluation Board

    最新评论

    需要发起讨论吗? 没有关于 ADP221的相关讨论?是否需要发起讨论?

    在EngineerZone®上发起讨论

    近期浏览