ADUC7023
Precision Analog Microcontroller, 12-Bit Analog I/O, ARM7TDMI MCU with Enhanced IRQ Handler
Show More
Not the part you were looking for?
Ask a Question
Submit your question below and we will return the best answer from ADI’s knowledge database:
Other places you can find help
Support
Analog Devices Support Portal is a one-stop shop to answer all your ADI questions.
Visit the ADI Support PageFeatures
- Analog I/O
- Multichannel, 12-bit, 1 MSPS ADC
- Up to 12 ADC channels
- Fully differential and single-ended modes
- 0 V to VREF analog input range
- 12-bit voltage output DACs
- 4 DAC outputs available
- On-chip voltage reference
- On-chip temperature sensor
- Voltage comparator
- Microcontroller
- ARM7TDMI core, 16-bit/32-bit RISC architecture
- JTAG port supports code download and debug
- Clocking options
- Trimmed on-chip oscillator (±3%)
- External watch crystal
- External clock source up to 44 MHz
- 41.78 MHz PLL with programmable divider
- Memory
- 62 kB Flash/EE memory, 8 kB SRAM
- In-circuit download, JTAG-based debug
- Software-triggered in-circuit reprogrammability
- Vectored interrupt controller for FIQ and IRQ
- 8 priority levels for each interrupt type
- Interrupt on edge or level external pin inputs
- On-chip peripherals
- 2× fully I2C-compatible channels
- SPI (20 Mbps in master mode, 10 Mbps in slave mode)
- With 4-byte FIFO on input and output stages
- Up to 20 GPIO pins - Digital only GPIOs are 5 V tolerant
- 3× general-purpose timers
- Watchdog timer (WDT)
- Programmable logic array (PLA)
- 16 PLA elements
- 16-bit, 5-channel PWM
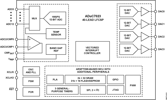
The ADuC7023 is a fully integrated, 1 MSPS, 12-bit data acquisition system, incorporating high performance multichannel ADCs, 16-bit/32-bit MCUs, and Flash/EE memory on a single chip.
The ADC consists of up to 12 single-ended inputs. An additional four inputs are available but are multiplexed with the four DAC output pins. The ADC can operate in single-ended or differential input modes. The ADC input voltage is 0 V to VREF. A low drift band gap reference, temperature sensor, and voltage comparator complete the ADC peripheral set.
The DAC output range is programmable to one of two voltage ranges. The DAC outputs have an enhanced feature of being able to retain their output voltage during a watchdog or software reset sequence.
The devices operate from an on-chip oscillator and a PLL, generating an internal high frequency clock of 41.78 MHz. This clock is routed through a programmable clock divider from which the MCU core clock operating frequency is generated. The microcontroller core is an ARM7TDMI®, 16-bit/32-bit RISC machine that offers up to 41 MIPS peak performance. Eight kilobytes of SRAM and 62 kilobytes of nonvolatile Flash/EE memory are provided on chip. The ARM7TDMI core views all memory and registers as a single linear array.
The ADuC7023 contains an advanced interrupt controller. The vectored interrupt controller (VIC) allows every interrupt to be assigned a priority level. It also supports nested interrupts to a maximum level of eight per IRQ and FIQ. When IRQ and FIQ interrupt sources are combined, a total of 16 nested interrupt levels are supported.
On-chip factory firmware supports in-circuit download via the I2C serial interface port, and non-intrusive emulation is supported via the JTAG interface. These features are incorporated into a low cost QuickStart™ development system supporting this MicroConverter® family. The part contains a 16-bit PWM with five output signals.
For communication purposes, the part contains 2 × I2C channels that can be individually configured for master or slave mode. An SPI interface supporting both master and slave modes is also provided.
The parts operate from 2.7 V to 3.6 V and are specified over an industrial temperature range of −40°C to +125°C. The ADuC7023 is available in either a 32-lead or 40-lead LFCSP package. A 36-ball wafer level CSP package (WLCSP) is also available.
Applications
- Optical networking
- Industrial control and automation systems
- Smart sensors, precision instrumentation
- Base station systems
Ask a Question
Submit your question below and we will return the best answer from ADI’s knowledge database:
Other places you can find help
Support
Analog Devices Support Portal is a one-stop shop to answer all your ADI questions.
Visit the ADI Support Page{{modalTitle}}
{{modalDescription}}
{{dropdownTitle}}
- {{defaultSelectedText}} {{#each projectNames}}
- {{name}} {{/each}} {{#if newProjectText}}
-
{{newProjectText}}
{{/if}}
{{newProjectTitle}}
{{projectNameErrorText}}
ADUC7023
Documentation
Filters
1 Applied
Data Sheet
1
ADuC7023: Precision Analog Microcontroller, 12-Bit Analog I/O, ARM7TDMI MCU with Enhanced IRQ Handler Data Sheet (Rev.H)
Technical Articles
5
URL
URL
URL
URL
Informational
2
HTML
HTML
User Guide
2
486 kB
Application Note
2
Documentation
Data Sheet 1
User Guide 1
Application Note 1
Technical Articles 5
Informational 1
Rarely Asked Question Page 1
ADI has always placed the highest emphasis on delivering products that meet the maximum levels of quality and reliability. We achieve this by incorporating quality and reliability checks in every scope of product and process design, and in the manufacturing process as well. "Zero defects" for shipped products is always our goal. View our quality and reliability program and certifications for more information.
| Part Model | Pin/Package Drawing | Documentation | CAD Symbols, Footprints, and 3D Models |
|---|---|---|---|
| ADUC7023BCBZ62I-R7 |
36-Ball WLCSP (3.4mm x 3.4mm)
|
|
|
| ADUC7023BCP6Z62I |
40-Lead LFCSP (6mm x 6mm w/ EP)
|
|
|
| ADUC7023BCP6Z62IR7 |
40-Lead LFCSP (6mm x 6mm w/ EP)
|
|
|
| ADUC7023BCP6Z62IRL |
40-Lead LFCSP (6mm x 6mm w/ EP)
|
|
|
| ADUC7023BCPZ62I |
32-Lead LFCSP (5mm x 5mm x 0.85mm w/ EP)
|
|
|
| ADUC7023BCPZ62I-R7 |
32-Lead LFCSP (5mm x 5mm x 0.85mm w/ EP)
|
|
|
| ADUC7023BCPZ62I-RL |
32-Lead LFCSP (5mm x 5mm x 0.85mm w/ EP)
|
|
- ADUC7023BCBZ62I-R7
- Pin/Package Drawing
-
36-Ball WLCSP (3.4mm x 3.4mm)
- Documentation
-
HTML
Material Declaration
-
HTML
Reliablity Data
- CAD Symbols, Footprints, and 3D Models
-
Ultra Librarian
-
SamacSys
- ADUC7023BCP6Z62I
- Pin/Package Drawing
-
40-Lead LFCSP (6mm x 6mm w/ EP)
- Documentation
-
HTML
Material Declaration
-
HTML
Reliablity Data
- CAD Symbols, Footprints, and 3D Models
-
Ultra Librarian
-
SamacSys
- ADUC7023BCP6Z62IR7
- Pin/Package Drawing
-
40-Lead LFCSP (6mm x 6mm w/ EP)
- Documentation
-
HTML
Material Declaration
-
HTML
Reliablity Data
- CAD Symbols, Footprints, and 3D Models
-
Ultra Librarian
-
SamacSys
- ADUC7023BCP6Z62IRL
- Pin/Package Drawing
-
40-Lead LFCSP (6mm x 6mm w/ EP)
- Documentation
-
HTML
Material Declaration
-
HTML
Reliablity Data
- CAD Symbols, Footprints, and 3D Models
-
Ultra Librarian
-
SamacSys
- ADUC7023BCPZ62I
- Pin/Package Drawing
-
32-Lead LFCSP (5mm x 5mm x 0.85mm w/ EP)
- Documentation
-
HTML
Material Declaration
-
HTML
Reliablity Data
- CAD Symbols, Footprints, and 3D Models
-
Ultra Librarian
-
SamacSys
- ADUC7023BCPZ62I-R7
- Pin/Package Drawing
-
32-Lead LFCSP (5mm x 5mm x 0.85mm w/ EP)
- Documentation
-
HTML
Material Declaration
-
HTML
Reliablity Data
- CAD Symbols, Footprints, and 3D Models
-
Ultra Librarian
-
SamacSys
- ADUC7023BCPZ62I-RL
- Pin/Package Drawing
-
32-Lead LFCSP (5mm x 5mm x 0.85mm w/ EP)
- Documentation
-
HTML
Material Declaration
-
HTML
Reliablity Data
- CAD Symbols, Footprints, and 3D Models
-
Ultra Librarian
-
SamacSys
Filter by Model
Part Models
Product Lifecycle
PCN
Oct 19, 2018
- 16_0131
ADuC7023 Kernel Change
ADUC7023BCBZ62I-R7
PRODUCTION
ADUC7023BCP6Z62I
PRODUCTION
ADUC7023BCP6Z62IR7
PRODUCTION
ADUC7023BCP6Z62IRL
PRODUCTION
ADUC7023BCPZ62I
PRODUCTION
ADUC7023BCPZ62I-R7
PRODUCTION
ADUC7023BCPZ62I-RL
PRODUCTION
Jul 7, 2014
- 14_0163
Data Sheet & Silicon Anomaly Sheet updates for ADuC7023, ADuC7121, ADuC7122, ADuC7124/6, ADuC7060/61, ADuCM360/1, ADuCM350 product
ADUC7023BCBZ62I-R7
PRODUCTION
ADUC7023BCP6Z62I
PRODUCTION
ADUC7023BCP6Z62IR7
PRODUCTION
ADUC7023BCP6Z62IRL
PRODUCTION
ADUC7023BCPZ62I
PRODUCTION
ADUC7023BCPZ62I-R7
PRODUCTION
ADUC7023BCPZ62I-RL
PRODUCTION
Jul 18, 2022
- 21_0271
Qualification of an Alternate Adhesive Material and Molding Compound for Select LFCSP Packages
ADUC7023BCP6Z62I
PRODUCTION
ADUC7023BCP6Z62IR7
PRODUCTION
ADUC7023BCP6Z62IRL
PRODUCTION
ADUC7023BCPZ62I
PRODUCTION
ADUC7023BCPZ62I-R7
PRODUCTION
ADUC7023BCPZ62I-RL
PRODUCTION
Aug 1, 2016
- 16_0035
Assembly Relocation of Select LFCSP, Mini-LFCSP and LFCSP Side Solderable Products to STATS ChipPAC China Jiangyin
ADUC7023BCP6Z62I
PRODUCTION
ADUC7023BCP6Z62IR7
PRODUCTION
ADUC7023BCP6Z62IRL
PRODUCTION
ADUC7023BCPZ62I
PRODUCTION
ADUC7023BCPZ62I-R7
PRODUCTION
ADUC7023BCPZ62I-RL
PRODUCTION
May 23, 2014
- 13_0233
Assembly Transfer of Select 6x6 and 7x7mm LFCSP Products to STATS ChipPAC China.
ADUC7023BCP6Z62I
PRODUCTION
ADUC7023BCP6Z62IR7
PRODUCTION
ADUC7023BCP6Z62IRL
PRODUCTION
Jun 28, 2013
- 13_0135
Clarification of Absolute Maximum Ratings of GPIO/Analog pins for ADuC7023 product
ADUC7023BCP6Z62I
PRODUCTION
ADUC7023BCP6Z62IR7
PRODUCTION
ADUC7023BCP6Z62IRL
PRODUCTION
ADUC7023BCPZ62I
PRODUCTION
ADUC7023BCPZ62I-R7
PRODUCTION
ADUC7023BCPZ62I-RL
PRODUCTION
Nov 10, 2022
- 22_0277
Qualification of an Alternate Adhesive Material and Molding Compound for Select LFCSP Packages
ADUC7023BCPZ62I
PRODUCTION
ADUC7023BCPZ62I-R7
PRODUCTION
ADUC7023BCPZ62I-RL
PRODUCTION
May 11, 2014
- 13_0231
Assembly Transfer of Select 4x4 and 5x5mm LFCSP Products to STATS ChipPAC China.
ADUC7023BCPZ62I
PRODUCTION
ADUC7023BCPZ62I-R7
PRODUCTION
ADUC7023BCPZ62I-RL
PRODUCTION
Filter by Model
Part Models
Product Lifecycle
PCN
Oct 19, 2018
- 16_0131
ADuC7023 Kernel Change
ADUC7023BCBZ62I-R7
PRODUCTION
ADUC7023BCP6Z62I
PRODUCTION
ADUC7023BCP6Z62IR7
PRODUCTION
ADUC7023BCP6Z62IRL
PRODUCTION
ADUC7023BCPZ62I
PRODUCTION
ADUC7023BCPZ62I-R7
PRODUCTION
ADUC7023BCPZ62I-RL
PRODUCTION
Jul 7, 2014
- 14_0163
Data Sheet & Silicon Anomaly Sheet updates for ADuC7023, ADuC7121, ADuC7122, ADuC7124/6, ADuC7060/61, ADuCM360/1, ADuCM350 product
ADUC7023BCBZ62I-R7
PRODUCTION
ADUC7023BCP6Z62I
PRODUCTION
ADUC7023BCP6Z62IR7
PRODUCTION
ADUC7023BCP6Z62IRL
PRODUCTION
ADUC7023BCPZ62I
PRODUCTION
ADUC7023BCPZ62I-R7
PRODUCTION
ADUC7023BCPZ62I-RL
PRODUCTION
Jul 18, 2022
- 21_0271
Qualification of an Alternate Adhesive Material and Molding Compound for Select LFCSP Packages
ADUC7023BCP6Z62I
PRODUCTION
ADUC7023BCP6Z62IR7
PRODUCTION
ADUC7023BCP6Z62IRL
PRODUCTION
ADUC7023BCPZ62I
PRODUCTION
ADUC7023BCPZ62I-R7
PRODUCTION
ADUC7023BCPZ62I-RL
PRODUCTION
Aug 1, 2016
- 16_0035
Assembly Relocation of Select LFCSP, Mini-LFCSP and LFCSP Side Solderable Products to STATS ChipPAC China Jiangyin
ADUC7023BCP6Z62I
PRODUCTION
ADUC7023BCP6Z62IR7
PRODUCTION
ADUC7023BCP6Z62IRL
PRODUCTION
ADUC7023BCPZ62I
PRODUCTION
ADUC7023BCPZ62I-R7
PRODUCTION
ADUC7023BCPZ62I-RL
PRODUCTION
May 23, 2014
- 13_0233
Assembly Transfer of Select 6x6 and 7x7mm LFCSP Products to STATS ChipPAC China.
ADUC7023BCP6Z62I
PRODUCTION
ADUC7023BCP6Z62IR7
PRODUCTION
ADUC7023BCP6Z62IRL
PRODUCTION
Jun 28, 2013
- 13_0135
Clarification of Absolute Maximum Ratings of GPIO/Analog pins for ADuC7023 product
ADUC7023BCP6Z62I
PRODUCTION
ADUC7023BCP6Z62IR7
PRODUCTION
ADUC7023BCP6Z62IRL
PRODUCTION
ADUC7023BCPZ62I
PRODUCTION
ADUC7023BCPZ62I-R7
PRODUCTION
ADUC7023BCPZ62I-RL
PRODUCTION
Nov 10, 2022
- 22_0277
Qualification of an Alternate Adhesive Material and Molding Compound for Select LFCSP Packages
ADUC7023BCPZ62I
PRODUCTION
ADUC7023BCPZ62I-R7
PRODUCTION
ADUC7023BCPZ62I-RL
PRODUCTION
May 11, 2014
- 13_0231
Assembly Transfer of Select 4x4 and 5x5mm LFCSP Products to STATS ChipPAC China.
ADUC7023BCPZ62I
PRODUCTION
ADUC7023BCPZ62I-R7
PRODUCTION
ADUC7023BCPZ62I-RL
PRODUCTION
Software & Part Ecosystem
Evaluation Kits 1
EVAL-ADUC7023
ADuC7023 QuickStart Plus Development Systems
Product Detail
The QuickStart Plus Kits for the ADuC7023 Precision Analog Microcontrollers feature debug via UART and an assembly & C-source debugging environment. In addition the QuickStart Plus Kit allows true non-intrusive JTAG emulation. These kits are intended for any new users who want to have a comprehensive hardware development environment.
Info For Ordering Evaluation Boards
Resources