LTC2153-14

不推荐用于新设计

14 位、310Msps ADC

产品技术资料帮助

ADI公司所提供的资料均视为准确、可靠。但本公司不为用户在应用过程中侵犯任何专利权或第三方权利承担任何责任。技术指标的修改不再另行通知。本公司既没有含蓄的允许,也不允许借用ADI公司的专利或专利权的名义。本文出现的商标和注册商标所有权分别属于相应的公司。

Viewing:

概述

  • 68.8dBFS SNR
  • 8dB SFDR
  • 低功率:401mW (总值)
  • 单 1.8V 电源
  • DDR LVDS 输出
  • 易于驱动的 1.32VP-P 输入范围
  • 1.25GHz 满功率带宽采样及保持 (S/H)
  • 可任选的时钟占空比稳定器
  • 低功率睡眠和打盹模式
  • 用于配置的串行 SPI 端口
  • 引脚与 12 位器件版本相兼容
  • 40 引脚 (6mm x 6mm) QFN 封装

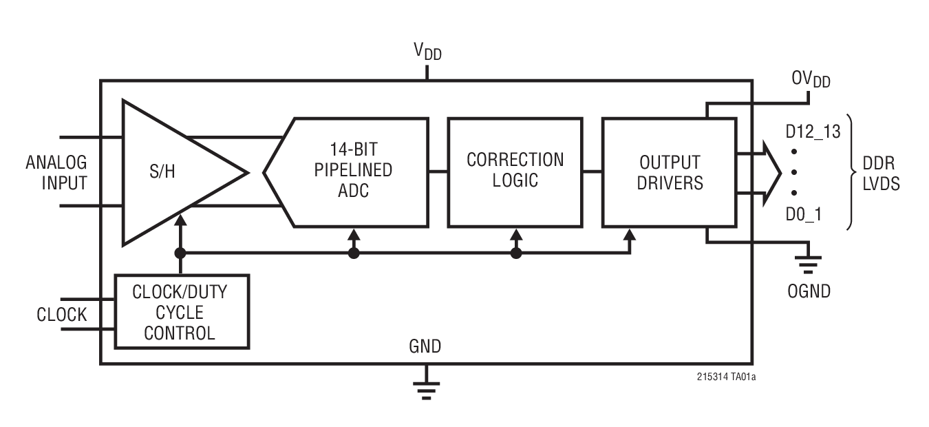
LTC2153-14是一款310Msps 14位模数转换器,专为对高频、宽动态范围信号进行数字化处理而设计,非常适合要求苛刻的通信应用,具有68.8dB SNR和88dB无杂散动态范围(SFDR)等交流性能。具备1.25GHz输入带宽,允许ADC以良好的性能进行高频欠采样。延迟仅5个时钟周期。

直流特性包括±1.2LSB INL(典型值)、±0.35LSB DNL(典型值),并在工作温度范围内无失码。变迁噪声为 2.11LSBRMS

数字输出为双倍数据速率(DDR) LVDS。

ENC+ 和 ENC输入可采用正弦波、PECL、LVDS、TTL或CMOS输入,以差分方式驱动。可选配时钟占空比稳定器,能够在较宽的时钟占空比范围内提供高性能和高速度。

位数
LTC2153-12 12
LTC2153-14 14

应用

  • 通信
  • 蜂窝基站
  • 软件定义无线电
  • 医疗成像
  • 高清视频
  • 测试与测量仪器

LTC2153-14
14 位、310Msps ADC
LTC2153-14 32K Point 2-Tone FFT,  fIN = 71MHz and 69MHz, 310Msps Product Package 1
添加至 myAnalog

将产品添加到myAnalog 的现有项目或新项目中(接收通知)。

创建新项目
提问

参考资料

了解更多
添加至 myAnalog

Add media to the Resources section of myAnalog, to an existing project or to a new project.

创建新项目

软件资源

找不到您所需的软件或驱动?

申请驱动/软件

硬件生态系统

部分模型 产品周期 描述
差分放大器 2
LTC6409 推荐用于新设计 10GHz GBW、1.1nV/√Hz 差分放大器 / ADC 驱动器
LTC6412 最后购买期限 800MHz、31dB 范围模拟控制型 VGA
模数转换器(ADC) 1
LTM9013 最后购买期限 300MHz 宽带接收器
锁相环(PLL)频率合成器 1
LTC6950 过期 具有时钟分配功能的 1.4GHz 低相位噪声、低抖动 PLL
Modal heading
添加至 myAnalog

将产品添加到myAnalog 的现有项目或新项目中(接收通知)。

创建新项目

工具及仿真模型


评估套件

eval board
DC1565A-G

LTC2153-14: 14-bit, 310Msps, 1.8V Single ADC, 5MHz-140MHz, DDR LVDS Outputs, requires DC1371

产品详情

DC1565A-G: Demo Board for the LTC2153-14 14-Bit 310Msps ADC.


 


DC1565A-G
LTC2153-14: 14-bit, 310Msps, 1.8V Single ADC, 5MHz-140MHz, DDR LVDS Outputs, requires DC1371
DC1565A-A - Schematic

最新评论

需要发起讨论吗? 没有关于 LTC2153-14的相关讨论?是否需要发起讨论?

在EngineerZone®上发起讨论

近期浏览