Two engineers working in the lab

利用ADI一套新的精密技术信号链,可节省时间并加快交付解决方案。从智能工业到仪器仪表、电气化到数字健康,您的应用都能找到匹配的精密技术组合产品。

放心定制您的信号链

LT6604-15

推荐用于新设计

双通道、非常低噪声、差分放大器和 15MHz 低通滤波器

产品技术资料帮助

ADI公司所提供的资料均视为准确、可靠。但本公司不为用户在应用过程中侵犯任何专利权或第三方权利承担任何责任。技术指标的修改不再另行通知。本公司既没有含蓄的允许,也不允许借用ADI公司的专利或专利权的名义。本文出现的商标和注册商标所有权分别属于相应的公司。

Viewing:

概述

  • 具 15MHz 低通滤波器的双通道差分放大器
    • 四阶滤波器
    • 近似切比雪夫 (Chebyshev) 响应
    • 保证相位和增益匹配
    • 可利用电阻器来设置的差分增益
  • 76dB 信噪比 (3V 电源,2VP-P 输出)
  • 低失真,2VP-P 输出,800Ω 负载,VS = 3V
    • 1MHz:86dBc (二阶),90dBc (三阶)
    • 10MHz:63dBc (二阶),69dBc (三阶)
  • 针对 3V、5V 和 ±5V 工作电源来拟订技术规格
  • 全差分输入和输出
  • 可调输出共模电压
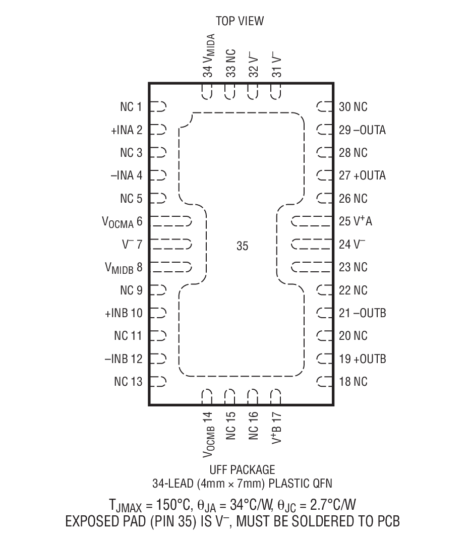
  • 小外形 4mm x 7mm x 0.75mm QFN 封装

 

LT®6604-15 包含两个匹配的全差分放大器,它们各具有一个四阶、15MHz 低通滤波器。固定频率低通滤波器近似一个切比雪夫响应。通过集成一个滤波器和一个差分放大器,该器件实现了极低的失真和噪声。在单位增益条件下,测得的带内信噪比达到了令人注目的 76dB。在较高的增益条件下,输入参考噪声下降,从而允许器件能够处理较小的输入差分信号,而不会使信噪比发生显著的劣化。

两个通道之间的增益和相位高度匹配。每个通道的增益采用两个外部电阻器来独立地设置。通过提供一个可调输出共模电压,LT6604-15 实现了电平移位,从而使其非常适合于直接连接至ADC。

LT6604-15 的技术规格针对 3V 工作电压进行了全面的拟订。当采用单 3V 电源时,该差分设计在高达 2VP-P 的信号电平条件下实现了出色的性能。如需了解具集成 2.5MHz 至 20MHz 低通滤波器相关单通道和双通道差分放大器的完整列表,请见本数据表的底页。

 


Applications

  • 双通道差分 ADC 驱动器和滤波器
  • 单端至差分转换器
  • 匹配、双通道、差分滤波器
  • 差分信号的共模变换
  • 无线基础设施或网络应用中的高速 ADC 抗混叠和 DAC 滤波处理
  • 高速测试和测量设备
  • 医学成像

 

LT6604-15
双通道、非常低噪声、差分放大器和 15MHz 低通滤波器
Channel to Channel Gain Matching Product Package 1
添加至 myAnalog

将产品添加到myAnalog 的现有项目或新项目中(接收通知)。

创建新项目
提问

参考资料

了解更多
添加至 myAnalog

Add media to the Resources section of myAnalog, to an existing project or to a new project.

创建新项目

软件资源

找不到您所需的软件或驱动?

申请驱动/软件

工具及仿真模型

ADIsimRF

ADIsimRF是一款简单易用的RF信号链计算工具。可以计算和导出多达50级的信号链级联增益、噪声、失真和功耗并绘制其曲线。ADIsimRF还包括丰富的ADI射频和混合信号元件的器件模型数据库。

打开工具

Sys-Parameter Models for Keysight Genesys

Sys-Parameter models contain behavioral parameters, such as P1dB, IP3, gain, noise figure and return loss, which describe nonlinear and linear characteristics of a device.

打开工具

评估套件

eval board
DC1418A-D

LT6604-15 | Dual Matched 15MHz 4th Order LP Filter Demo Board

产品详情

DC1418A-D: Demo Board for the LT6604-15 Dual Very Low Noise, Differential Amplifier and 15MHz Lowpass Filter.

DC1418A-D
LT6604-15 | Dual Matched 15MHz 4th Order LP Filter Demo Board
DC1418A-A - Schematic

最新评论

需要发起讨论吗? 没有关于 LT6604-15的相关讨论?是否需要发起讨论?

在EngineerZone®上发起讨论

近期浏览