ADF4107
製造中PLL周波数シンセサイザ
- 製品モデル
- 6
- 1Ku当たりの価格
- 最低価格:$4.15
製品情報
- 周波数帯:7.0GHz
- 電源電圧:2.7~3.3V
- 別のチャージ・ポンプ電圧(Vp)により、3Vシステムの電圧調整幅が拡大
- プログラマブルなデュアル係数プリスケーラ:8/9、16/17、32/33、64/65
- プログラマブルなチャージ・ポンプ電流
- プログラマブルなアンチバックラッシュ・パルス幅
- 3線式シリアル・インターフェース
- アナログとデジタルのロック検出
- ハードおよびソフトによるパワーダウン・モード
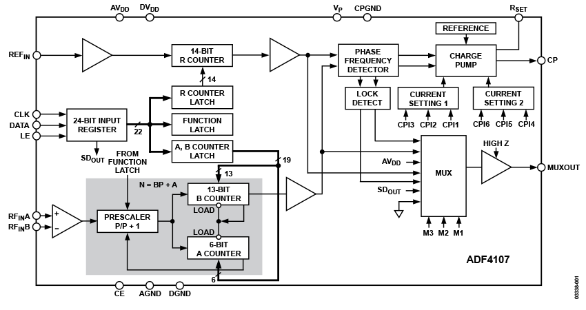
周波数シンセサイザADF4107により、ワイヤレス・レシーバ/トランスミッタのアップコンバージョン/ダウンコンバージョン部でLO(局部発振器)を実現できます。ローノイズのデジタルPFD(位相周波数検出器)、高精度のチャージ・ポンプ、プログラマブルなリファレンス・デバイダ、プログラマブルなAカウンタとBカウンタ、およびデュアル係数プリスケーラ(P/P+1)で構成されます。デュアル係数プリスケーラ(P/P+1)にAカウンタ(6ビット)とBカウンタ(13ビット)を追加することで、Nデバイダ(N=BP+A)を実現します。さらに14ビットのリファレンス・カウンタ(Rカウンタ)により、PFD入力におけるREFIN周波数を選択できます。シンセサイザを外付けのループ・フィルタおよびVCO(電圧制御発振器)と組み合わせて使用すれば、完全なPLL(フェーズ・ロック・ループ)になります。周波数帯域がきわめて広いため、多くの高周波装置において周波数2倍器が不要となり、アーキテクチャの簡素化と低価格化が可能です。
アプリケーション
ドキュメント
データシート 1
ユーザ・ガイド 2
アプリケーション・ノート 3
製品ハイライト 1
評価用設計ファイル 1
製品選択ガイド 1
製品ハイライト 1
アナログ・ダイアログ 4
ウェブキャスト 2
| 製品モデル | ピン/パッケージ図 | 資料 | CADシンボル、フットプリント、および3Dモデル |
|---|---|---|---|
| ADF4107BCPZ | 20-Lead LFCSP (4mm x 4mm w/ EP) | ||
| ADF4107BCPZ-REEL | 20-Lead LFCSP (4mm x 4mm w/ EP) | ||
| ADF4107BCPZ-REEL7 | 20-Lead LFCSP (4mm x 4mm w/ EP) | ||
| ADF4107BRUZ | 16-Lead TSSOP | ||
| ADF4107BRUZ-REEL | 16-Lead TSSOP | ||
| ADF4107BRUZ-REEL7 | 16-Lead TSSOP |
| 製品モデル | 製品ライフサイクル | PCN |
|---|---|---|
|
7 5, 2022 - 21_0271 Qualification of an Alternate Adhesive Material and Molding Compound for Select LFCSP Packages |
||
| ADF4107BCPZ | 製造中 | |
| ADF4107BCPZ-REEL | 製造中 | |
| ADF4107BCPZ-REEL7 | 製造中 | |
|
10 18, 2016 - 16_0036 Assembly Relocation to Stats ChipPAC Jiangyin and Test Transfer to Stats ChipPAC Singapore of Select LFCSP Products |
||
| ADF4107BCPZ | 製造中 | |
| ADF4107BCPZ-REEL | 製造中 | |
| ADF4107BCPZ-REEL7 | 製造中 | |
|
8 6, 2014 - 13_0230 Assembly and Test Transfer of Select 3.5x3.5, 4x3, 4x4, and 5x5mm LFCSP Products to STATS ChipPAC China |
||
| ADF4107BCPZ | 製造中 | |
| ADF4107BCPZ-REEL | 製造中 | |
| ADF4107BCPZ-REEL7 | 製造中 | |
|
11 9, 2011 - 11_0241 Conversion of Select LFCSP Package Outlines from Punch to Sawn and Transfer of Assembly Site to STATS ChipPAC Malaysia. |
||
| ADF4107BCPZ | 製造中 | |
| ADF4107BCPZ-REEL | 製造中 | |
| ADF4107BCPZ-REEL7 | 製造中 | |
|
10 26, 2011 - 11_0020 Conversion of Select Sizes of LFCSP Package Outlines from Punch to Sawn and Transfer of Assembly Site to StatsChippac Malaysia. |
||
| ADF4107BCPZ | 製造中 | |
| ADF4107BCPZ-REEL | 製造中 | |
| ADF4107BCPZ-REEL7 | 製造中 | |
|
3 14, 2011 - 11_0045 Addition of STATSChipPAC Malaysia as an Alternate Test Site for LFCSP packages. |
||
| ADF4107BCPZ | 製造中 | |
| ADF4107BCPZ-REEL | 製造中 | |
| ADF4107BCPZ-REEL7 | 製造中 | |
|
2 15, 2010 - 07_0061 LFCSP Package Manufacturing Line Transfer from Amkor Korea to Amkor PRC |
||
| ADF4107BCPZ | 製造中 | |
| ADF4107BCPZ-REEL | 製造中 | |
| ADF4107BCPZ-REEL7 | 製造中 | |
|
2 11, 2011 - 10_0005 Halogen Free Material Change for TSSOP Products Assembled at Amkor |
||
| ADF4107BRUZ | 製造中 | |
| ADF4107BRUZ-REEL | 製造中 | |
| ADF4107BRUZ-REEL7 | 製造中 | |
これは最新改訂バージョンのデータシートです。
ソフトウェア・リソース
必要なソフトウェア/ドライバが見つかりませんか?
ドライバ/ソフトウェアをリクエストハードウェア・エコシステム
| 製品モデル | 製品ライフサイクル | 詳細 |
|---|---|---|
| オペアンプ(OPアンプ) 1 | ||
| OP184 | 製造中 | オペアンプ、単電源、レールtoレール入出力 |
| スイッチング・レギュレータ & コントローラ 1 | ||
| ADP1613 | 製造中 | DC-DCスイッチング・コンバータ、ステップアップ、650kHz/1.3MHz |
| リニア・レギュレータ 3 | ||
| ADP3334 | 新規設計には非推奨 | レギュレータ、可変低ドロップアウト、高精度、低静止電流、500mA、anyCAP® |
| ADP150 | 製造中 | リニア・レギュレータ、150mA、超低ノイズ、CMOS |
| ADP151 | 製造中 | 超低ノイズ、200mA、CMOSリニア電圧レギュレータ |
| 周波数分周器 & 乗算器 1 | ||
| ADF5001 | 製造中 | 周波数プリスケーラ、4分周、4GHz~18GHz |
ツールおよびシミュレーション
ADIsimPLL™
ADIsimPLLは、アナログ・デバイセズの新しい高性能PLL製品の迅速で信頼性の高い評価を可能にします。これは、現在利用できる最も包括的なPLLシンセサイザ設計およびシミュレーション・ツールです。実施されるシミュレーションには、PLL性能に影響を与える重要な非線形効果がすべて含まれます。ADIsimPLLは、設計プロセスから1回以上の反復作業を削除し、設計から市場投入までの時間を短縮します。
ツールを開くADIsimRF
ADIsimRFは使いやすいRFシグナル・チェーン計算ツールです。最大50段までのシグナル・チェーンについて、カスケード・ゲイン、ノイズ、歪み、消費電力を計算し、プロット、エクスポートが可能です。ADIsimRFには、アナログ・デバイセズのRFおよびミックスド・シグナル部品のデバイス・モデルの広範なデータ・ベースも含まれています。
ツールを開く