ADG1207

PRODUCTION

Low Capacitance, 8-Channel, ±15 V/+12 V iCMOS Multiplexer

Viewing:

Overview

  • <1 pC charge injection over full signal range
  • 1.5 pF off capacitance
  • 33 V supply range
  • 120 Ω on resistance
  • Fully specified at ±15 V/+12 V
  • 3 V logic-compatible inputs
  • Rail-to-rail operation
  • Break-before-make switching action
  • 28-lead TSSOP and 32-lead, 5 mm × 5 mm LFCSP

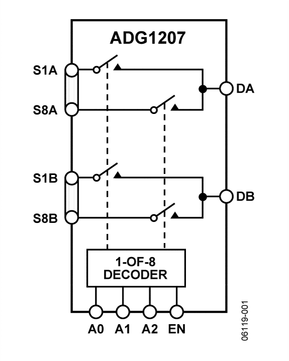
The ADG1206 and ADG1207 are monolithic iCMOS® analog multiplexers comprising sixteen single channels and eight differential channels, respectively. The ADG1206 switches one of sixteen inputs to a common output, as determined by the 4-bit binary address lines A0, A1, A2, and A3. The ADG1207 switches one of eight differential inputs to a common differential output, as determined by the 3-bit binary address lines A0, A1, and A2. An EN input on both devices is used to enable or disable the device. When disabled, all channels are switched off. When on, each channel conducts equally well in both directions and has an input signal range that extends to the supplies.

The industrial CMOS (iCMOS) modular manufacturing process combines high voltage complementary metal-oxide semiconductor (CMOS) and bipolar technologies. It enables the development of a wide range of high performance analog ICs capable of 33 V operation in a footprint that no other generation of high voltage devices has been able to achieve. Unlike analog ICs using conventional CMOS processes, iCMOS components can tolerate high supply voltages while providing increased performance, dramatically lower power consumption, and reduced package size.

The ultralow capacitance and exceptionally low charge injection of these multiplexers make them ideal solutions for data acquisition and sample-and-hold applications, where low glitch and fast settling are required. There is minimum charge injection over the entire signal range of the device. iCMOS construction also ensures ultralow power dissipation, making the devices ideally suited for portable and battery-powered instruments.

Applications

  • Audio and video routing
  • Automatic test equipment
  • Data acquisition systems
  • Battery-powered systems
  • Sample-and-hold systems
  • Communication systems

ADG1207

Low Capacitance, 8-Channel, ±15 V/+12 V iCMOS Multiplexer

ADG1207-fbl ADG1207 Pin Configuration ADG1207 Pin Configuration
Add to myAnalog

Add product to the Products section of myAnalog (to receive notifications), to an existing project or to a new project.

Create New Project
Ask a Question

Documentation

Learn More
Add to myAnalog

Add media to the Resources section of myAnalog, to an existing project or to a new project.

Create New Project

Software Resources

Can't find the software or driver you need?

Request a Driver/Software

Hardware Ecosystem

Parts Product Life Cycle Description
ADG5207 RECOMMENDED FOR NEW DESIGNS High Voltage, Latch-Up Proof, 8-Channel Differential Multiplexer
Modal heading
Add to myAnalog

Add product to the Products section of myAnalog (to receive notifications), to an existing project or to a new project.

Create New Project

Tools & Simulations

LTspice


Models for the following parts are available in LTspice:

  • ADG1207
  • ADG1207L
LTspice

LTspice® is a powerful, fast and free simulation software, schematic capture and waveform viewer with enhancements and models for improving the simulation of analog circuits.


Evaluation Kits

eval board
EVAL-28TSSOPEBZ

EVAL-28TSSOPEBZ Evaluation Board

Features and Benefits

  • 28-lead TSSOP evaluation board
  • Clamp allows the main device to be easily changed
  • Gold pin connectors allow the addition of passive components
  • SMB connectors for the input/output of signals
  • Additional space on-board to allow for prototyping

Product Details

The EVAL-28TSSOPEBZ evaluation board evaluates 28-lead TSSOP devices in the Switches and Multiplexers Portfolio that are purchased separately. A clamp is supplied with the EVAL- 28TSSOPEBZ to secure a 28-lead TSSOP device to the evaluation board without the need for soldering, making the board reusable for multiple devices.

A 28-lead TSSOP device can be clamped or soldered to the center of the evaluation board. Each pin of the device has a corresponding link from K1 to K28 that can be set to either VDD or GND. A wire screw terminal supplies VDD and GND. SMB connectors on the board allow additional external signals to be supplied to the device. In addition, there is space available at the top of the board for prototyping.

Full specifications of the device under test (DUT) are available in the corresponding product data sheet, which should be consulted in conjunction with this user guide when using the evaluation board.

EVAL-28TSSOPEBZ
EVAL-28TSSOPEBZ Evaluation Board
EVAL-28TSSOPEBZ - Angle View EVAL-28TSSOPEBZ - Bottom View EVAL-28TSSOPEBZ - Top View

Reference Designs

Multichannel Data Acquisition Simplified Circuit
CN0345 Circuits from the lab

Low Power, Multichannel Data Acquisition System with PGIA for Single-Ended and Differential Industrial-Level Signals

Features and Benefits

  • 18-Bit 8-Channel Data Acquisition System
  • Single-ended and differential industrial signal levels
  • 750 kSPS per channel switching rate
  • 240mW at maximum sampling rate
CN0345
Low Power, Multichannel Data Acquisition System with PGIA for Single-Ended and Differential Industrial-Level Signals
Multichannel Data Acquisition Simplified Circuit
EVAL-CN0345-SDZ Evaluation Hardware

Latest Discussions

Recently Viewed