ADG1206

PRODUCTION

Low Capacitance, 16-Channel, ±15 V/+12 V iCMOS Multiplexer

Viewing:

Overview

  • <1 pC charge injection over full signal range
  • 1.5 pF off capacitance
  • 33 V supply range
  • 120 Ω on resistance
  • Fully specified at ±15 V/+12 V
  • 3 V logic-compatible inputs
  • Rail-to-rail operation
  • Break-before-make switching action
  • 28-lead TSSOP and 32-lead, 5 mm × 5 mm LFCSP

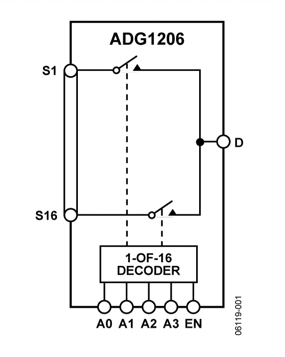
The ADG1206 and ADG1207 are monolithic iCMOS® analog multiplexers comprising sixteen single channels and eight differential channels, respectively. The ADG1206 switches one of sixteen inputs to a common output, as determined by the 4-bit binary address lines A0, A1, A2, and A3. The ADG1207 switches one of eight differential inputs to a common differential output, as determined by the 3-bit binary address lines A0, A1, and A2. An EN input on both devices is used to enable or disable the device. When disabled, all channels are switched off. When on, each channel conducts equally well in both directions and has an input signal range that extends to the supplies.

The industrial CMOS (iCMOS) modular manufacturing process combines high voltage complementary metal-oxide semiconductor (CMOS) and bipolar technologies. It enables the development of a wide range of high performance analog ICs capable of 33 V operation in a footprint that no other generation of high voltage devices has been able to achieve. Unlike analog ICs using conventional CMOS processes, iCMOS components can tolerate high supply voltages while providing increased performance, dramatically lower power consumption, and reduced package size.

The ultralow capacitance and exceptionally low charge injection of these multiplexers make them ideal solutions for data acquisition and sample-and-hold applications, where low glitch and fast settling are required. There is minimum charge injection over the entire signal range of the device. iCMOS construction also ensures ultralow power dissipation, making the devices ideally suited for portable and battery-powered instruments.

Applications

  • Audio and video routing
  • Automatic test equipment
  • Data acquisition systems
  • Battery-powered systems
  • Sample-and-hold systems
  • Communication systems

ADG1206
Low Capacitance, 16-Channel, ±15 V/+12 V iCMOS Multiplexer
ADG1206-fbl ADG1206 Pin Configuration ADG1206 Pin Configuration
Add to myAnalog

Add product to the Products section of myAnalog (to receive notifications), to an existing project or to a new project.

Create New Project
Ask a Question

Documentation

Learn More
Add to myAnalog

Add media to the Resources section of myAnalog, to an existing project or to a new project.

Create New Project

Software Resources

Can't find the software or driver you need?

Request a Driver/Software

Tools & Simulations

LTspice


Models for the following parts are available in LTspice:

  • ADG1206
  • ADG1206L
LTspice

LTspice® is a powerful, fast and free simulation software, schematic capture and waveform viewer with enhancements and models for improving the simulation of analog circuits.


Evaluation Kits

eval board
EVAL-ADMX1002

Ultra-low Distortion Signal Generator Measurement Module

Features and Benefits

  • Ultra-low distortion, high-resolution source
    • DC, 50Hz to 40kHz Frequency Range
    • Proprietary digital pre-distortion (DPD) algorithm
    • –130dBc THD @ 1kHz (typ.)
    • Arbitrary waveform generation (AWG) with on-board pattern memory
    • Differential (balanced) output up to 3.6VRMS
  • Fast pattern switching between multiple stored waveforms
  • Small form-factor (60mm x 40mm)
  • Low power, 1W typ. (quiescent)
  • SPI interface for integration into test and measurement systems

Product Details

The ADMX1002 is an ultra-low distortion sinewave and high-resolution arbitrary waveform generator. This high-performance module demonstrates a proprietary digital pre-distortion algorithm that reduces signal distortion below levels that can be achieved with high-performance digital-to-analog converters (DAC) and amplifiers alone. Its differential output can be set to common-mode levels often required to test high-performance analog-to-digital converters (ADC), audio codecs, and other audio ICs and systems. With an easy-to-use SPI interface and small-form factor, the ADMX1002 can be easily embedded into test systems, or simply used on the bench for measurement and characterization.

APPLICATIONS

  • High-end audio test
  • Analog-to-digital converter characterization and test
  • Sensor and transducer test
  • Frequency response and network analysis
  • ATE

eval board
EVAL-ADMX1001

Ultra-low Distortion Signal Generator Measurement Module with Fully Differential Input Acquisition Channel

Features and Benefits

  • Ultra-low distortion, high-resolution source
    • DC, 50Hz to 40kHz Frequency Range
    • Proprietary digital pre-distortion (DPD) algorithm
    • –130dBc THD @ 1kHz (typ.)
    • Arbitrary waveform generation (AWG) with on-board pattern memory
    • Differential (balanced) output up to 3.5VRMS
    • Fast pattern switching between multiple stored waveforms
  • Fully Differential input Acquisition Channel
  • Small form-factor (60mm x 40mm)
  • Low power, 1W typ. (quiescent)
  • SPI interface for integration into test and measurement systems

Product Details

The ADMX1001 is an ultra-low distortion sinewave and high-resolution arbitrary waveform generator with an acquisition channel. This high-performance module demonstrates a proprietary digital pre-distortion algorithm that reduces signal distortion below levels that can be achieved with high-performance digital-to-analog converters (DAC) and amplifiers alone. Its differential output can be set to common-mode levels often required to test high-performance analog-to-digital converters (ADC), audio codecs, and other audio ICs and systems. The signal generator and the acquisition channel can be individually controlled using separate, easy to use, SPI interfaces - combined with the module's small-form factor, the ADMX1001 can be easily embedded into test systems, or simply used on the bench for measurement and characterization.

APPLICATIONS

  • High-end audio test
  • Analog-to-digital converter characterization and test
  • Sensor and transducer test
  • Frequency response and network analysis
  • ATE

eval board
EVAL-28TSSOPEBZ

EVAL-28TSSOPEBZ Evaluation Board

Features and Benefits

  • 28-lead TSSOP evaluation board
  • Clamp allows the main device to be easily changed
  • Gold pin connectors allow the addition of passive components
  • SMB connectors for the input/output of signals
  • Additional space on-board to allow for prototyping

Product Details

The EVAL-28TSSOPEBZ evaluation board evaluates 28-lead TSSOP devices in the Switches and Multiplexers Portfolio that are purchased separately. A clamp is supplied with the EVAL- 28TSSOPEBZ to secure a 28-lead TSSOP device to the evaluation board without the need for soldering, making the board reusable for multiple devices.

A 28-lead TSSOP device can be clamped or soldered to the center of the evaluation board. Each pin of the device has a corresponding link from K1 to K28 that can be set to either VDD or GND. A wire screw terminal supplies VDD and GND. SMB connectors on the board allow additional external signals to be supplied to the device. In addition, there is space available at the top of the board for prototyping.

Full specifications of the device under test (DUT) are available in the corresponding product data sheet, which should be consulted in conjunction with this user guide when using the evaluation board.

EVAL-ADMX1002
Ultra-low Distortion Signal Generator Measurement Module
EVAL-ADMX100X-FMCZKIT - Angle View EVAL-ADMX100X-FMCZKIT - Top View ADMX1002 - Angle View ADMX1002 - Top View ADMX1002 - Bottom View
EVAL-ADMX1001
Ultra-low Distortion Signal Generator Measurement Module with Fully Differential Input Acquisition Channel
ADMX1001 - Top View ADMX1001 - Bottom View ADMX1001 - Angle View ADMX1001FMCZ - Top View ADMX1001FMCZ - Bottom View ADMX1001FMCZ - Angle View EVAL-ADMX100X-FMCZKIT - Angle View EVAL-ADMX100X-FMCZKIT - Top View
EVAL-28TSSOPEBZ
EVAL-28TSSOPEBZ Evaluation Board
EVAL-28TSSOPEBZ - Angle View EVAL-28TSSOPEBZ - Bottom View EVAL-28TSSOPEBZ - Top View

Latest Discussions

Recently Viewed