ADEMA127

RECOMMENDED FOR NEW DESIGNS

Simultaneously Sampling 4- and 7-Channel ΣΔ ADC with SPI

Viewing:

Overview

  • 4- or 7-channel high performance, simultaneous sampling Σ-Δ ADCs
    • SNR up to 105dB
    • Programmable sample rate of up to 64kSPS
    • Wide input-voltage range: ±1.2VPK, 848mVRMS full-scale
    • High impedance, differential inputs
  • Internal voltage reference temperature coefficient: 5ppm/°C typical
  • Integrated digital integrator and high-pass filter for use with Rogowski coils
  • Fast start-up with first samples in 0.5ms after valid supply
  • Tamper detect mode, low power for battery back-up
  • 4-wire SPI with bidirectional CRC and daisy-chain functionality
  • Simple synchronization of multiple ADC devices
  • Gain, phase, and offset compensation for each channel
  • Unique SPI readable part ID registers
  • Only 18mW power consumption with 7-channel ADC
  • Wide temperature range: −40°C to +125°C
  • Compact 32-lead, 5mm x 5mm LFCSP

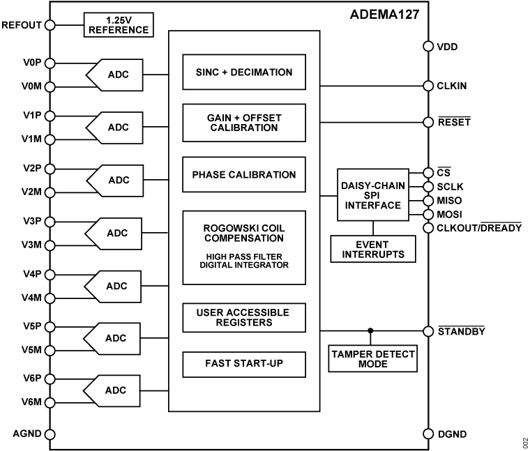
The ADEMA124/ADEMA127 are 4- and 7-channel simultaneously sampling 24-bit sigma delta analog-to-digital converters (ADC), ideal for use in polyphase or split-phase energy metering applications. The ADEMA124/ADEMA127 are compatible with voltage dividers, shunts, and isolated current sensors such as current transformers and Rogowski coils.

The ADEMA124/ADEMA127 include independent hardware and DSP filters enabling gain, phase and offset compensation on each ADC channel. The ADEMA124/ADEMA127 also have bespoke compensation and DSP features, which include an integrator and second-order high-pass filter to allow streamlined Rogowski sensor implementations. DSP filter coefficients for typical use cases are automatically loaded and are accessible for customization of filter characteristics.

The sinc compensation, LPF, and DSP decimate-by-2 feature extend the usable analog bandwidth by up to 70% for a given output sample rate. The high bandwidth makes ADEMA124/ADEMA127 suitable for IEC 61000-4-30 Power Quality Class A and Class S meters. The ADEMA124/ADEMA127 can be used in systems compliant to active energy standards IEC 62053-21, IEC 62053-22, OIML R46ANSI, and C12.20 and reactive energy standards IEC 62053-23, IEC 62053-24, and EN 50470-3. The ADEMA124/ADEMA127 can be used in circuit breakers and protection relays, particularly with a Rogowski sensor due to a 0.5ms fast start-up time.

The ADEMA124/ADEMA127 have a flexible SPI interface for configuration and data retrieval. The daisy-chain SPI interface allows multiple compatible ADCs to be serviced simultaneously by a single SPI port, which saves many pins on the host microcontroller. Additionally, the SPI port is daisy-chain compatible with the 2- and 3-channel isolated ADC, ADE9112/ADE9113. To maintain integrity of ADC waveform data, independent cyclic redundancy checks (CRC) are available to detect errors in inbound and outbound SPI packets, and incidental changes of configuration registers.

APPLICATIONS

  • Polyphase energy meters
  • Split-phase energy meters
  • Branch circuit monitoring
  • Power distribution units
  • Power quality monitoring
  • Circuit breakers
  • Protection relays
  • Electric vehicle supply equipment

ADEMA127
Simultaneously Sampling 4- and 7-Channel ΣΔ ADC with SPI
ADEMA127 Functional Block Diagram ADEMA124/ADEM127 Circuit Diagram ADEMA127 Pin Configuration ADEMA127 Chip Illustration
Add to myAnalog

Add product to the Products section of myAnalog (to receive notifications), to an existing project or to a new project.

Create New Project
Ask a Question

Documentation

Learn More
Add to myAnalog

Add media to the Resources section of myAnalog, to an existing project or to a new project.

Create New Project

Software Resources

Device Drivers 1


Hardware Ecosystem

Parts Product Life Cycle Description
LDO Linear Regulators 1
ADP7105 RECOMMENDED FOR NEW DESIGNS 20 V, 500 mA, Low Noise LDO Regulator with Soft Start
Modal heading
Add to myAnalog

Add product to the Products section of myAnalog (to receive notifications), to an existing project or to a new project.

Create New Project

Tools & Simulations

LTspice

LTspice® is a powerful, fast and free simulation software, schematic capture and waveform viewer with enhancements and models for improving the simulation of analog circuits.


Evaluation Kits

eval board
EVAL-ADEMA127

Evaluating the ADEMA124/ADEMA127 Simultaneously Sampling 4- and 7-Channel ΣΔ ADC with SPI

Features and Benefits

  • Fully-featured evaluation board for the ADEMA124 and ADEMA127 
  • 3-phase 4-wire, 3-phase 3-wire, or 3-wire single-phase measurements
  • PC control in conjunction with the Analysis | Control | Evaluation (ACE) system demonstration platform
  • Up to 240Vrms nominal line neutral voltage measurement

Product Details

The EVAL-ADEMA127KTZ is a two board evaluation kit for the simultaneously sampling 4-channel ADEMA124 and 7-channel ADEMA127 ΣΔ ADC. The EVAL-ADEMA127KTZ evaluation board is a configured as a 3-phase meter. The kit includes current transformers (CTs) for A-, B-, and C-phase and neutral current measurement. The application MCU board includes the STM32H573. The kit can be interfaced with via GUI available in the ACE software environment. The ADC driver library for the ADEMA124/ADEMA127 available on GitHub can also be uploaded to the application MCU board.

Full specifications on the ADEMA124/ADEMA127 are available in the ADEMA124/ADEMA127 data sheet available from Analog Devices, Inc. and must be consulted with this user guide when using the EVAL-ADEMA127KTZ evaluation board.

For the current schematic, printed circuit board (PCB), and bill of material (BOM), refer to the EVAL-ADEMA127 product page.

EVAL-ADEMA127
Evaluating the ADEMA124/ADEMA127 Simultaneously Sampling 4- and 7-Channel ΣΔ ADC with SPI
EVAL-ADEMA127 Board Photo Angle View EVAL-ADEMA127 Board Photo Top View EVAL-ADEMA127 Board Photo Bottom View

Latest Discussions

No discussions on ADEMA127 yet. Have something to say?

Start a Discussion on EngineerZone®

Recently Viewed