SSM2932

过期

高效率、以地为参考的G类耳机放大器

Viewing:

概述

  • 以地为参考的G类输出级
  • 效率极高,适合便携式应用
  • 静态电流:1.7 mA(典型值)
  • 功耗:每通道50 mW(16Ω负载,3.3V电源)
  • 信噪比(SNR):98 dB(A加权)
  • 217 Hz下电源抑制比(PSRR)为85 dB
  • 电源电压范围:2.5V至3.6V
  • 可选增益:0 dB或6 dB
  • 高阻态输出模式支持共享输出插孔
  • 关断电流:1 μA
  • 短路保护
  • 欲了解更多特性,请参考数据手册

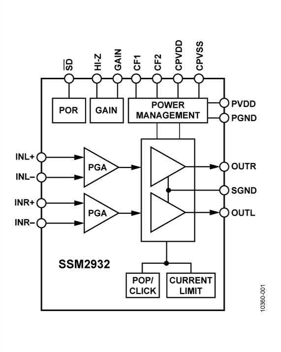
SSM2932是一款立体声耳机放大器,能够向16 Ω单端负载提供每通道50 mW的连续输出功率,THD + N阈值为1%。该立体声耳机驱动器采用高效率、以真实地为参考的G类技术。

SSM2932集成一个增益控制引脚,可选择0 dB或6 dB的增益。由于采用以地为参考的输出方案,因此无需大型隔直电容,节省了系统成本和电路板空间。G类放大器经过精密调谐,可较大程度地延长电池使用时间,而这恰恰是便携式应用的一项关键任务。该器件延长电池使用时间是通过调制放大器供电轨,使其既与输出需求相匹配,而又不消耗过多电源电流,从而降低典型音频回放期间的功耗。    

SSM2932的额定温度范围为−40°C至+85°C工业温度范围,并具有输出短路保护和8 kV ESD保护(人体模型)。该器件采用16引脚、1.64 mm × 1.64 mm晶圆级芯片规模封装(WLCSP)。

应用

  • 蜂窝电话
  • 智能电话和多媒体电话
  • 数码相机
  • 便携式媒体播放器
  • 电话配件
  • PDA

SSM2932
高效率、以地为参考的G类耳机放大器
SSM2932-fbl SSM2932-pc
添加至 myAnalog

将产品添加到myAnalog 的现有项目或新项目中(接收通知)。

创建新项目
提问

参考资料

了解更多
添加至 myAnalog

Add media to the Resources section of myAnalog, to an existing project or to a new project.

创建新项目

软件资源

找不到您所需的软件或驱动?

申请驱动/软件

最新评论

需要发起讨论吗? 没有关于 SSM2932的相关讨论?是否需要发起讨论?

在EngineerZone®上发起讨论

近期浏览