LTC6091

推荐用于新设计

双通道、140V、轨至轨输出、pA 输入电流运算放大器

产品技术资料帮助

ADI公司所提供的资料均视为准确、可靠。但本公司不为用户在应用过程中侵犯任何专利权或第三方权利承担任何责任。技术指标的修改不再另行通知。本公司既没有含蓄的允许,也不允许借用ADI公司的专利或专利权的名义。本文出现的商标和注册商标所有权分别属于相应的公司。

Viewing:

概述

  • 电源范围:±4.75V 至±70V (140V)
  • 0.1Hz 至 10Hz 噪声:3.5μVP-P
  • 输入偏置电流:50pA (最大值)
  • 低失调电压:1.25mV (最大值)
  • 低失调漂移:±5μV/°C (最大值)
  • CMRR:130dB (最小值)
  • 轨至轨输出级
  • 输出吸收和供电电流:50mA
  • 12MHz 增益带宽乘积
  • 21V/μs 摆率
  • 11nV/√Hz 噪声密度
  • 热停机
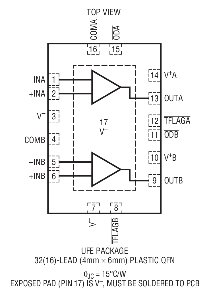
  • 4mm x 6mm 16 引脚 QFN 封装

LTC6091 是一款双通道、高电压精准型运算放大器。其低噪声、低偏置电流输入级非常适合于高增益配置。LTC6091 具有低输入失调电压、一个轨至轨输出级,并可采用 140V 单电源或 ±70V 分离型电源供电运行。

LTC6091 在内部提供了针对过热情况的保护功能。当芯片温度接近 150°C时,一个热告警输出 (TFLAG) 将变至运行状态。可利用输出停用引脚 OD 将输出级关断。通过把 OD 引脚连接至热告警输出,器件将在其超出安全工作区时停用输出级。这些引脚可容易地连接至任何逻辑器件系列。

LTC6091 可在采用一个高达 200pF 的输出电容器时保持稳定的单位增益。宽的输入和输出共模范围以及诸多的特性使 LTC6091 适用于众多的高电压应用。

应用

  • ATE (自动测试设备)
  • 压电式驱动器
  • 光电二极管放大器
  • 高电压调节器
  • 光网络

LTC6091
双通道、140V、轨至轨输出、pA 输入电流运算放大器
High Voltage Analog MUX VOUT vs Time Product Package 1
添加至 myAnalog

将产品添加到myAnalog 的现有项目或新项目中(接收通知)。

创建新项目
提问

参考资料

了解更多
添加至 myAnalog

Add media to the Resources section of myAnalog, to an existing project or to a new project.

创建新项目

软件资源

找不到您所需的软件或驱动?

申请驱动/软件

工具及仿真模型

模拟光电二级管向导

使用光电二极管向导设计跨导放大器电路与光电二极管接口。从工具内置器件库中选择一个光电二极管,或输入自定义光电二极管规格。快速考量权衡带宽、峰值(Q)和ENOB/SNR。修改电路参数,并立即查看图中的脉冲响应、频率响应和噪声增益结果。

打开工具

Signal Chain Designer

Signal Chain Designer is a web-based tool designed to create and simulate complex precision signal chains. See your circuit’s performance before you commit to your PCB: transfer function, noise, power consumption, input range, and DC error. Quickly experiment with different parts and architectures. Signal chains can be exported to LTspice for further analysis.

打开工具

模拟滤波器向导

使用模拟滤波器向导和实际运算放大器在几分钟内设计低通、高通或带通滤波器。设计过程中,可以观察滤波器设计的理想规格与实际电路行为特性。快速评估权衡运算放大器规格 – 包括增益带宽、噪声和电源电流 – 以确定满足您需求的理想滤波器设计。

打开工具

最新评论

需要发起讨论吗? 没有关于 LTC6091的相关讨论?是否需要发起讨论?

在EngineerZone®上发起讨论

近期浏览