LTC2201

量产

16位、20Msps ADC

产品技术资料帮助

ADI公司所提供的资料均视为准确、可靠。但本公司不为用户在应用过程中侵犯任何专利权或第三方权利承担任何责任。技术指标的修改不再另行通知。本公司既没有含蓄的允许,也不允许借用ADI公司的专利或专利权的名义。本文出现的商标和注册商标所有权分别属于相应的公司。

Viewing:

概述

  • 采样速率:20Msps
  • 81.6dB SNR 和 100dB SFDR (2.5V 范围)
  • 在 70MHz 的 90dB SFDR (1.667VP-P 输入范围)
  • PGA 前端 (2.5VP-P 或 1.667VP-P 输入范围)
  • 380MHz 满功率带宽 S/H (采样及保持)
  • 任选的内部高频颤动
  • 任选的数据输出随机函数发生器
  • 单 3.3V 电源
  • 功耗:211mW
  • 时钟占空比稳定器
  • 超范围指示器
  • 引脚兼容型系列
    • 25Msps:LTC2203 (16 位)
    • 10Msps:LTC2202 (16 位)
  • 48 引脚 (7mm × 7mm) QFN 封装

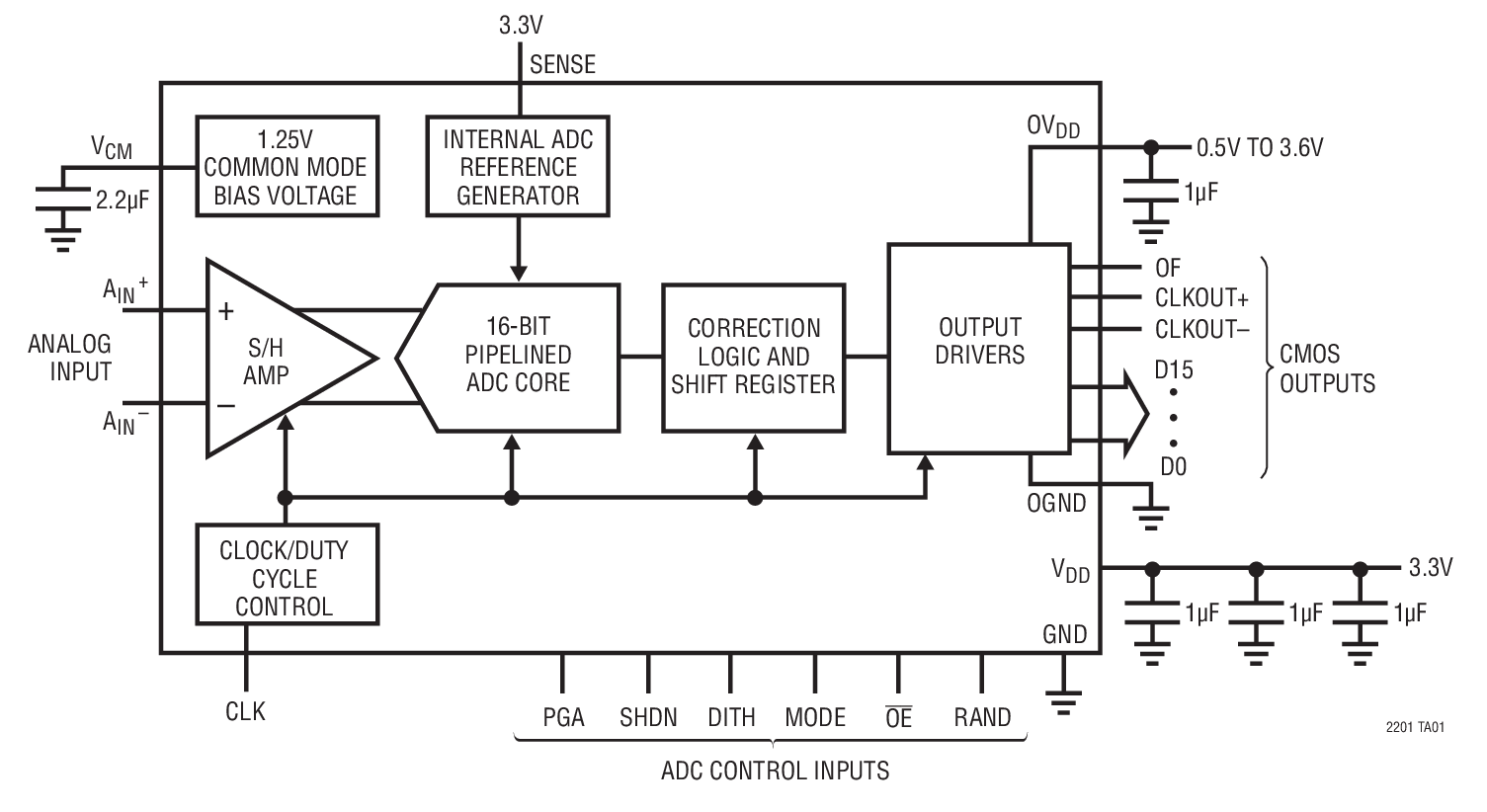
LTC®2201是一款20Msps、采样16位模数转换器,专为对具有高达380MHz输入频率的高频、宽动态范围信号进行数字化处理而设计。该ADC的输入范围可以利用PGA前端进行优化。

LTC2201非常适合要求苛刻的应用,具有81.6dB SNR和100dB无杂散动态范围(SFDR)等AC性能。最大DC规格特性包括±5LSB INL、±1LSB DNL(无失码)。

单独的输出电源可提供0.5V至3.6V的CMOS输出摆幅。

单端CLK输入负责控制转换器操作。可选的时钟占空比稳定器可在较宽的时钟占空比范围内提供高性能和高速度。


应用

  • 电信
  • 接收器
  • 蜂窝基站
  • 频谱分析
  • 成像系统
  • ATE(自动测试设备)

LTC2201
16位、20Msps ADC
Integral Nonlinearity (INL)  vs Output Code Product Package 1
添加至 myAnalog

将产品添加到myAnalog 的现有项目或新项目中(接收通知)。

创建新项目
提问

参考资料

数据手册 1

可靠性数据 1

用户手册 2

了解更多
添加至 myAnalog

Add media to the Resources section of myAnalog, to an existing project or to a new project.

创建新项目

软件资源

Evaluation Software 2

PScope

The PScope System is a USB-based product demonstration and data acquisition system for use with high performance ADCs and signal chain receiver family. PScope allows users to evaluate the SNR, SFDR, THD, as well as other key parameters, quickly and easily.

LinearLab Tools

A collection of Matlab and Python programs that provide direct access to Linear Technology’s data converter evaluation boards.


硬件生态系统

部分模型 产品周期 描述
差分放大器 2
LTC6406 最后购买期限 3GHz、低噪声、轨至轨输入差分放大器/驱动器
LTC6405 最后购买期限 2.7GHz、5V、低噪声、轨至轨输入差分放大器 / 驱动器
锁相环(PLL)频率合成器 1
LTC6950 过期 具有时钟分配功能的 1.4GHz 低相位噪声、低抖动 PLL
Modal heading
添加至 myAnalog

将产品添加到myAnalog 的现有项目或新项目中(接收通知)。

创建新项目

评估套件

eval board
DC918C-M

LTC2201 | CMOS OUT, 20Msps, 16-Bit ADC, 1MHz < AIN < 70MHz (Requires DC718)

产品详情

DC918C-M: Demo Board for the LTC2201 16-Bit, 20Msps ADC.


 


eval board
DC919A-J

LTC2201 | CMOS OUT, DC INPUT, 20Msps 16-Bit ADC, DC < AIN < 70MHz (Requires DC718)

产品详情

DC919A-J: Demo Board for the LTC2201 16-Bit, 20Msps ADC.


 


DC918C-M
LTC2201 | CMOS OUT, 20Msps, 16-Bit ADC, 1MHz < AIN < 70MHz (Requires DC718)
DC918C-A - Schematic
DC919A-J
LTC2201 | CMOS OUT, DC INPUT, 20Msps 16-Bit ADC, DC < AIN < 70MHz (Requires DC718)
DC919A-A - Schematic

最新评论

需要发起讨论吗? 没有关于 LTC2201的相关讨论?是否需要发起讨论?

在EngineerZone®上发起讨论

近期浏览