LTC1520
量产50Mbps 精准四通道线路接收器
- 产品模型
- 2
概述
- 精准的传播延迟:在整个温度范围内为 18ns ±3ns
- 数据速率:50Msps
- 低的 tPLH/tPHL 延迟时间偏差:500ps (典型值)
- 低的通道至通道延迟时间偏差:400ps (典型值)
- 轨至轨输入共模范围
- 高输入电阻:≥ 18k,即使在未通电的时候也不例外
- 可热插拔 (Hot Swap)
- 能够承受高达 ±10V 的输入 DC 电平
- 短路保护
- 单 5V 电源
- 可兼容 LVDS
- 接受慢速输入信号时将不会产生振荡
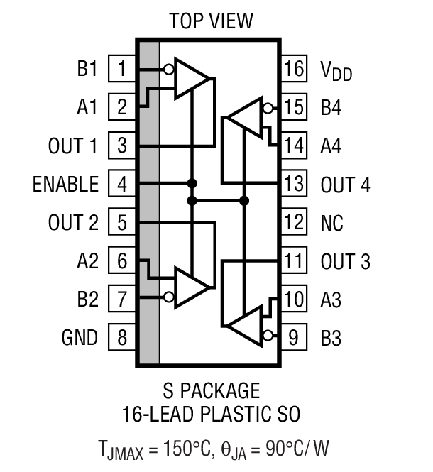
LTC®1520 是一款高速、精准差分线路接收器,能够在高达 50Mbps 的数据速率下工作。该器件运用了一种独特的架构,可在宽的输入共模、输入过驱动和环境温度范围内提供非常稳定的传播延迟和低的延迟时间偏差。传播延迟为 18ns ±3ns,而通常情况下 tPLH/tPHL 延迟时间偏差为 500ps、通道至通道延迟时间偏差为 400ps。
每个接收器将差分输入电平 (|VID|≥ 100mV) 转换为有效的 CMOS 和 TTL 输出电平。其高输入电阻 (≥ 18k) 允许把多个接收器连接至同一个驱动器。接收器输出在被停用时进入一种高阻抗状态。
该器件的保护功能包括热停机和一个受控的最大短路电流 (50mA 最大值),在进入和退出短路模式时不会发生振荡。当器件未通电或被停用时,输入电阻将保持 ≥ 18k,因而允许在背板上进行 LTC1520 的热插拔,并未给数据线加载。
LTC1520 采用单 5V 电源工作,并且仅吸收 12mA 的电源电流。该器件可提供 16 引脚窄体 SO 封装。
应用
- 高速背板接口
- 线路冲突检测器
- 正射极耦合逻辑电平 (PECL) 和低电压差分信号 (LVDS) 线路接收器
- 电平变换器
- 环形振荡器
- 抽头延迟线
参考资料
数据手册 1
可靠性数据 1
设计笔记 1
技术文章 1
视频 2
产品选型卡 2
ADI 始终高度重视提供符合最高质量和可靠性水平的产品。我们通过将质量和可靠性检查纳入产品和工艺设计的各个范围以及制造过程来实现这一目标。出货产品的“零缺陷”始终是我们的目标。查看我们的质量和可靠性计划和认证以了解更多信息。
| 产品型号 | 引脚/封装图-中文版 | 文档 | CAD 符号,脚注和 3D模型 |
|---|---|---|---|
| LTC1520CS#PBF | 16-Lead SOIC (Narrow 0.15 Inch) | ||
| LTC1520CS#TRPBF | 16-Lead SOIC (Narrow 0.15 Inch) |
| 产品型号 | 产品生命周期 | PCN |
|---|---|---|
|
10月 24, 2024 - 24_0246 Migrating Bottom Trace Code Marking to Top Side Laser Marking for SOIC_N Package |
||
| LTC1520CS#PBF | 量产 | |
| LTC1520CS#TRPBF | 量产 | |
|
10月 12, 2022 - 22_0252 Epoxy Change from Henkel 8290 to 8290A for 16-Lead SOIC Package |
||
| LTC1520CS#PBF | 量产 | |
| LTC1520CS#TRPBF | 量产 | |
|
8月 6, 2022 - 22_0173 Laser Top Mark Conversion for SOICN14 and SOICN16 Packages Assembled on ADPG [PNG] |
||
| LTC1520CS#PBF | 量产 | |
| LTC1520CS#TRPBF | 量产 | |
这是最新版本的数据手册
评估套件
最新评论
需要发起讨论吗? 没有关于 LTC1520的相关讨论?是否需要发起讨论?
在EngineerZone®上发起讨论