 
                
                            重磅推荐《新概念模拟电路》全五册,西交大杨教授新作正式上线
                        
ADG1411
量产1.8 Ω最大导通电阻、±15 V/12 V/±5 V、iCMOS®四通道单刀单掷开关
- 产品模型
- 5
概述
- 导通电阻为 1.5 Ω
- 导通电阻平坦度为 0.3 Ω
- 通道间导通电阻匹配度为 0.1 Ω
- 每通道连续电流
    - LFCSP:250 mA
- TSSOP:190 mA
 
- 全定工作电压为 +12 V、±15 V 和 ±5 V
- 不需要 VL 电源
- 3 V 逻辑兼容输入
- 轨到轨操作
- 16 引脚 TSSOP 和 16 引脚 4 mm × 4 mm LFCSP
- AEC-Q100 适用于汽车应用
ADG1411/ADG1412/ADG1413 是单片互补金属氧化物半导体 (CMOS) 套件,包含四个采用 iCMOS® 工艺设计的可独立选择开关。iCMOS(工业 CMOS)是一种将高电压 CMOS 和双极技术结合在一起的模块化制造工艺。它可促进各种高性能模拟 IC 的开发,这些 IC 能以 33 V 电压在前代高电压套件无法实现的封装中运行。与使用传统 CMOS 工艺的模拟 IC 不同,iCMOS 元件可耐受高电源电压,同时提供更高的性能,显著降低功耗并减小封装尺寸。
导通电阻曲线在整个模拟输入范围内非常平坦,可确保在切换信号时实现出色的线性度和低失真度。
iCMOS 构造可确保超低功耗,使套件非常适用于便携式和电池供电仪器。
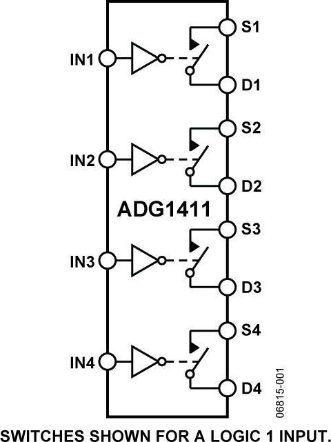
ADG1411/ADG1412/ADG1413 包含四个独立的单刀单掷 (SPST) 开关。ADG1411 和 ADG1412 的区别是它们的数字控制逻辑是反向的。ADG1411 开关在适当控制输入时通过逻辑 0 开启,而 ADG1412 开关通过逻辑 1 开启。ADG1413 具有两个开关,其数字控制逻辑与 ADG1411 相似;另两个开关上的逻辑是反向的。在接通时,各个开关在两个方向上具有同等的良好传导性能,并且其输入信号范围可扩展至电源电压的水平。在断开状态下,达到电源电压水平的信号电平将被阻止。
ADG1413 具有先开后合式开关功能,适用于多路复用器应用。设计中的固有特性是低电荷注入,在开关数字输入时可实现最小瞬变
产品特色
- 在整个温度范围内的最大导通电阻为 2.6 Ω
- 极低失真
- 超低功耗:<0.03 μW
- 16 引脚 TSSOP 和 16 引脚 4 mm × 4 mm LFCSP
应用
- 自动测试设备
- 数据采集系统
- 电池供电系统
- 采样保持系统
- 音频信号路由
- 视频信号路由
- 通信系统
- 继电器替代方案
参考资料
数据手册 1
用户手册 1
信息 1
产品选型指南 1
模拟对话 1
ADI 始终高度重视提供符合最高质量和可靠性水平的产品。我们通过将质量和可靠性检查纳入产品和工艺设计的各个范围以及制造过程来实现这一目标。出货产品的“零缺陷”始终是我们的目标。查看我们的质量和可靠性计划和认证以了解更多信息。
| 产品型号 | 引脚/封装图-中文版 | 文档 | CAD 符号,脚注和 3D模型 | 
|---|---|---|---|
| ADG1411WBCPZ-REEL | 16-Lead LFCSP (4mm x 4mm w/ EP) | ||
| ADG1411YCPZ-REEL | 16-Lead LFCSP (4mm x 4mm w/ EP) | ||
| ADG1411YCPZ-REEL7 | 16-Lead LFCSP (4mm x 4mm w/ EP) | ||
| ADG1411YRUZ | 16-Lead TSSOP | ||
| ADG1411YRUZ-REEL7 | 16-Lead TSSOP | 
| 产品型号 | 产品生命周期 | PCN | 
|---|---|---|
| 2月 18, 2020 - 20_0025 ADG1411WBCPZ-REEL Assembly Site Transfer and Datasheet Specification Changes. | ||
| ADG1411WBCPZ-REEL | 量产 | |
| 5月 4, 2016 - 14_0178 Conversion of 3x3mm, 4x4mm and 5x5mm LFCSP Package Outlines from Punch to Sawn and Transfer of Assembly Site to Amkor Philippines | ||
| ADG1411WBCPZ-REEL | 量产 | |
| ADG1411YCPZ-REEL | 量产 | |
| ADG1411YCPZ-REEL7 | 量产 | |
| 2月 15, 2010 - 07_0061 LFCSP Package Manufacturing Line Transfer from Amkor Korea to Amkor PRC | ||
| ADG1411YCPZ-REEL | 量产 | |
| ADG1411YCPZ-REEL7 | 量产 | |
| 11月 16, 2009 - 06_0157 Qualification of the 8" H6 Thin Film BiPolar Wafer Fab Process at Analog Devices, Limerick, Ireland | ||
| ADG1411YCPZ-REEL | 量产 | |
| ADG1411YCPZ-REEL7 | 量产 | |
| ADG1411YRUZ | 量产 | |
| ADG1411YRUZ-REEL7 | 量产 | |
| 1月 27, 2009 - 09_0013 Changes to Idd Specifications on ADG12xx, ADG14xx and ADG13xx datasheets | ||
| ADG1411YCPZ-REEL | 量产 | |
| ADG1411YCPZ-REEL7 | 量产 | |
| ADG1411YRUZ | 量产 | |
| ADG1411YRUZ-REEL7 | 量产 | |
| 4月 5, 2021 - 21_0035 Amkor Philippines as an Alternate Site for TSSOP_4.4 | ||
| ADG1411YRUZ | 量产 | |
| ADG1411YRUZ-REEL7 | 量产 | |
| 1月 20, 2012 - 11_0218 Halogen Free Material Change for Certain TSSOP Products at Carsem | ||
| ADG1411YRUZ | 量产 | |
| ADG1411YRUZ-REEL7 | 量产 | |
这是最新版本的数据手册
软件资源
找不到您所需的软件或驱动?
申请驱动/软件硬件生态系统
| 部分模型 | 产品周期 | 描述 | 
|---|---|---|
| ADG5412 | 推荐用于新设计 | 高压防闩锁型四通道SPST开关 | 
工具及仿真模型
LTspice
LTspice中提供以下器件型号:
- ADG1411
SPICE 模型 1
LTspice®是一款强大高效的免费仿真软件、原理图采集和波形观测器,为改善模拟电路的仿真提供增强功能和模型。
评估套件
最新评论
需要发起讨论吗? 没有关于 ADG1411的相关讨论?是否需要发起讨论?
在EngineerZone®上发起讨论 
                             
                                 
                                                 
                                                