AD5675

量产

内置I2C接口的八通道、16位NANODAC+

产品技术资料帮助

ADI公司所提供的资料均视为准确、可靠。但本公司不为用户在应用过程中侵犯任何专利权或第三方权利承担任何责任。技术指标的修改不再另行通知。本公司既没有含蓄的允许,也不允许借用ADI公司的专利或专利权的名义。本文出现的商标和注册商标所有权分别属于相应的公司。

Viewing:

概述

  • 高性能
    • 高相对精度(INL):16位时最大±3 LSB
    • 总不可调整误差(TUE):±0.14% FSR最大值
    • 失调误差:±1.5 mV(最大值)
    • 增益误差:±0.06% FSR最大值
  • 宽工作范围
    • 温度范围:−40°C至+125°C
    • 2.7 V至5.5 V电源
  • 易于实现
    • 用户可选增益:1或2(GAIN引脚)
    • 1.8 V逻辑兼容
  • I2C兼容型串行接口
    • 鲁棒的HBM(额定值为2 kV)和FICDM ESD(额定值为1.5 kV)性能
    • 20引脚TSSOP封装,符合RoHS标准

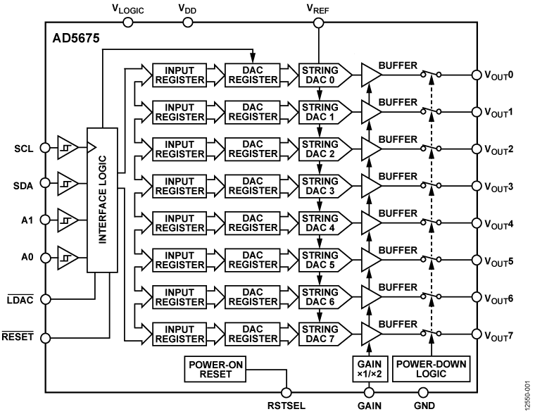
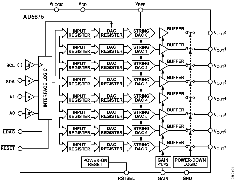
AD5675是一款低功耗、八通道、16位缓冲电压输出数模转换器(DAC)。 内置增益选择引脚,满量程输出为VREF(增益 = 1)或2 x VREF(增益 = 2)。 采用2.7 V至5.5 V单电源供电,通过设计保证单调性。 AD5675采用20引脚TSSOP封装。 上电复位电路和RSTSEL引脚确保输出DAC上电至零电平或中量程,直到执行一次有效的写操作为止。 AD5675具有关断模式,此模式下的功耗典型值可降至1 μA。 AD5675采用多功能双线式串行接口,时钟速率高达400 kHz,包含一个为1.8 V至5 V逻辑电平准备的VLOGIC引脚。

应用

  • 光收发器
  • 基站功率放大器
  • 过程控制(PLC输入/输出卡)
  • 工业自动化
  • 数据采集系统

AD5675
内置I2C接口的八通道、16位NANODAC+
AD5675 Functional Block Diagram AD5675 pin configuration
添加至 myAnalog

将产品添加到myAnalog 的现有项目或新项目中(接收通知)。

创建新项目
提问

参考资料

了解更多
添加至 myAnalog

Add media to the Resources section of myAnalog, to an existing project or to a new project.

创建新项目

软件资源


硬件生态系统

部分模型 产品周期 描述
基准电压源 3
ADR425 量产 超精密、低噪声、5.00 V XFET® 基准电压源
ADR431 量产 超低噪声XFET基准电压源,具有吸电流和源电流能力
ADR435 量产 超低噪声XFET基准电压源,具有吸电流和源电流能力
线性稳压器 1
ADP7102 推荐用于新设计 20 V、300 mA低噪声CMOS LDO
Modal heading
添加至 myAnalog

将产品添加到myAnalog 的现有项目或新项目中(接收通知)。

创建新项目

工具及仿真模型

LTspice


LTspice中提供以下器件型号:

  • AD5675R

精密DAC误差预算工具

精密DAC误差预算工具是一种Web应用程序,用于计算精密DAC信号链的直流精度。它可显示整个信号链中的静态误差状况,以快速评估设计利弊。可计算由基准电压源、运算放大器和精密DAC引起的直流误差。

打开工具

IBIS 模型 1

LTspice

LTspice®是一款强大高效的免费仿真软件、原理图采集和波形观测器,为改善模拟电路的仿真提供增强功能和模型。


评估套件

eval board
EVAL-AD5675RARDZ

评估 AD5675R(I2C,TSSOP)

特性和优点

  • 适用于 AD5675R (I2C) 的功能完备的评估板
  • 多种连接选项
  • PC 控制配合 ADI 公司的控制板 EVALSDP-CK1Z (SDP-K1) 一起使用

产品详情

该用户指南详细介绍了 EVAL-AD5675RARDZ(I2C)评估板和 EVAL-AD5676R2ARDZ(串行外设接口 (SPI))评估板的操作,分别用于 AD5675R(TSSOP、I2C)和 AD5676R(TSSOP、SPI),它们都是八通道、电压输出数模转换器(DAC)。

EVAL-AD5675RARDZ 和 EVAL-AD5676R2ARDZ 评估板旨在帮助快速完成 AD5675R 或 AD5676R 电路的原型设计,从而缩短设计时间。两个设备均由 2.7 V 至 5.5 V 单电源供电。此外,这些设备都具有内部 2.5 V 基准电压。如果需要,可以通过 EXT_REF SMB 连接器应用不同的基准电压(VREF)。虽然具有一些共同的特征,但是这两款 DAC 数字接口协议有所不同。AD5676R 采用 SPI,而 AD5675R 采用 I2C。

EVAL-AD5675RARDZ 和 EVAL-AD5676R2ARDZ 评估板通过系统演示平台(SDP)控制器板 (EVAL-SDP-CK1Z (SDP-K1)) 连接至 PC 的 USB 端口。分析 | 控制 | 评估(ACE)软件可从 EVAL-AD5675RARDZ 产品页面和 EVAL-AD5676R2ARDZ 产品页面下载。该软件可与评估板一起使用,允许用户分别对 AD5675R 和 AD5676R 进行编程。还提供 PMOD 连接,以允许将微控制器连接到任一评估板。请注意,通过 PMOD 连接方法使用微控制器时,必须断开 EVAL-SDP-CK1Z (SDP-K1) 板,且用户无法使用 ACE 软件。

EVAL-AD5675RARDZ 和 EVAL-AD5676R2ARDZ 都需要 EVAL-SDP-CK1Z(SDP-K1)控制器板,可从 ADI 公司购买。有关 AD5675R 和 AD5676R, 的完整详情,请参见 AD5675R 和 AD5676R 数据手册,使用 EVALAD5675RARDZ 或 EVAL-AD5676R2ARDZ 评估板时,必须同时参阅该用户指南与数据手册。

eval board
EVAL-AD5675

AD5675和AD5676R评估板

特性和优点

  • AD5675/AD5675R的全功能评估板
  • 各种链路选项
  • PC控制结合ADI的EVAL-SDP-CB1Z系统演示平台(SDP)

产品详情

EVAL-AD5675SDZ/EVAL-AD5675RSDZ评估板可帮助客户快速进行新型AD5675/ AD5675R电路原型制作,并缩短设计时间。 AD5675/AD5675R采用2.7 V至5.5 V单电源供电。 AD5675R内置一个2.5 V基准电压源,最大输出电压为2.5 V至5 V。AD5675不包含内部基准电压源。因此,ADR431可作为2.5 V片内基准电压源。 如果需要,通过EXT_REF SMB连接器可施加不同的基准电压。

ADI的AD5675/AD5675R相应数据手册上提供有关该器件的完整数据,使用评估板时,应同时参阅数据手册和本用户指南。

评估板通过SDP板与PC的USB端口连接。 软件与评估板一同提供,便于用户设置AD5675/AD5675R。

此评估板与EVAL-SDP-CB1Z Blackfin® SDP控制器板(SDP-B)兼容,后者可在ADI网站上订购:www.analog.com。

EVAL-AD5675RARDZ
评估 AD5675R(I2C,TSSOP)
EVAL-AD5675RADRZ/EVAL-AD5676RADRZ Board Photo EVAL-AD5675RARDZ Board Photo Angle View EVAL-AD5675RARDZ Board Photo Top View EVAL-AD5675RARDZ Board Photo Bottom View
EVAL-AD5675
AD5675和AD5676R评估板
EVAL-AD5675SDZ_5675RSDZ Image

最新评论

需要发起讨论吗? 没有关于 AD5675的相关讨论?是否需要发起讨论?

在EngineerZone®上发起讨论

近期浏览