ADXRS450

RECOMMENDED FOR NEW DESIGNS

±300°/sec High Vibration Immunity Digital Gyro

Viewing:

Overview

  • Complete rate gyroscope on a single chip
  • ±300°/sec angular rate sensing
  • High vibration rejection over a wide frequency range
  • Excellent 25°/hour null offset stability
  • 2000 g powered shock survivability
  • SPI digital output with 16-bit data-word
  • Low noise and low power
  • 3.3 V and 5 V operation
  • -40°C to +105°C operation
  • Ultra small, light, and RoHS compliant
  • Two package options:
    • Low cost SOIC_CAV package for yaw rate (Z-axis) response
    • Innovative ceramic vertical mount package, which can be oriented for pitch, roll, or yaw response

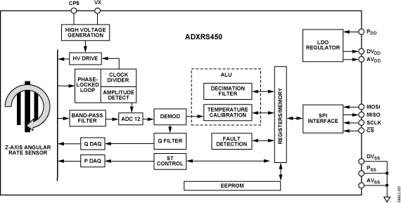
The ADXRS450 is an angular rate sensor (gyroscope) intended for industrial, medical, instrumentation, stabilization, and other high performance applications. An advanced, differential, quad sensor design rejects the influence of linear acceleration, enabling the ADXRS450 to operate in exceedingly harsh environments where shock and vibration are present.

The ADXRS450 uses an internal, continuous self-test architecture. The integrity of the electromechanical system is checked by applying a high frequency electrostatic force to the sense structure to generate a rate signal that can be differentiated from the baseband rate data and internally analyzed.

The ADXRS450 is capable of sensing angular rate of up to ±300°/sec. Angular rate data is presented as a 16-bit word, as part of a 32-bit SPI message.

The ADXRS450 is available in a cavity plastic 16-lead SOIC (SOIC_CAV) and an SMT-compatible vertical mount package (LCC_V), and is capable of operating across both a wide voltage range (3.3 V to 5 V) and temperature range (−40°C to +105°C).

APPLICATIONS

  • Rotation sensing medical applications
  • Rotation sensing industrial and instrumentation
  • High performance platform stabilization

ADXRS450
±300°/sec High Vibration Immunity Digital Gyro
ADXRS450-fbl ADXRS450-pc
Add to myAnalog

Add product to the Products section of myAnalog (to receive notifications), to an existing project or to a new project.

Create New Project
Ask a Question

Documentation

Learn More
Add to myAnalog

Add media to the Resources section of myAnalog, to an existing project or to a new project.

Create New Project

Software Resources


Evaluation Kits

eval board
EVAL-ADXRS450Z

ADXRS450Z Evaluation Board

Product Details

The EVAL-ADXRS450Z is a simple breakout board that enables easy connection of an ADXRS450 into an existing system. The ADXRS450 is a digital-output, single-axis gyroscope with built-in temperature calibration.

The ADXRS450 is available in two packages: an SOIC package for yaw-axis rate sensing, and a vertical-mount package (VMP) for pitch- or roll-axis sensing. In applications requiring multi-axis sensing, the innovative VMP greatly simplifies assembly by eliminating the need for additional boards mounted at 90°. Breakout boards are available for the ADXRS450 in both packages, as listed in the Ordering Guide below.


Due to its small size and stiff PCB, the EVAL-ADXRS450Z has minimal effect on performance of the system and of the gyroscope, and thus it is ideal for evaluation of the ADXRS450 in an existing system. Note that the ADXRS450 requires digital communication via SPI. No processor is included with the EVAL-ADXRS450Z; firmware must be supplied externally by the user. For an evaluation system that includes a processor, please see the EVAL-ADXRS450Z-M.

eval board
EVAL-MST-ISEB

Real Time Eval System for Digital Output Sensor

Product Details

The iMEMS® Real Time Eval System is an easy-to-use evaluation tool targeting bench or desktop characterization of Analog Devices, Inc., inertial sensor products. The system consists of the inertial sensor evaluation board (ISEB), or main board, and a satellite board for any Analog Devices inertial sensor product. The ISEB connects directly to a PC via an USB cable, with the USB connection providing both communications and power to the board. The ISEB is connected to the satellite board through a ribbon cable. This cable allows the satellite to be easily manipulated for testing or separately placed into an environmental chamber for temperature or humidity testing. Separating the boards mitigates corruption of data due to the temperature and humidity effects of other components.

The ISEB is an universal main board and is intended to be used with various satellites of Analog Devices inertial sensors, including analog and digital accelerometers, as well as gyroscopes. The different products are evaluated by means of separate GUIs that are customized for performance and characterization measurements relevant to the inertial sensor being evaluated.

The EVAL-ADxZ-M system contains the ISEB and the EVAL-ADxZ-S satellite. Also included is an USB A to Mini-B cable to connect the ISEB to a PC and an 18-inch, 20-pin ribbon cable to connect the ISEB to the satellite.

Resources

Software

EVAL-ADXRS450Z
ADXRS450Z Evaluation Board
EVAL-MST-ISEB
Real Time Eval System for Digital Output Sensor
ADXL34x-ISEB Evaluation Board

Latest Discussions

Recently Viewed