PHY1075

预发布

125Mbps至4.25Gbps激光驱动器/后置放大器,带有数字诊断功能

可编程4.25G激光r收发器

产品技术资料帮助

ADI公司所提供的资料均视为准确、可靠。但本公司不为用户在应用过程中侵犯任何专利权或第三方权利承担任何责任。技术指标的修改不再另行通知。本公司既没有含蓄的允许,也不允许借用ADI公司的专利或专利权的名义。本文出现的商标和注册商标所有权分别属于相应的公司。

Viewing:

概述

  • 支持125Mbps至4.25Gbps范围内的多个速率
  • 激光驱动器输出级,70mA (最大值)调制驱动电流和100mA偏置电流
  • 可编程平均功率控制环路
  • 温度补偿调制电流
  • 集成限幅放大器,可选择CML输出摆幅
  • 可编程接收器低通滤波器
  • 集成LOS功能
  • 利用外部MCU支持兼容于SFF-8472的数字诊断模式
  • 独立工作模式,从外部EEPROM加载器件参数
  • -40°C至+95°C工作环境温度范围
  • 6mm x 6mm、36引脚QFN封装
  • 视觉安全逻辑

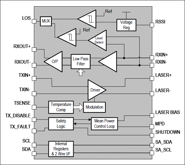
PHY1075-01组合了激光驱动器和限幅放大器,支持数字诊断监测,适用于光纤通道、GbE和SONET/SDH应用的小外形模块。发送器集成了高速输出级,提供可编程偏置电流和调制电流,通过2线串口控制。平均功率控制环路支持共阳极配置。器件包含信号丢失(LOS)检测器,根据接收器光电探测器的平均电流或所接收信号的调制幅度进行检测。当器件工作于数字诊断模式时,集成A/D转换器所测量的温度、Tx偏置电流、供电电压、Rx信号强度和平均功率均可通过2线串口读取。利用外部微控制器单元(MCU)校准实时诊断监测器和报警发生功能。

应用

  • 1x、2x、4x光纤通道
  • 吉比特以太网、SONET/SDH
  • OC-3、OC-12、OC-48

PHY1075
125Mbps至4.25Gbps激光驱动器/后置放大器,带有数字诊断功能
PHY1075: Outline Block Diagram
添加至 myAnalog

将产品添加到myAnalog 的现有项目或新项目中(接收通知)。

创建新项目
提问

参考资料

了解更多
添加至 myAnalog

Add media to the Resources section of myAnalog, to an existing project or to a new project.

创建新项目

最新评论

需要发起讨论吗? 没有关于 PHY1075的相关讨论?是否需要发起讨论?

在EngineerZone®上发起讨论

近期浏览