MAX98396

量产

20V、数字输入、DG类放大器,具有I/V检测和防掉电功能

业界唯一、可支持宽电源供电范围的DG类放大器,具有超低Iq,适用于超声应用

产品技术资料帮助

ADI公司所提供的资料均视为准确、可靠。但本公司不为用户在应用过程中侵犯任何专利权或第三方权利承担任何责任。技术指标的修改不再另行通知。本公司既没有含蓄的允许,也不允许借用ADI公司的专利或专利权的名义。本文出现的商标和注册商标所有权分别属于相应的公司。

Viewing:

概述

  • 较宽的输入电压范围(3.0V至20V)
  • DG类放大器架构实现业界领先的超低静态功耗
    • 12.7mW @ VPVDD = 12V,VVBAT = 3.8V
    • 18mW @ VPVDD = 19V,VVBAT = 5.0V
  • 超低噪底
    • 15.5μVRMS输出噪声
    • 118dB动态范围
  • 低失真
    • -82dB THD+N @ 1W,8Ω负载,f = 1kHz
    • -76dB THD+N @ 1W,8Ω负载,f = 6kHz
  • 1% THD+N时,输出功率:
    • 20W @ 8Ω负载,VPVDD = 19V
    • 19W @ 4Ω负载,VPVDD = 14V
  • 可为4Ω扬声器提供60W输出功率(VPVDD = 19V)
  • 扬声器放大器工作效率:
    • 87% @ 1W (8Ω负载,VPVDD = 12V,VVBAT = 3.8V)
    • 83% @ 1W (4Ω负载,VPVDD = 12V,VVBAT = 3.8V)
    • 83% @ 1W (8Ω负载,VPVDD = 19V,VVBAT = 5.0V)
    • 91% @ 20W(8Ω负载,VPVDD = 19V,VVBAT = 5.0V)
  • EMI抑制可省去D类放大器输出滤波器
  • 扩频调制
  • 开关摆率限制
  • 集成扬声器电流和电压检测,无需外部检测元件
  • 灵活的防掉电引擎
  • I2S/16通道TDM和I2C数字接口
  • 回放支持16、24和32位数据字
  • 为回放和IV检测提供高达192kHz的采样率
  • 动态裕量跟踪保证一致的视听体验
  • 全面的咔嗒/噼噗声抑制
  • 35焊球、WLP封装(0.4mm焊距)

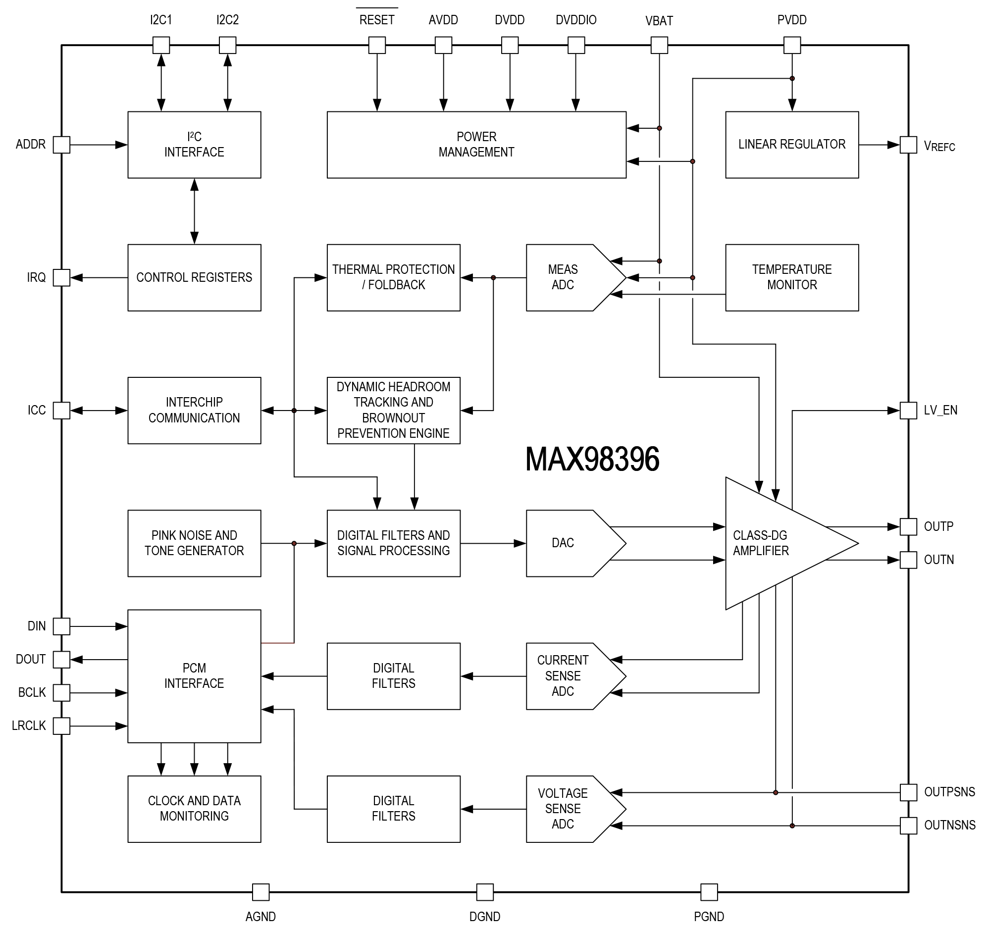
MAX98396为高效、单声道DG类扬声器放大器,具有业界领先的超低静态功耗,提供I/V检测、防掉电引擎(BPE)和动态裕量跟踪(DHT)。这款IC具有高达192kHz采样率、较宽的通带(fs > 50kHz),以及允许超声信号通过放大器的超声旁路通道,使其不会因为音频处理而衰减,非常适合超声应用。对输出电流和电压的高精度监测(I/V检测)用于支持主机器件运行扬声器保护算法。扩频调制(SSM)和摆率控制最大程度地降低EMI,省去了传统D类放大器中普遍使用的输出滤波器。

为实现业界领先的超低静态功耗,DG类放大器采用两个供电电源轨,VBAT (3V至5.5V)和PVDD (3V至20V),为扬声器放大器供电。DG类放大器根据输入信号电平和/或电源裕量,在两个电源之间自动切换。当器件电源下降到低于一组可编程门限时,器件内部的防掉电引擎通过衰减或限制放大器输出功率而降低其对总体系统功耗的影响。此外,如果由于瞬态负载或电池工作时间而导致电源电压下降,DHT可自动优化DG类放大器的工作裕量,保持一致的信号失真和音量。

器件为音频数据提供PCM接口,标准I2C接口则用于传输控制数据。PCM接口支持音频回放,可采用I2S、左对齐和TDM音频数据格式。独特的时钟结构省去了PCM通信中采用的外部主控时钟,有利于减少引脚数量、简化电路板布局。使能自动热折返保护,可在温度超过用户设置的限值时自动降低输出功率,由此,即使在较高的环境温度下也能不间断地播放音乐。除了可靠的过流保护外,器件还提供传统的热保护功能。

器件采用0.4mm焊距、35焊球晶圆级封装(WLP)。器件工作在-40°C至+85°C扩展级温度范围。

应用

  • 手机扬声器
  • 智能扬声器
  • 智能IoT
  • 平板电脑
  • 笔记本电脑
  • 条形音箱

MAX98396
20V、数字输入、DG类放大器,具有I/V检测和防掉电功能
MAX98396 Block Diagram MAX98396 Simplified Block Diagram MAX98396 Pin Configuration
添加至 myAnalog

将产品添加到myAnalog 的现有项目或新项目中(接收通知)。

创建新项目
提问

参考资料

了解更多
添加至 myAnalog

Add media to the Resources section of myAnalog, to an existing project or to a new project.

创建新项目

软件资源


评估套件

MAX98396EVSYS

MAX98396 评估系统

特性和优点

  • 完备的硬件系统,设置简单、无需工具或特殊设备
  • 评估软件兼容Windows® 7/10,提供易于使用的图形用户界面(GUI)
    • 可完全访问所有硬件寄存器

产品详情

MAX98396评估系统(EV系统)用于评估MAX98396单声道、D类音频放大器,MAX98396具有动态裕量跟踪(DHT)以及时钟和数据监测功能。评估系统包括MAX98396评估板(DEV电路板)、Maxim的音频接口III (AUDINT3)电路板、micro-USB电缆,以及MAX98396评估软件。

建议采用AUDINT3电路板配合DEV电路板一起使用,作为评估系统。MAX98396支持标准I22S、左对齐和TDM数字音频接口,以及用于控制的I2C接口。

除了评估DEV电路板所需的1.8V AVDD电源和1.2V DVDD及DVDDIO电源外,AUDINT3电路板还提供USB至PCM和USB至I2C接口。IC DEV电路板需要两路额外的电源输入:3V至5.5V (VBAT)和3V至20V (PVDD)。图1所示为DEV电路板和AUDINT3电路板细节。

应用

  • 笔记本电脑
  • 便携式扬声器
  • 智能IoT
  • 智能扬声器
  • 条形音箱
  • 平板电脑

MAX98396EVSYS
MAX98396 评估系统

最新评论

需要发起讨论吗? 没有关于 MAX98396的相关讨论?是否需要发起讨论?

在EngineerZone®上发起讨论

近期浏览