MAX5514

製造中止

デュアル、超低電力、8ビット、電圧出力DAC

1.8V電源で動作する業界初の超低電力DAC

利用上の注意

本データシートの英語以外の言語への翻訳はユーザの便宜のために提供されるものであり、リビジョンが古い場合があります。最新の内容については、必ず最新の英語版をご参照ください。

なお、日本語版のデータシートは基本的に「Rev.0」(リビジョン0)で作成されています。そのため、英語版が後に改訂され、複数製品のデータシートがひとつに統一された場合、同じ「Rev.0」の日本語版のデータシートが異なる製品のデータシートとして表示されることがあります。たとえば、「ADM3307E」の場合、日本語データシートをクリックすると「ADM3311E」が表示されます。これは、英語版のデータシートが複数の製品で共有できるように1本化され、「ADM3307E/ADM3310E/ADM3311E/ADM3312E/ADM3315E」(Rev.J)と改訂されたからで、決して誤ってリンクが張られているわけではありません。和文化されたデータシートを少しでも有効に活用していただくためにこのような方法をとっておりますので、ご了解ください。

アナログ・デバイセズ社は、提供する情報が正確で信頼できるものであることを期していますが、その情報の利用に関して、あるいはその利用によって生じる第三者の特許やその他の権利の侵害に関して一切の責任を負いません。また、アナログ・デバイセズ社の特許または特許の権利の使用を明示的または暗示的に許諾するものでもありません。仕様は予告なしに変更する場合があります。本紙記載の商標および登録商標は、各社の所有に属します。

Viewing:

製品情報

  • 超低消費電流:5µA
  • シャットダウンモードの消費電流:0.18µA (max)
  • 単一電源:+1.8V~+5.5V
  • 小型、4mm x 4mm x 0.8mmのThin QFNパッケージ
  • 内蔵リファレンスの供給可能電流:8mA (MAX5513/MAX5515)
  • フレキシブルなフォース/センス構成のレイルトゥレイル出力バッファ
  • 高速16MHz、3線SPI/QSPI/MICROWIRE対応シリアルインタフェース
  • TTLおよびCMOS対応ヒステリシス付きディジタル入力
  • 電源投入時のグリッチフリー出力
  • EVキット入手可能

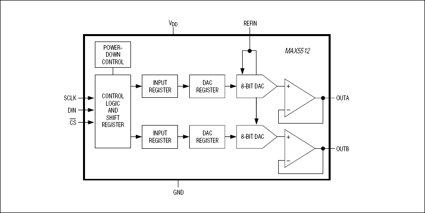
MAX5512~MAX5515は、レイルトゥレイルのバッファされた電圧出力を提供するデュアル、8ビット、超低電力、電圧出力、ディジタル-アナログコンバータ(DAC) です。これらのDACは、1.8V~5.5V電源で動作し、消費電流が5µA以下であるため、低電力、低電圧のアプリケーションに適しています。シャットダウンモードでは、リファレンス入力電流を含む全電流がわずか0.18µAに減少します。MAX5512~MAX5515では、SPI™、QSPI™、およびMICROWIRE™に対応した3線シリアルインタフェースが使用されます。電源投入時には、MAX5512~MAX5515の出力がゼロスケールに駆動されるため、バルブを駆動するアプリケーションや、電源投入中にオフ状態でなければならないトランスデューサなどの安全性が向上します。ゼロスケール出力によって、グリッチのない電源投入が可能になります。

MAX5512は、外部リファレンス入力で動作し、ユニティゲイン出力を発生します。MAX5513は、高精度リファレンスを内蔵しており、バッファされた外部リファレンス出力とユニティゲインDAC出力を備えています。MAX5514は、外部リファレンス入力で動作し、フォース/センス出力を供給します。MAX5515は、高精度リファレンスを内蔵しており、バッファされた外部リファレンス出力とフォース/センスDAC出力を備えています。MAX5514/MAX5515は、4mm x 4mm x 0.8mmの12ピン、薄型QFNパッケージで提供されます。MAX5512/MAX5513は、8ピン、µMAX®パッケージで提供されます。すべてのデバイスは、-40℃~+85℃の拡張温度範囲での動作が保証されています。10ビット対応の製品については、MAX5522~MAX5525のデータシートを参照してください。12ビット対応の製品については、MAX5532~MAX5535のデータシートを参照してください。

アプリケーション

  • 工場出荷時または出荷後自動トリミングおよびキャリブレーション
  • 工場出荷時または出荷後自動トリミングおよびキャリブレーション
  • ガスモニタ用化学センサセルバイアス
  • 産業用機器
  • 産業用プロセス制御および遠隔産業機器
  • 計測
  • ポータブルバッテリ駆動機器
  • プログラマブルLCDバイアス
  • プログラマブル電圧および電流源
  • 遠隔データ変換および監視

MAX5514
デュアル、超低電力、8ビット、電圧出力DAC
MAX5512、MAX5513、MAX5514、MAX5515:ファンクションブロックダイアグラム
myAnalogに追加

myAnalogの製品セクション(通知受け取り)、既存/新規プロジェクトに製品を追加する。

新規プロジェクトを作成
質問する
サポート

アナログ・デバイセズのサポート・ページはアナログ・デバイセズへのあらゆるご質問にお答えするワンストップ・ポータルです。


ドキュメント

さらに詳しく
myAnalogに追加

myAnalogのリソース・セクション、既存/新規プロジェクトにメディアを追加する。

新規プロジェクトを作成

ソフトウェア・リソース

必要なソフトウェア/ドライバが見つかりませんか?

ドライバ/ソフトウェアをリクエスト

ハードウェア・エコシステム

製品モデル 製品ライフサイクル 詳細
D/Aコンバータ(DAC) 2
MAX5522 製造中 デュアル、超低電力、10ビット、電圧出力DAC
MAX5532 製造中 デュアル、超低電力、12ビット、電圧出力DAC
Modal heading
myAnalogに追加

myAnalogの製品セクション(通知受け取り)、既存/新規プロジェクトに製品を追加する。

新規プロジェクトを作成

評価用キット

MAX5535EVKIT

MAX5535の評価キット

機能と利点

  • 広い電源範囲:1.8V~5.5V
  • USBによるPC接続(ケーブル付属)
  • USB給電
  • 鉛フリー、RoHS準拠
  • 4ピン信号ヘッダ
  • スルーホール用利得設定抵抗の取り付け可能
  • SPI™インタフェース用端子
  • オプションの2.5Vリファレンス(MAX6126)を搭載
  • 実証済みのPCBレイアウト
  • 完全実装および試験済み

製品詳細

MAX5535の評価キット(EVキット)は、デュアル、12ビットDACのMAX5535を評価するための実証済みのデザインを提供します。また、このEVキットは、Windows® 2000/XP対応のソフトウェアも同梱され、MAX5535の各機能を実行するための分かりやすいグラフィカルユーザインタフェース(GUI)を提供します。

MAX5535のEVキットのPCBは、MAX5535ETC+がセットで実装されています。ピン互換のMAX553_ETC+、MAX552_ETC+、またはMAX551_ETC+デバイスの無料サンプルについては、お問い合わせください。このハードウェアとソフトウェアは、これらのデバイスの評価もサポートしています。

アプリケーション

  • 工場出荷時または出荷後自動トリミングおよびキャリブレーション
  • ガスモニタ用化学センサセルバイアス
  • 産業用機器
  • 産業用プロセス制御および遠隔産業機器
  • 計測
  • ポータブルバッテリ駆動機器
  • プログラマブルLCDバイアス
  • プログラマブル電圧および電流源
  • 遠隔データ変換および監視

MAX5535EVKIT
MAX5535の評価キット

最新のディスカッション

MAX5514に関するディスカッションはまだありません。意見を投稿しますか?

EngineerZone®でディスカッションを始める

最近表示した製品