LTC3677-3

RECOMMENDED FOR NEW DESIGNS

Highly Integrated Portable Product PMIC

Viewing:

Overview

  • Full Featured Li-Ion/Polymer Charger/PowerPath Controller with Instant-On Operation
  • Triple Adjustable High Efficiency Step-Down Switching Regulators (800mA, 500mA, 500mA IOUT)
  • I2C Adjustable SW Slew Rates for EMI Reduction
  • High Temperature Battery Voltage Reduction Improves Safety and Reliability
  • Overvoltage Protection Controller for USB (VBUS)/Wall Inputs Provide Protection to 30V
  • 1.5A Maximum Charge Current with Thermal Limiting
  • Battery Float Voltage: 4.2V
  • Pushbutton ON/OFF Control with System Reset
  • Dual 150mA Current Limited LDOs
  • Start-Up Timing Compatible with SiRF Atlas IV Processor
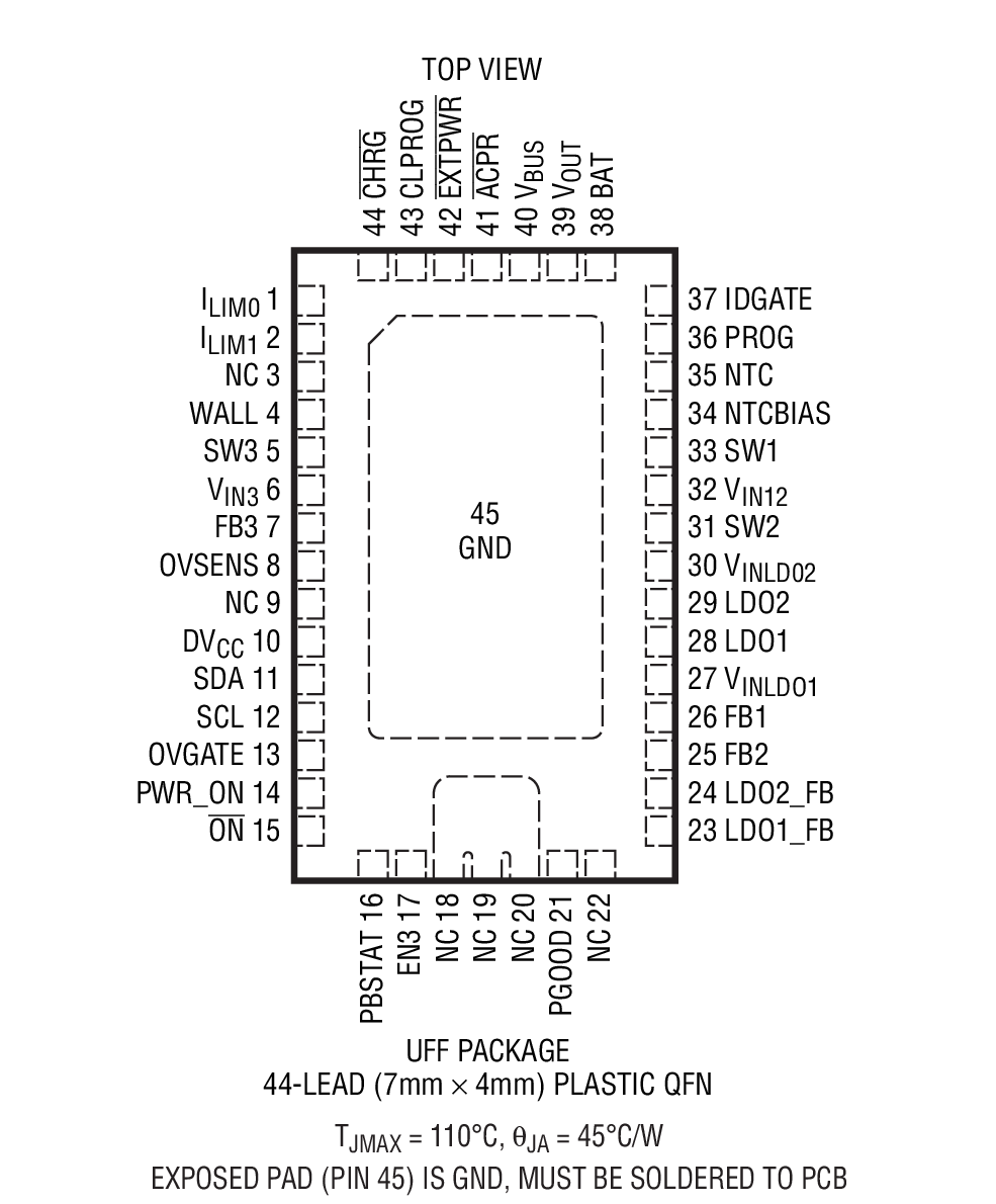
  • Small 4mm × 7mm 44-Pin QFN Package

The LTC3677-3 is a highly integrated power management IC for single-cell Li-Ion/Polymer battery applications. It includes a PowerPath manager with automatic load prioritization, a battery charger, an ideal diode, input overvoltage protection and numerous other internal protection features. The LTC3677-3 is designed to accurately charge from current limited supplies such as USB by automatically reducing charge current such that the sum of the load current and the charge current does not exceed the programmed input current limit (100mA or 500mA modes). The LTC3677-3 reduces the battery voltage at elevated temperatures to improve safety and reliability. The three step-down switching regulators and two LDOs provide a wide range of available supplies. The LTC3677-3 also includes a pushbutton input to control power sequencing and system reset. The LTC3677-3 has pushbutton timing and sequencing designed to support the SiRF Atlas IV processor. The LTC3677-3 is available in a low profile 4mm × 7mm × 0.75mm 44-pin QFN package.

Applications

  • PNDs, DMB/DVB-H, Digital/Satellite Radio, Media Players
  • Portable Industrial/Medical Products
  • Other USB-Based Handheld Products

LTC3677-3
Highly Integrated Portable Product PMIC
High Temperature BAT Discharge Product Package 1
Add to myAnalog

Add product to the Products section of myAnalog (to receive notifications), to an existing project or to a new project.

Create New Project
Ask a Question

Documentation

Data Sheet

This is the most up-to-date revision of the Data Sheet.

Learn More
Add to myAnalog

Add media to the Resources section of myAnalog, to an existing project or to a new project.

Create New Project

Software Resources

Can't find the software or driver you need?

Request a Driver/Software

Hardware Ecosystem

Parts Product Life Cycle Description
Analog to Digital Converters (ADCs) 1
LTC2991 RECOMMENDED FOR NEW DESIGNS Octal I2C Voltage, Current, and Temperature Monitor
Battery Monitors & Fuel Gauges 1
LTC2942 NOT RECOMMENDED FOR NEW DESIGNS Battery Gas Gauge with Temperature, Voltage Measurement
Protection Switches & Controllers 2
LTC4362-1
LTC4362-2
1.2A Overvoltage/Overcurrent Protector
LTC2955 RECOMMENDED FOR NEW DESIGNS Pushbutton On/Off Controller with Automatic Turn-On
Modal heading
Add to myAnalog

Add product to the Products section of myAnalog (to receive notifications), to an existing project or to a new project.

Create New Project

Latest Discussions

No discussions on LTC3677-3 yet. Have something to say?

Start a Discussion on EngineerZone®

Recently Viewed