MAX31826

PRODUCTION

1-Wire Digital Temperature Sensor with 1Kb Lockable EEPROM

Digital Temperature Sensor with 1Kb of EEPROM Saves Space and Eases Design of Multisensor Systems

Viewing:

Overview

  • Unique 1-Wire Interface Requires Only One Port Pin for Communication
  • Integrated Temperature Sensor and EEPROM Reduce Component Count
    • Measures Temperatures from -55°C to +125°C (-67°F to +257°F)
    • ±0.5°C Accuracy from -10°C to +85°C
    • 12-Bit Temperature Resolution (0.0625°C)
    • 1Kb EEPROM Can Be Locked to Prevent Further Writes
  • Multidrop Capability Simplifies Multisensor Systems
    • Each Device Has a Unique 64-Bit Serial Code Stored in On-Board ROM
    • Four Pin-Programmable Bits to Uniquely Identify Up to 16 Sensor Locations on a Bus
  • Can Be Powered from Data Line (3.0V to 3.7V Power-Supply Range)
  • 8-Pin µMAX® and TDFN Packages

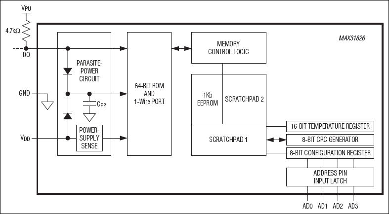
The MAX31826 digital thermometer provides 12-bit temperature measurements and communicates over a 1-Wire® bus that by definition requires only one data line (and ground) for communication with a central microcontroller. It has a -55°C to +125°C operating temperature range and is accurate to ±0.5°C over the -10°C to +85°C range. In addition, the device can derive power directly from the data line ("parasite power"), eliminating the need for an external power supply.

Each device has a unique 64-bit serial code, which allows multiple devices to function on the same 1-Wire bus. Therefore, it is simple to use one microcontroller (the master device) to control many devices distributed over a large area. The device includes 128 bytes (1Kb) of EEPROM for storage of system data. The EEPROM can be locked to permanently prevent any further data writes. Four location address inputs simplify mapping of individual devices to specific locations.

Applications

  • Building Automation
  • Consumer Equipment
  • Industrial Systems
  • Module Identification
  • System Calibration

MAX31826
1-Wire Digital Temperature Sensor with 1Kb Lockable EEPROM
MAX31826: Block Diagram
Add to myAnalog

Add product to the Products section of myAnalog (to receive notifications), to an existing project or to a new project.

Create New Project
Ask a Question

Documentation

Learn More
Add to myAnalog

Add media to the Resources section of myAnalog, to an existing project or to a new project.

Create New Project

Software Resources

Can't find the software or driver you need?

Request a Driver/Software

Hardware Ecosystem

Parts Product Life Cycle Description
Analog to Digital Converters (ADCs) 2
DS1825 PRODUCTION Programmable Resolution 1-Wire Digital Thermometer With 4-Bit ID
DS18B20 PRODUCTION Programmable Resolution 1-Wire Digital Thermometer
Modal heading
Add to myAnalog

Add product to the Products section of myAnalog (to receive notifications), to an existing project or to a new project.

Create New Project

Evaluation Kits

MAX31826EVKIT

Evaluation Kit for the MAX31826

Features and Benefits

  • On-Board I2C to 1-Wire Converter (DS2482)
  • Proven PCB Layout
  • Fully Assembled and Tested
  • Windows XP®, Windows 7/8/8.1/10-Compatible Software

Product Details

The MAX31826 evaluation system (EV system) demonstrates the MAX31826 1-Wire® digital temperature sensor with 1kB lockable electrically erasable programmable read-only memory (EEPROM). The MAX31826 EV system includes the MAX31826 evaluation kit (EV kit) and the USB2PMB2 module. Windows® 7/8/8.1/10-compatible software provides a user-friendly interface that demonstrates the features of the MAX31826.

The MAX31826 EV kit contains an on-board DS2482 I2C to 1-Wire converter and comes with the 8-pin µMAX® MAX31826MUA+ installed.

Applications

  • Building Automation
  • Consumer Equipment
  • Industrial Systems
  • Module Identification
  • System Calibration

MAX31826EVSYS1

Evaluation Kit for the MAX31826

Features and Benefits

  • On-Board I2C to 1-Wire Converter (DS2482)
  • Proven PCB Layout
  • Fully Assembled and Tested
  • Windows XP®, Windows 7/8/8.1/10-Compatible Software

Product Details

The MAX31826 evaluation system (EV system) demonstrates the MAX31826 1-Wire® digital temperature sensor with 1kB lockable electrically erasable programmable read-only memory (EEPROM). The MAX31826 EV system includes the MAX31826 evaluation kit (EV kit) and the USB2PMB2 module. Windows® 7/8/8.1/10-compatible software provides a user-friendly interface that demonstrates the features of the MAX31826.

The MAX31826 EV kit contains an on-board DS2482 I2C to 1-Wire converter and comes with the 8-pin µMAX® MAX31826MUA+ installed.

Applications

  • Building Automation
  • Consumer Equipment
  • Industrial Systems
  • Module Identification
  • System Calibration

MAX31826EVKIT
Evaluation Kit for the MAX31826
MAX31826EVSYS1
Evaluation Kit for the MAX31826

Latest Discussions

No discussions on MAX31826 yet. Have something to say?

Start a Discussion on EngineerZone®

Recently Viewed