LTC2627
量产具 I2C 接口的 12 位、双通道、轨至轨 DAC
- 产品模型
- 8
概述
- 外形尺寸最小的引脚兼容型双通道 DAC:
- LTC2607: 16 位
- LTC2617: 14 位
- LTC2627: 12 位
- 在整个温度范围内保证具有单调性
- 27 个可选地址
- 400kHz I2C 接口
- 2.7V 至 5.5V 宽电源范围
- 低功率操作:每个 DAC 的消耗电流为 260μA (在 3V)
- 断电至 1μA (最大值)
- 高轨至轨输出驱动 (±15mA,最小值)
- 超低串扰 (30μV)
- 双缓冲数据锁存器
- 异步 DAC 更新引脚
- LTC2607 / LTC2617 / LTC2627:上电复位至零标度
- LTC2607-1 / LTC2617-1 / LTC2627-1:上电复位至中间标度
- 纤巧型 (3mm x 4mm) 12 引脚 DFN 封装
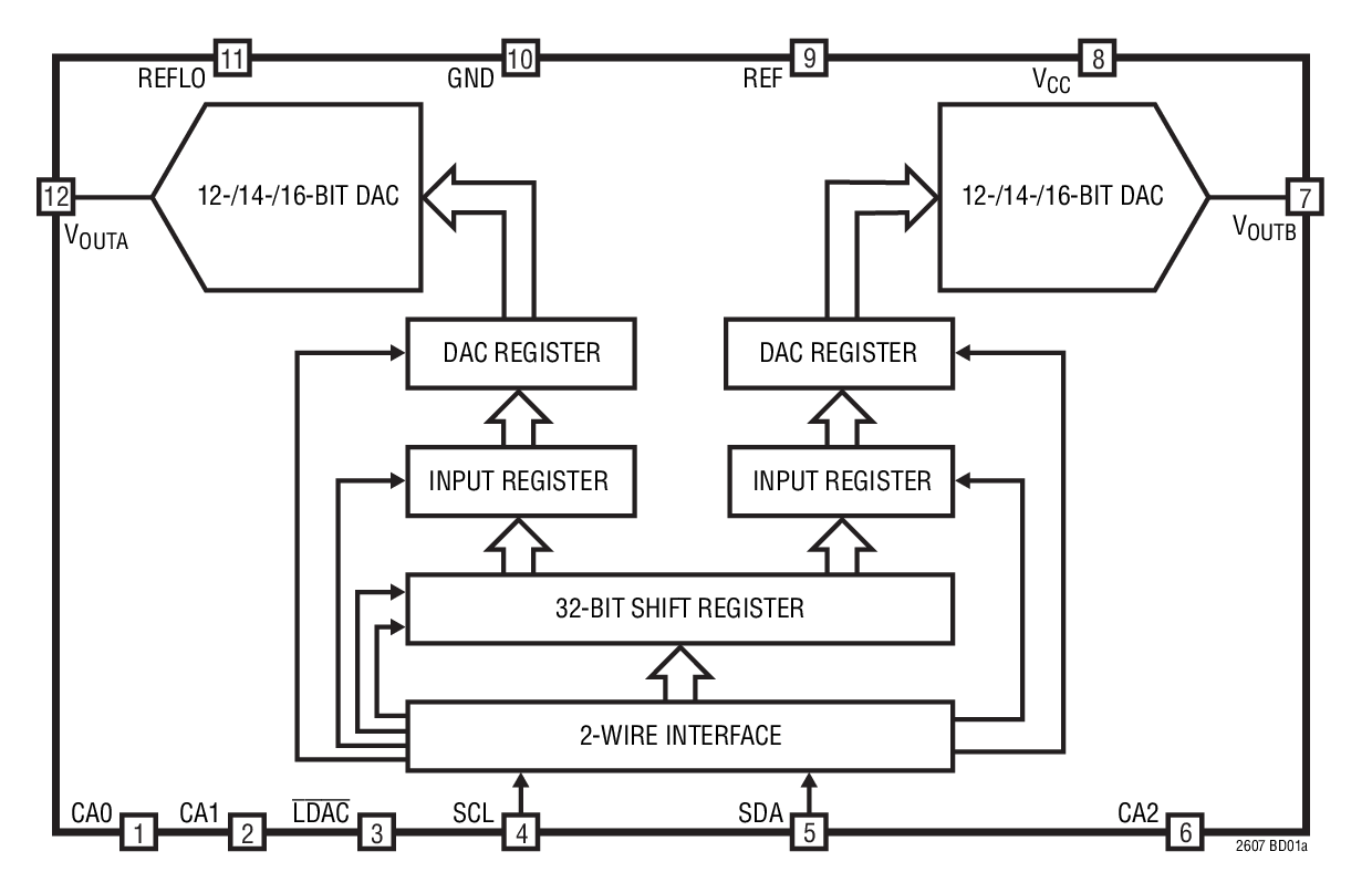
LTC®2607 / LTC2617 / LTC2627 是双通道 16 位、14 位和 12 位 2.7V 至 5.5V 轨至轨电压输出 DAC,采用 12 引脚 DFN 封装。它们内置了高性能输出缓冲器,并保证具有单调特性。
这些器件为 16 位和 14 位 DAC 建立了新的电路板密度标准,并提升了单电源、电压输出 DAC 中的输出驱动和负载调节的性能标准。
这三款器件采用了一个二线式 I2C 兼容型串行接口。LTC2607 / LTC2617 / LTC2627 可工作于标准模式 (时钟速率为 100kHz) 和快速模式 (时钟速率为 400kHz)。另外,这些器件还具有一个异步 DAC 更新引脚 (LDAC) 。
LTC2607 / LTC2617 / LTC2627 内置了一个上电复位电路。在上电期间,电压输出上升至零标度以上不足 10mV;而在上电操作之后,它们将保持于零标度,直到出现一个有效写操作和更新操作为止。上电复位电路将 LTC2607-1 / LTC2617-1 / LTC2627-1 复位至中间标度。电压输出保持在中间标度,直至出现一个有效写操作和更新操作为止。
应用
- 移动通信
- 过程控制和工业自动化
- 仪表
- 自动测试设备
参考资料
数据手册 1
可靠性数据 1
ADI 始终高度重视提供符合最高质量和可靠性水平的产品。我们通过将质量和可靠性检查纳入产品和工艺设计的各个范围以及制造过程来实现这一目标。出货产品的“零缺陷”始终是我们的目标。查看我们的质量和可靠性计划和认证以了解更多信息。
| 产品型号 | 引脚/封装图-中文版 | 文档 | CAD 符号,脚注和 3D模型 |
|---|---|---|---|
| LTC2627CDE#PBF | 12-Lead DFN (4mm x 3mm w/ EP) | ||
| LTC2627CDE#TRPBF | 12-Lead DFN (4mm x 3mm w/ EP) | ||
| LTC2627CDE-1#PBF | 12-Lead DFN (4mm x 3mm w/ EP) | ||
| LTC2627CDE-1#TRPBF | 12-Lead DFN (4mm x 3mm w/ EP) | ||
| LTC2627IDE#PBF | 12-Lead DFN (4mm x 3mm w/ EP) | ||
| LTC2627IDE#TRPBF | 12-Lead DFN (4mm x 3mm w/ EP) | ||
| LTC2627IDE-1#PBF | 12-Lead DFN (4mm x 3mm w/ EP) | ||
| LTC2627IDE-1#TRPBF | 12-Lead DFN (4mm x 3mm w/ EP) |
这是最新版本的数据手册
软件资源
找不到您所需的软件或驱动?
申请驱动/软件硬件生态系统
工具及仿真模型
精密DAC误差预算工具
精密DAC误差预算工具是一种Web应用程序,用于计算精密DAC信号链的直流精度。它可显示整个信号链中的静态误差状况,以快速评估设计利弊。可计算由基准电压源、运算放大器和精密DAC引起的直流误差。
打开工具Linduino 3
Linduino是ADI公司的Arduino兼容系统,用于开发和分配面向集成电路的固件库和示例代码。每个支持Linduino的产品包括示例主程序(在LTSketchbook/产品型号文件夹中定义)和驱动程序代码(在LTSketchbook/库文件夹中定义)。
最新评论
需要发起讨论吗? 没有关于 LTC2627的相关讨论?是否需要发起讨论?
在EngineerZone®上发起讨论