LTC2216

量产

16位、80Msps低噪声ADC

产品技术资料帮助

ADI公司所提供的资料均视为准确、可靠。但本公司不为用户在应用过程中侵犯任何专利权或第三方权利承担任何责任。技术指标的修改不再另行通知。本公司既没有含蓄的允许,也不允许借用ADI公司的专利或专利权的名义。本文出现的商标和注册商标所有权分别属于相应的公司。

Viewing:

概述

  • 采样速率:80Msps/65Msps
  • 81.5dBFS 噪声层
  • 100dB SFDR
  • SFDR > 95dB (在 70MHz)
  • 85fsRMS 抖动
  • 2.75VP-P 输入范围
  • 400MHz 满功率带宽 S/H (采样及保持)
  • 任选的内部颤动
  • 任选的数据输出随机函数发生器
  • LVDS 或 CMOS 输出
  • 单 3.3V 电源
  • 功耗:970mW/700mW
  • 时钟占空比稳定器
  • 引脚与 LTC2208、LTC2217 兼容
  • 64引脚 (9mm x 9mm) QFN 封装

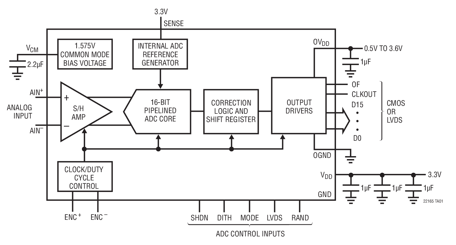
LTC®2216/LTC2215 是采样速率为 80Msps/65Msps 的 16 位 A/D 转换器,专为对具有高达400MHz 输入频率的高频、宽动态范围信号进行数字化处理而设计。ADC 的输入范围固定在 2.75VP-P

LTC2216/LTC2215 非常适合于要求苛刻的通信应用,其 AC 性能包括 81.5dBFS 噪声层和 100dB无寄生动态范围 (SFDR)。85fsRMS 的超低抖动实现了高输入频率的欠采样,并保持了卓越的噪声性能。最大 DC 规格包括 ±3.5LSB INL、±1LSB DNL (无漏失码)。

数字输出可以是差分 LVDS 或单端 CMOS。CMOS 输出有两种格式选项,即:以全数据速率运行的单根总线或以半数据速率运行的多路分工总线。一个单独的输出电源允许 CMOS 输出摆幅在 0.5V 至 3.6V 的范围内变化。

可以利用一个正弦波、PECL、LVDS、TTL 或 CMOS 输入对 ENC+ 和 ENC 输入进行差分或单端驱动。一个任选的时钟占空比稳定器在全速和各种时钟占空比条件下实现了高性能。

Applications

  • 电信
  • 接收机
  • 蜂窝基站
  • 频谱分析
  • 成像系统
  • ATE

LTC2216
16位、80Msps低噪声ADC
LTC2216: 64k Point FFT,  fIN = 4.9MHz, –1dBFS Product Package 1
添加至 myAnalog

将产品添加到myAnalog 的现有项目或新项目中(接收通知)。

创建新项目
提问

参考资料

数据手册 1

可靠性数据 1

用户手册 2

了解更多
添加至 myAnalog

Add media to the Resources section of myAnalog, to an existing project or to a new project.

创建新项目

软件资源

Evaluation Software 2

PScope

The PScope System is a USB-based product demonstration and data acquisition system for use with high performance ADCs and signal chain receiver family. PScope allows users to evaluate the SNR, SFDR, THD, as well as other key parameters, quickly and easily.

LinearLab Tools

A collection of Matlab and Python programs that provide direct access to Linear Technology’s data converter evaluation boards.


硬件生态系统

部分模型 产品周期 描述
差分放大器 1
LTC6401-20 最后购买期限 140MHz IF 的 1.3GHz、低噪声、低失真差分 ADC 驱动器
锁相环(PLL)频率合成器 1
LTC6946 最后购买期限 具集成型 VCO 的超低噪声及杂散 0.37GHz 至 6.39GHz 整数 N 合成器
Modal heading
添加至 myAnalog

将产品添加到myAnalog 的现有项目或新项目中(接收通知)。

创建新项目

工具及仿真模型

IBIS 模型 1


评估套件

eval board
DC996B-H

LTC2216IUP | LVDS OUT, 80Msps, 16-Bit ADC 70MHz < AIN < 140MHz, (Requires DC890 & LVDS_XFMR)

产品详情

DC996B-H - Demo Board for the LTC2216 16-Bit, 80Msps Low Noise ADC.

eval board
DC996B-G

LTC2216IUP | LVDS OUT, 80Msps, 16-Bit ADC 1MHz < AIN < 70MHz, (Requires DC890 & LVDS_XFMR)

产品详情

DC996B-G: Demo Board for the LTC2216 16-Bit, 80Msps Low Noise ADC.

eval board
DC854D-G

LTC2216IUP | CMOS OUT, 80Msps, 16-Bit ADC 1MHz < AIN < 70MHz, (Requires DC718)

产品详情

DC854D-G: Demo Board for the LTC2216 16-Bit, 80Msps Low Noise ADC.

eval board
DC854D-H

LTC2216IUP | CMOS OUT、80Msps、16位ADC 70MHz < AIN< 140MHz(需要DC718)

产品详情

DC854D-H:LTC2216 16位、80Msps低噪声ADC演示板。

DC996B-H
LTC2216IUP | LVDS OUT, 80Msps, 16-Bit ADC 70MHz < AIN < 140MHz, (Requires DC890 & LVDS_XFMR)
DC996A-P - Schematic
DC996B-G
LTC2216IUP | LVDS OUT, 80Msps, 16-Bit ADC 1MHz < AIN < 70MHz, (Requires DC890 & LVDS_XFMR)
DC996A-P - Schematic
DC854D-G
LTC2216IUP | CMOS OUT, 80Msps, 16-Bit ADC 1MHz < AIN < 70MHz, (Requires DC718)
DC854D-A - Schematic
DC854D-H
LTC2216IUP | CMOS OUT、80Msps、16位ADC 70MHz < AIN< 140MHz(需要DC718)
DC854D-A - Schematic

最新评论

需要发起讨论吗? 没有关于 LTC2216的相关讨论?是否需要发起讨论?

在EngineerZone®上发起讨论

近期浏览