LTC1669
量产具 I2C 接口的 10 位轨至轨微功率 DAC
- 产品模型
- 12
概述
- 采用 SOT-23 封装的微功率 10 位 DAC
- 低工作电流:60μA
- 超低功率停机模式:12μA
- 与 I2C™ 兼容的二线式串行接口
- 可选的内部基准或与 VCC 成比例
- 最大 DNL 误差:0.75LSB
- 8 个用户可选地址 (MSOP 封装)
- 2.7V 至 5.5V 单工作电源
- 真正的缓冲轨至轨电压输出
- 上电复位
- 用于 SDA 和 SCL 的 1.5V VIL 和 2.1V VIH
- 小型 5 引脚 SOT-23 和 8 引脚 MSOP 封装
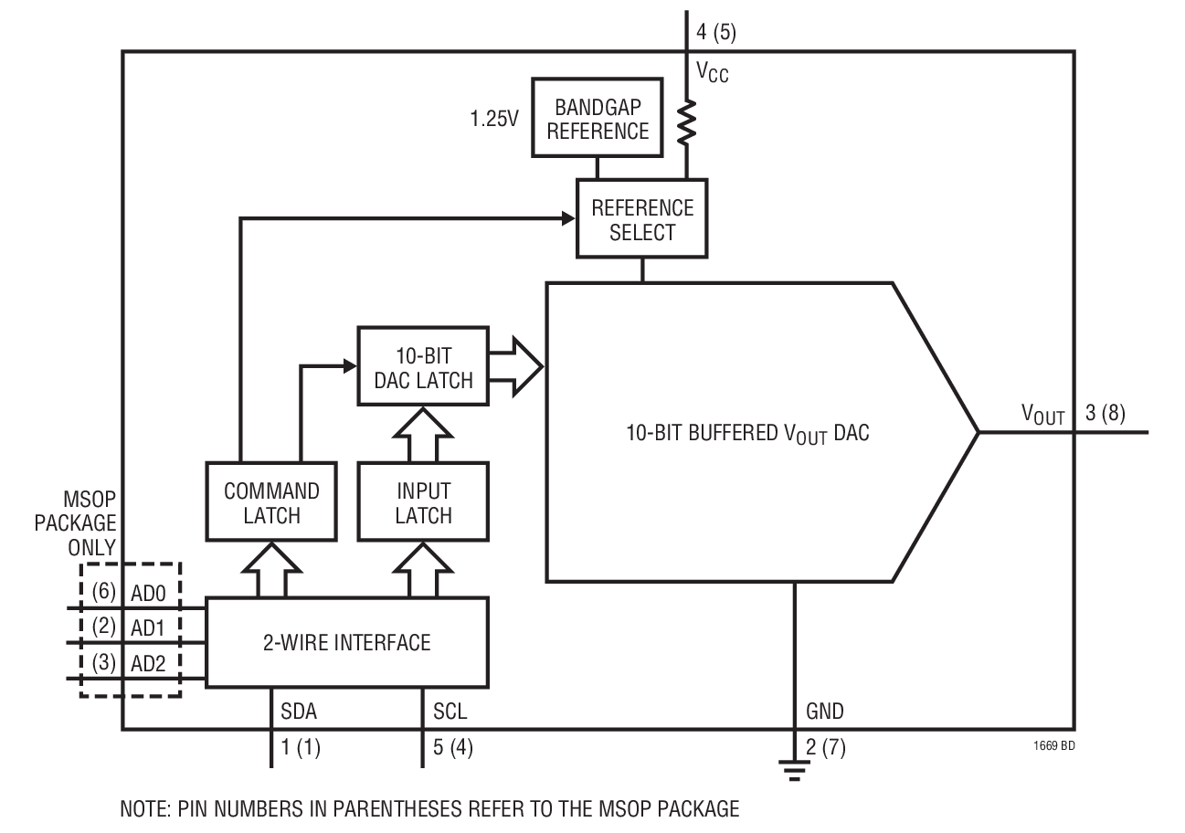
LTC®1669 是一款 10 位电压输出 DAC,该器件具有真正的缓冲轨至轨输出电压能力。它采用一个电压范围为 2.7V 至 5.5V 的单工作电源。用于该 DAC 的基准可以在电源电压或一个内部带隙基准之间进行选择。当选择内部带隙基准时,将把全标度输出电压范围设定在 2.5V。而当选择电源作为基准时,输出电压范围将被设定在电源电压。
该器件具有一个与 I2C 相兼容的简单二线式串行接口,允许在多个设备之间进行通信。对内部数据寄存器进行了双重缓冲,以便立刻对多个设备进行同时更新。该 DAC 可被置于低电流断电模式,以供那些希望节省功率的系统之用。
上电复位可确保 DAC 输出在最初加电时处于 0V,而且所有的内部寄存器均被清零。LTC1669 和 LTC1663 具有引脚对引脚的兼容性。
对于 SMBus 兼容型设计,请查阅 LTC1663 的相关资料。
Applications
- 数字校准
- 偏移/增益调节
- 工业过程控制
- 自动测试设备
- 任意函数发生器
- 电池供电型数据转换产品
参考资料
数据手册 1
可靠性数据 1
ADI 始终高度重视提供符合最高质量和可靠性水平的产品。我们通过将质量和可靠性检查纳入产品和工艺设计的各个范围以及制造过程来实现这一目标。出货产品的“零缺陷”始终是我们的目标。查看我们的质量和可靠性计划和认证以了解更多信息。
| 产品型号 | 引脚/封装图-中文版 | 文档 | CAD 符号,脚注和 3D模型 |
|---|---|---|---|
| LTC1669-1CS5#TRMPBF | 5-Lead TSOT-23 | ||
| LTC1669-1CS5#TRPBF | 5-Lead TSOT-23 | ||
| LTC1669-8CMS8#PBF | 8-Lead MSOP | ||
| LTC1669-8CMS8#TRPBF | 8-Lead MSOP | ||
| LTC1669-8IMS8#PBF | 8-Lead MSOP | ||
| LTC1669-8IMS8#TRPBF | 8-Lead MSOP | ||
| LTC1669CMS8#PBF | 8-Lead MSOP | ||
| LTC1669CMS8#TRPBF | 8-Lead MSOP | ||
| LTC1669CS5#TRMPBF | 5-Lead TSOT-23 | ||
| LTC1669CS5#TRPBF | 5-Lead TSOT-23 | ||
| LTC1669IMS8#PBF | 8-Lead MSOP | ||
| LTC1669IMS8#TRPBF | 8-Lead MSOP |
| 产品型号 | 产品生命周期 | PCN |
|---|---|---|
|
2月 3, 2020 - 20_0128 Laser Top Mark for 8 Lead MSOP Packages Assembled in ADPG and UTAC |
||
| LTC1669-8CMS8#PBF | 量产 | |
| LTC1669-8CMS8#TRPBF | 量产 | |
| LTC1669-8IMS8#PBF | 量产 | |
| LTC1669-8IMS8#TRPBF | 量产 | |
| LTC1669CMS8#PBF | 量产 | |
| LTC1669CMS8#TRPBF | 量产 | |
| LTC1669IMS8#PBF | 量产 | |
| LTC1669IMS8#TRPBF | 量产 | |
|
6月 5, 2024 - 24_0004 Epoxy Change from Henkel 8290 to 8290A for MSOP (3) |
||
| LTC1669-8IMS8#PBF | 量产 | |
| LTC1669-8IMS8#TRPBF | 量产 | |
| LTC1669IMS8#PBF | 量产 | |
| LTC1669IMS8#TRPBF | 量产 | |
这是最新版本的数据手册
软件资源
找不到您所需的软件或驱动?
申请驱动/软件硬件生态系统
工具及仿真模型
精密DAC误差预算工具
精密DAC误差预算工具是一种Web应用程序,用于计算精密DAC信号链的直流精度。它可显示整个信号链中的静态误差状况,以快速评估设计利弊。可计算由基准电压源、运算放大器和精密DAC引起的直流误差。
打开工具最新评论
需要发起讨论吗? 没有关于 LTC1669的相关讨论?是否需要发起讨论?
在EngineerZone®上发起讨论