DAC8408
不推荐用于新设计内置存储器的四通道8位乘法CMOS D/A转换器
- 产品模型
- 5
概述
- 4个DAC集成于28引脚0.6英寸宽体DIP封装或28引脚JEDEC塑料芯片载体之中
- ±1/4 LSB端点线性度
- 保证单调性
- DAC间匹配达到1%以内
- 微处理器兼容
- 读/写功能(带存储器)
- TTL/CMOS兼容型
- 四象限乘法
- +5 V单电源供电
- 低功耗
- 防闩锁
- 提供裸片形式
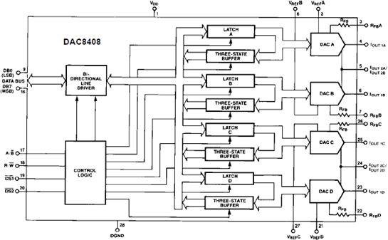
DAC8408是一款单芯片四路8位乘法数模CMOS转换器。各DAC均拥有自己的基准输入、反馈电阻和个有读/写功能的片上数据锁存器。回读功能充当要求自检的系统的存储器。
利用一个共用8位输入TTL/CMOS兼容输入端口将数据载入四个DAC数据锁存器中的任一个。控制线路DS1、DS2和A/B确定由哪个DAC接受数据。数据加载结构与RAM的写入周期相似。利用控制线路R/W可以将数据回读至同一数据总线。DAC8408与多数8位微处理器总线兼容,包括6800、8080、8085和Z80。DAC8408以+5 v单电源供电,功耗不到20 mW。DAC8408基于一种先进的氧化物隔离、硅门极CMOS工艺,采用PMI高度稳定的薄膜电阻制成。PMI改进型防闩锁设计消除了采用外部保护肖特基二极管的需要。
参考资料
数据手册 2
ADI 始终高度重视提供符合最高质量和可靠性水平的产品。我们通过将质量和可靠性检查纳入产品和工艺设计的各个范围以及制造过程来实现这一目标。出货产品的“零缺陷”始终是我们的目标。查看我们的质量和可靠性计划和认证以了解更多信息。
| 产品型号 | 引脚/封装图-中文版 | 文档 | CAD 符号,脚注和 3D模型 |
|---|---|---|---|
| DAC8408FPCZ | 28-Lead PLCC | ||
| DAC8408FPZ | 28-Lead PDIP | ||
| DAC8408FSZ | 28-Lead SOIC (Wide) | ||
| DAC8408FSZ-REEL | 28-Lead SOIC (Wide) | ||
| DAC8408GPZ | 28-Lead PDIP |
| 产品型号 | 产品生命周期 | PCN |
|---|---|---|
|
11月 9, 2011 - 11_0182 Test Site Transfer from Analog Devices Philippines Inc in Paranaque to Analog Devices General Trias in Cavite, Philippines |
||
| DAC8408FPCZ | 量产 | |
| DAC8408FPZ | 量产 | |
| DAC8408FSZ | 量产 | |
| DAC8408FSZ-REEL | 量产 | |
| DAC8408GPZ | 量产 | |
|
3月 7, 2019 - 19_0046 Assembly Transfer of 18,20,24,28 Lead PDIP to Cirtek |
||
| DAC8408FPZ | 量产 | |
| DAC8408GPZ | 量产 | |
|
8月 19, 2009 - 07_0024 Package Material Changes for SOT23, MiniSO, MQFP, PDIP, PLCC, SOIC (narrow and wide body), SSOP, TSSOP and TSSOP exposed pad |
||
| DAC8408FPZ | 量产 | |
| DAC8408GPZ | 量产 | |
|
8月 4, 2010 - 10_0117 Halogen Free Material Change for SOIC_W Products at Carsem |
||
| DAC8408FSZ | 量产 | |
| DAC8408FSZ-REEL | 量产 | |
这是最新版本的数据手册
软件资源
找不到您所需的软件或驱动?
申请驱动/软件硬件生态系统
| 部分模型 | 产品周期 | 描述 |
|---|---|---|
| AD7564 | 量产 | +3.3 V/+5 V、低功耗、四通道、12位CMOS DAC |
工具及仿真模型
精密DAC误差预算工具
精密DAC误差预算工具是一种Web应用程序,用于计算精密DAC信号链的直流精度。它可显示整个信号链中的静态误差状况,以快速评估设计利弊。可计算由基准电压源、运算放大器和精密DAC引起的直流误差。
打开工具最新评论
需要发起讨论吗? 没有关于 DAC8408的相关讨论?是否需要发起讨论?
在EngineerZone®上发起讨论