ADSP-21990

不推荐用于新设计

高性能混合型信号DSP,160 MHz,4K字程序存储器RAM

产品技术资料帮助

ADI公司所提供的资料均视为准确、可靠。但本公司不为用户在应用过程中侵犯任何专利权或第三方权利承担任何责任。技术指标的修改不再另行通知。本公司既没有含蓄的允许,也不允许借用ADI公司的专利或专利权的名义。本文出现的商标和注册商标所有权分别属于相应的公司。

Viewing:

概述

  • 160 MHz,ADSP-219x DSP内核
  • 8通道、14位、20 MSPS ADC,内置片上电压基准
  • 4K字程序存储器RAM
  • 4K字数据存储器RAM
  • 外部存储器接口(达1 M字)
  • 带双辅助PWM输出的三相PWM发生单元
  • 增量编码器接口单元
  • 3个32位通用定时器
  • 16位通用标识I/O端口
  • 同步串行(SPORT)和SPI通信端口

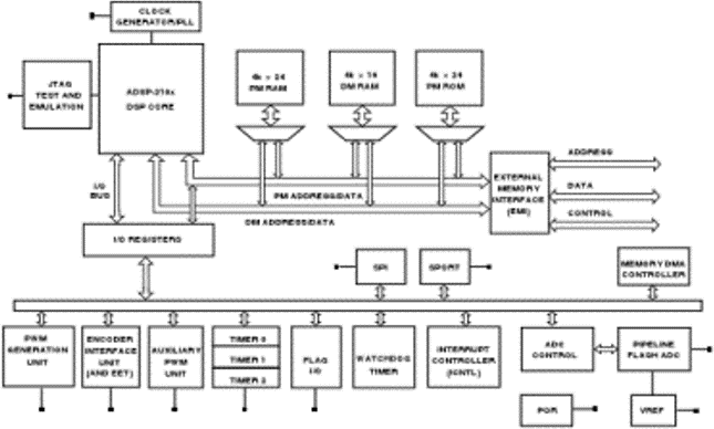
ADSP-21990是ADI公司的首款高性能混合信号DSP产品。ADSP-21990集成了160 MHz、16位的ADSP-219x DSP内核和一个8通道、14位、20 MSPS的ADC(内置双采样保持放大器可实现同步采样)。该产品还集成了另外一些混合信号电路,包括一个精密片上电压基准以及上电复位(POR)电路。而所提供的各种控制外设可实现针对嵌入式控制和信号处理应用的单芯片解决方案。

ADSP-21990
高性能混合型信号DSP,160 MHz,4K字程序存储器RAM
ADSP-21990 Functional Block Diagram
添加至 myAnalog

将产品添加到myAnalog 的现有项目或新项目中(接收通知)。

创建新项目
提问

参考资料

数据手册 1

应用笔记 58

处理器手册 2

产品亮点 1

软件手册 10

集成电路异常 1

旧模拟器手册 2

了解更多
添加至 myAnalog

Add media to the Resources section of myAnalog, to an existing project or to a new project.

创建新项目

软件资源


工具及仿真模型

ADSP-21xx Processors: Software and Tools

打开工具

评估套件

eval board
EMULATOR-USB & HP USB ICE

基于USB的仿真器和基于USB的高性能仿真器

特性和优点

  • 全速USB 1.1接口支持高达150 KB/S的下载速度(ADZS-USB-ICE),高速USB 2.0接口支持高达1.5 MB/s的下载速度(ADZS-HPUSB-ICE)
  • 后台遥测通道(BTC)支持以高达2.0 MB/S的速度实现非介入式数据交换(仅限ADZS-HPUSB-ICE)
  • 兼容并可耐受1.8 V、2.5 V和3.3 V电压
  • 支持所有ADI JTAG处理器和DSP
  • 耐受5 V电压,兼容3.3 V电压,支持5 V处理器和DSP
  • 支持多处理器
  • 14引脚JTAG连接器
  • 3米USB电缆用于连接难以触及的目标
  • CE认证

产品详情

针对ADI公司JTAG处理器和DSP,ADI公司的高性价比、基于通用串行总线(USB)的仿真器和高性能(HP)、基于USB的仿真器提供简单易用、便携式、非介入、有针对性的调试解决方案。 这些基于USB的仿真器功能齐全、功效强,包括可预定义断点的单步和全速执行,以及查看和/或修改寄存器和存储器内容。 USB和HP USB仿真器能够自动检测和支持多种I/O电压,使得用户可以利用主机PC上的全速USB 1.1或高速USB 2.0端口,与ADI公司的所有JTAG处理器和DSP通信。 可以轻松快捷地测试应用程序和数据,并在仿真器与VisualDSP++开发与调试环境(另售)之间进行传输。

USB结构具有即插即用特性,因而主机操作系统可以自动检测和配置仿真器。 同样,无需开关机,便可将仿真器与主机相连或断开连接。 附送3米电缆用于连接仿真器和主机PC,以便轻松访问难以触及的目标。

基于USB的高性能仿真器还支持后台遥测通道(BTC),这是一种用于在主机与目标应用程序之间交换数据的非介入式方法,不影响目标系统的实时特性。

产品型号:
基于USB的仿真器
产品型号:ADZS-USB-ICE
基于USB的高性能仿真器
产品型号: ADZS-HPUSB-ICE

工具支持:
电话: 1-800-ANALOGD (262-5643)
联系支持中心

欲了解其它信息,请联系当地的ADI公司 办事处或代理商

EMULATOR-USB & HP USB ICE
基于USB的仿真器和基于USB的高性能仿真器

最新评论

需要发起讨论吗? 没有关于 ADSP-21990的相关讨论?是否需要发起讨论?

在EngineerZone®上发起讨论

近期浏览