AD7709
量产16位Σ-Δ型ADC,内置电流源、可切换基准电压输入和I/O端口
- 产品模型
- 5
Viewing:
概述
- 下载示例代码
- 16位 Σ-Δ ADC
- 20 Hz更新速率时,50 Hz、60 Hz同时抑制
- VREF Select ™ 提供绝对测量和比率测量能力
- 可编程增益前端
- ISOURCE Select ™
- 16位无失码
- 13位峰-峰值分辨率(20 Hz,20 mV)
- 16位峰-峰值分辨率(20 Hz,2.56 V)
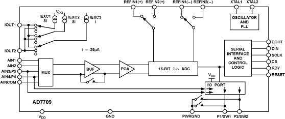
AD7709是一款适合低频测量应用的完整模拟前端,内置一个含PGA的16位Σ-Δ型ADC,可配置为2个全差分输入通道或4个伪差分输入通道。利用AD7709,可以直接转换从20mV至2.56V范围内的输入信号,支持传感器信号直接输入,无需进行信号调节。其它片内功能包括3个软件可配置电流源、可切换基准电压输入、低端电源开关和一个4位数字I/O端口。
参考资料
数据手册 1
应用笔记 12
技术文章 4
器件驱动器 1
ADI 始终高度重视提供符合最高质量和可靠性水平的产品。我们通过将质量和可靠性检查纳入产品和工艺设计的各个范围以及制造过程来实现这一目标。出货产品的“零缺陷”始终是我们的目标。查看我们的质量和可靠性计划和认证以了解更多信息。
| 产品型号 | 引脚/封装图-中文版 | 文档 | CAD 符号,脚注和 3D模型 |
|---|---|---|---|
| AD7709ARUZ | 24-Lead TSSOP | ||
| AD7709ARUZ-REEL7 | 24-Lead TSSOP | ||
| AD7709BRUZ | 24-Lead TSSOP | ||
| AD7709BRUZ-REEL | 24-Lead TSSOP | ||
| AD7709BRUZ-REEL7 | 24-Lead TSSOP |
| 产品型号 | 产品生命周期 | PCN |
|---|---|---|
|
2月 6, 2026 - 25_0172 Gold to Copper Wire Conversion at Amkor Philippines and Carsem Malaysia for Select TSSOP/MSOP Products |
||
| AD7709ARUZ | 量产 | |
| AD7709ARUZ-REEL7 | 量产 | |
| AD7709BRUZ | 量产 | |
| AD7709BRUZ-REEL | 量产 | |
| AD7709BRUZ-REEL7 | 量产 | |
|
8月 10, 2021 - 21_0035 Amkor Philippines as an Alternate Site for TSSOP_4.4 |
||
| AD7709ARUZ | 量产 | |
| AD7709ARUZ-REEL7 | 量产 | |
| AD7709BRUZ | 量产 | |
| AD7709BRUZ-REEL | 量产 | |
| AD7709BRUZ-REEL7 | 量产 | |
|
2月 11, 2011 - 10_0005 Halogen Free Material Change for TSSOP Products Assembled at Amkor |
||
| AD7709ARUZ | 量产 | |
| AD7709ARUZ-REEL7 | 量产 | |
| AD7709BRUZ | 量产 | |
| AD7709BRUZ-REEL | 量产 | |
| AD7709BRUZ-REEL7 | 量产 | |
这是最新版本的数据手册
软件资源
器件驱动器 1
Evaluation Software 0
找不到您所需的软件或驱动?
工具及仿真模型
Σ-Δ型ADC指南
交互式图形工具,显示理想Σ-Δ型ADC的行为。
打开工具