AD6679

推荐用于新设计

135 MHz带宽中频分集接收机


产品技术资料帮助

ADI公司所提供的资料均视为准确、可靠。但本公司不为用户在应用过程中侵犯任何专利权或第三方权利承担任何责任。技术指标的修改不再另行通知。本公司既没有含蓄的允许,也不允许借用ADI公司的专利或专利权的名义。本文出现的商标和注册商标所有权分别属于相应的公司。

Viewing:

概述

  • 并行LVDS(DDR)输出
  • 带内SFDR = 82 dBFS(340 MHz时,500 MSPS)
  • 带内SNR = 67.8 dBFS(340 MHz时,500 MSPS)
  • 500 MSPS时每通道总功耗:1.1 W(默认设置)
  • 噪声密度 = −153 dBFS/Hz (500 MSPS)
  • 直流电源:1.25 V、2.50 V和3.3 V

  • 灵活的输入范围
    1.46 V p-p至2.06 V p-p(标称值2.06 V p-p)
  • 95 dB通道隔离/串扰
  • 幅度检测位支持实现高效自动增益控制(AGC)
  • 噪声整形再量化器(NSR)选项支持主接收机功能
  • 欲了解更多特性,请参考数据手册

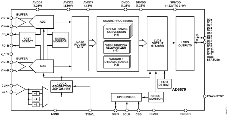
AD6679是一款135 MHz带宽混合信号中频(IF)接收机。内置双通道、14位、500 MSPS模数转换器(ADC)和各种数字信号处理模块,包括四个宽带DDC、一个NSR和VDR监控。 它具有片内缓冲器和采样保持电路,专门针对低功耗、小尺寸和易用性而设计。 该产品设计支持通信应用,能够实现高达2 GHz的宽带宽模拟信号采样。 AD6679针对宽输入带宽、高采样速率、出色的线性度和小封装低功耗而优化。

这款双通道ADC内核采用多级、差分流水线架构,并集成了输出纠错逻辑。 每个ADC均具有宽带宽输入,支持用户可选的各种输入范围。 集成基准电压源可简化设计。

应用

  • 分集多频段、多模数字接收机
    3G/4G、TD-SCDMA、W-CDMA、GSM、LTE-A
  • DOCSIS 3.0 CMTS上游接收路径
  • HFC数字反向路径接收机

AD6679

135 MHz带宽中频分集接收机


AD6679 Functional Block Diagram AD6679 Pin Configuration
添加至 myAnalog

将产品添加到myAnalog 的现有项目或新项目中(接收通知)。

创建新项目
提问

参考资料

了解更多
添加至 myAnalog

Add media to the Resources section of myAnalog, to an existing project or to a new project.

创建新项目

软件资源

找不到您所需的软件或驱动?

申请驱动/软件

评估套件

eval board
EVAL-AD6679

AD6679 评估板

特性和优点

  • AD6679的全功能评估板
  • 用于设置和控制的SPI接口
  • 宽带巴伦驱动输入
  • 无需外部电源 采用来自FMC的12 V-1 A和3.3 V-3 A电源
  • VisualAnalog®和SPI控制器软件接口

产品详情

本用户指南介绍AD6679评估板,提供了在各种模式和配置下运行ADC所需的全部支持电路。 还介绍了用于与这些器件接口的应用软件。 HSC-ADC-EVALEZ是推荐用于AD6679的基于FPGA的数据采集板。 ADS7-V2EBZ 还可用作AD6679的基于FPGA的数据采集板。

AD6679数据手册提供了更多信息,在使用评估板时应加以参考。 所有文档和软件工具可从此处下载:www.analog.com/hsadcevalboard。 欲了解更多信息,或有任何疑问,请发送电子邮件至highspeed.converters@analog.com

 

设备要求:

  • 模拟信号源和抗混叠滤波器
  • 采样时钟源
  • 12V、6.5A开关电源(配有HSC-ADC-EVALEZ或配有ADS7-V2EBZ的SL POWER CENB1080A1251F01)
  • 运行Windows®的PC
  • USB 2.0端口
  • AD6679-500EBZ板
  • 基于FPGA的数据采集套件HSC-ADC-EVALEZ
  • 基于FPGA的数据采集套件ADS7-V2EBZ(可选,但并不硬性要求)
 

eval board
ADS7-V2EBZ

基于FPGA的数据采集套件

特性和优点

  • 基于Virtex-7 FPGA
  • 一(1)个FMC-HPC连接器
  • 支持十(10)个13.1 Gbps收发器
  • 两(2)个DDR3-1866 DIMM
  • 简单USB端口接口(2.0)



产品详情

ADS7-V2评估板开发用于评估ADI公司采用JESD204B、位速率高达13.1 Gbps的高速ADC、DAC和收发器。以下列出的快速入门Wiki知识库在大体上概述了该平台情况。此外用独立章节逐个介绍了该板的每个用例(例如,ADS7-V2用于高速ADC评估)。ADS7-V2只能与指定的ADI公司评估板一同使用。ADS7-V2不可用作开发平台,也不支持独立运行。有关FPGA开发套件,请咨询Xilinx和其认可的代理商

EVAL-AD6679
AD6679 评估板
EVAL-AD6679 Evaluation Board EVAL-AD6679 Evaluation Board - Top View EVAL-AD6679 Evaluation Board - Bottom View
ADS7-V2EBZ
基于FPGA的数据采集套件
ADS7-V2EBZ

最新评论

需要发起讨论吗? 没有关于 AD6679的相关讨论?是否需要发起讨论?

在EngineerZone®上发起讨论

近期浏览