PHY1075

発売前

デジタル診断内蔵、125Mbps~4.25Gbpsレーザドライバ/ポストアンプ

プログラマブル4.25Gレーザトランシーバ

利用上の注意

本データシートの英語以外の言語への翻訳はユーザの便宜のために提供されるものであり、リビジョンが古い場合があります。最新の内容については、必ず最新の英語版をご参照ください。

なお、日本語版のデータシートは基本的に「Rev.0」(リビジョン0)で作成されています。そのため、英語版が後に改訂され、複数製品のデータシートがひとつに統一された場合、同じ「Rev.0」の日本語版のデータシートが異なる製品のデータシートとして表示されることがあります。たとえば、「ADM3307E」の場合、日本語データシートをクリックすると「ADM3311E」が表示されます。これは、英語版のデータシートが複数の製品で共有できるように1本化され、「ADM3307E/ADM3310E/ADM3311E/ADM3312E/ADM3315E」(Rev.J)と改訂されたからで、決して誤ってリンクが張られているわけではありません。和文化されたデータシートを少しでも有効に活用していただくためにこのような方法をとっておりますので、ご了解ください。

アナログ・デバイセズ社は、提供する情報が正確で信頼できるものであることを期していますが、その情報の利用に関して、あるいはその利用によって生じる第三者の特許やその他の権利の侵害に関して一切の責任を負いません。また、アナログ・デバイセズ社の特許または特許の権利の使用を明示的または暗示的に許諾するものでもありません。仕様は予告なしに変更する場合があります。本紙記載の商標および登録商標は、各社の所有に属します。

Viewing:

製品情報

  • マルチレート:125Mbps~4.25Gbps
  • 70mA (max)変調駆動と100mAバイアス電流を備えたレーザドライバ出力段
  • 設定可能な平均電力制御ループ
  • 温度補償された変調電流
  • 選択可能な振幅CML出力を備えたリミティングアンプ内蔵
  • 設定可能なレシーバローパスフィルタ
  • LOS機能内蔵
  • 外付けMCUを使ったSFF-8472準拠のデジタル診断モード
  • デバイスパラメータが外付けEEPROMからロードされるスタンドアロンモード
  • 周囲動作温度範囲:-40℃~+95℃
  • 6mm x 6mm、36ピンQFNパッケージ
  • アイセーフティロジック

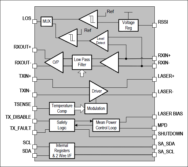
PHY1075-01は、ファイバチャネル、GbE、およびSONET/SDHアプリケーションのスモールフォームファクタモジュール用のデジタル診断監視サポートを備えたコンビネーションレーザドライバおよびリミティングアンプです。トランスミッタは、設定可能なバイアスおよび変調電流を備えた高速出力段を内蔵し、2線式シリアルインタフェースを介して制御されます。平均電力制御ループによって、アノードコモン構成の接続が可能です。ロスオブシグナル(LOS)ディテクタが内蔵され、レシーバフォトディテクタ平均電流または受信信号変調振幅のいずれかに基づく検出が可能です。デジタル診断モードで使用された場合、温度、Txバイアス、電源電圧、Rx信号強度、および平均電力を測定する内蔵A/Dコンバータは、2線式シリアルインタフェースを介して読み取られます。外付けマイクロコントローラユニット(MCU)がリアルタイム診断モニタとアラーム生成の較正に使用されます。

アプリケーション

  • ファイバチャネル1x、2x、4x
  • ギガビットイーサネット、SONET/SDH
  • OC-3、OC-12、OC-48

PHY1075
デジタル診断内蔵、125Mbps~4.25Gbpsレーザドライバ/ポストアンプ
PHY1075:概略ブロックダイアグラム
myAnalogに追加

myAnalogの製品セクション(通知受け取り)、既存/新規プロジェクトに製品を追加する。

新規プロジェクトを作成
質問する
サポート

アナログ・デバイセズのサポート・ページはアナログ・デバイセズへのあらゆるご質問にお答えするワンストップ・ポータルです。


ドキュメント

さらに詳しく
myAnalogに追加

myAnalogのリソース・セクション、既存/新規プロジェクトにメディアを追加する。

新規プロジェクトを作成

最新のディスカッション

PHY1075に関するディスカッションはまだありません。意見を投稿しますか?

EngineerZone®でディスカッションを始める

最近表示した製品