MAX7365

最終販売

1MHz、I²Cインタフェース8 x 7キースイッチコントローラ、GPIOポート内蔵

高ESD保護内蔵、8 x 7キースイッチコントローラ

利用上の注意

本データシートの英語以外の言語への翻訳はユーザの便宜のために提供されるものであり、リビジョンが古い場合があります。最新の内容については、必ず最新の英語版をご参照ください。

なお、日本語版のデータシートは基本的に「Rev.0」(リビジョン0)で作成されています。そのため、英語版が後に改訂され、複数製品のデータシートがひとつに統一された場合、同じ「Rev.0」の日本語版のデータシートが異なる製品のデータシートとして表示されることがあります。たとえば、「ADM3307E」の場合、日本語データシートをクリックすると「ADM3311E」が表示されます。これは、英語版のデータシートが複数の製品で共有できるように1本化され、「ADM3307E/ADM3310E/ADM3311E/ADM3312E/ADM3315E」(Rev.J)と改訂されたからで、決して誤ってリンクが張られているわけではありません。和文化されたデータシートを少しでも有効に活用していただくためにこのような方法をとっておりますので、ご了解ください。

アナログ・デバイセズ社は、提供する情報が正確で信頼できるものであることを期していますが、その情報の利用に関して、あるいはその利用によって生じる第三者の特許やその他の権利の侵害に関して一切の責任を負いません。また、アナログ・デバイセズ社の特許または特許の権利の使用を明示的または暗示的に許諾するものでもありません。仕様は予告なしに変更する場合があります。本紙記載の商標および登録商標は、各社の所有に属します。

Viewing:

製品情報

  • プロセッサ負荷を軽減
    • 最大56のキーを監視
    • 最大16のデバウンスされたキーイベントのFIFOキュー
    • FIFOレベルまたは定義可能な期間経過後にハードウェア割込み
  • バッテリ寿命を延長
    • オートスリープおよびオートウェイクによって電流消費を最小化
    • スリープ電流:1µA以下
  • 基板スペースを節減
    • 小型(2mm × 2mm)かつ薄型の25ピンウェハレベルパッケージ(WLP)
  • フレキシブルな設計要件
    • 動作範囲:1.62V~3.6V
    • 独自のゴーストキー検出および除去
    • ユーザー設定可能なキーデバウンス時間:1ms~31ms
    • 静的マトリックス監視を使った低EMI設計
    • 5つの追加GPIOポート
    • すべてのキースイッチをGPIとして使用可能
    • 1Mbps、5.5V耐圧、2線式シリアルインタフェース
    • 選択可能な2線式、シリアルバスタイムアウト

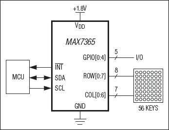
MAX7365は、I²Cインタフェースを備えたペリフェラルで、マイクロプロセッサに対して最大56のキースイッチの管理を提供します。

各キープレスとリリースで生成されるキーコードによって、複数のキーエントリをより簡単に実装することができます。キー入力は、動的でなく静的に監視され、低EMI動作が保証されます。各スイッチは、最大5kΩの抵抗の金属または抵抗(カーボン)が可能です。

このデバイスは、オートスリープおよびオートウェイクを備え、このデバイスの消費電力をさらに最小限に抑えます。オートスリープ機能は、設定可能なスリープタイムアウト期間が経過すると、このデバイスを低電力状態(1µA typ)に移行させます。オートウェイク機能は、キープレス時にデバイスをスリープから通常動作モードに戻すように設定します。

このキーコントローラは、デバウンス処理し、キープレスおよびリリースイベント(オートリピートがイネーブルの場合は、それも含む)のFIFOを管理します。割込み(アクティブローINT)出力は、キープレスの発生時または最大レート時にキープレスを通知するように設定することができます。

未使用のキースイッチは、GPIとして使用することができます。さらに、5つの汎用入力/出力(GPIO)ポートが追加されています。GPOは、プッシュプルまたは、ハイまたはローサイド出力ドライバとしてのオープンドレインとして設定可能です。オープンドレインとしてプログラムした場合、オプションの内蔵100kΩプルアップ/プルダウン抵抗をイネーブルすることができます。

このデバイスは、携帯電話、ポケットPC、その他のポータブル民生用電子機器アプリケーション用の小型25ピンウェハレベルパッケージ(WLP) (2mm x 2mm)で提供されます。このデバイスは、-40℃~+85℃の拡張温度範囲で動作します。

アプリケーション

  • 携帯電話
  • 携帯ゲーム
  • ネットブック
  • PDA
  • ポータブル民生用エレクトロニクス

MAX7365
1MHz、I²Cインタフェース8 x 7キースイッチコントローラ、GPIOポート内蔵
MAX7365:標準動作回路
myAnalogに追加

myAnalogの製品セクション(通知受け取り)、既存/新規プロジェクトに製品を追加する。

新規プロジェクトを作成
質問する
サポート

アナログ・デバイセズのサポート・ページはアナログ・デバイセズへのあらゆるご質問にお答えするワンストップ・ポータルです。


ドキュメント

さらに詳しく
myAnalogに追加

myAnalogのリソース・セクション、既存/新規プロジェクトにメディアを追加する。

新規プロジェクトを作成

最新のディスカッション

MAX7365に関するディスカッションはまだありません。意見を投稿しますか?

EngineerZone®でディスカッションを始める

最近表示した製品