MAX5175

Obsolete

Low-Power, Serial, 12-Bit DACs with Force-Sense Voltage-Output

Single, Serial, Voltage-Output DAC in a QSOP Package

Viewing:

Overview

  • ±1 LSB INL
  • 1µA Shutdown Current
  • "Glitch Free" Output Voltage at Power-Up
  • Single-Supply Operation
    • +5V (MAX5175)
    • +3V (MAX5177)
  • Full-Scale Output Range
    • +2.048V (MAX5177, VREF = +1.25V)
    • +4.096V (MAX5175, VREF = +2.5V)
  • Rail-to-Rail Output Amplifier
  • Adjustable Output Offset
  • Low THD (-80dB) in Multiplying Operation
  • SPI/QSPI/MICROWIRE-Compatible 3-Wire Serial Interface
  • Programmable Shutdown Mode and Power-Up Reset (0 or midscale)
  • Buffered Output Capable of Driving 4-20mA or 5kΩ || 100pF Loads
  • User-Programmable Digital Output Pin Allows Serial Control of External Components
  • 14-Bit Upgrades Available (MAX5171/MAX5173)

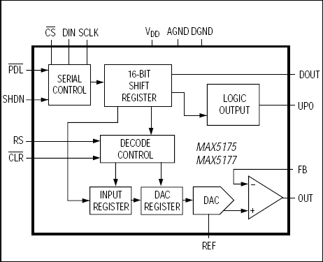
The MAX5175/MAX5177 low-power, serial, voltage-output, 12-bit digital-to-analog converters (DACs) feature a precision output amplifier in a space-saving 16-pin QSOP package. The MAX5175 operates from a single +5V supply, and the MAX5177 operates from a single +3V supply. The output amplifier's inverting input is available to allow specific gain configurations, remote sensing, and high output current capability. This makes the MAX5175/MAX5177 ideal for a wide range of applications, including industrial process control. Both devices draw only 260µA of supply current, which reduces to 1µA in shutdown mode. In addition, the programmable power-up reset feature allows for a user-selectable output voltage state of either 0 or midscale.

The 3-wire serial interface is compatible with SPI™, QSPI™, and MICROWIRE™ standards. An input register followed by a DAC register provides a double-buffered input, allowing the registers to be updated independently or simultaneously with a 16-bit serial word. Additional features include software and hardware shutdown, shutdown lockout, a hardware reset pin, and a reference input capable of accepting DC and offset AC signals. These devices provide a programmable digital output pin for added functionality and a serial-data output pin for daisy-chaining. All logic inputs are TTL/CMOS compatible and are internally buffered with Schmitt triggers to allow direct interfacing to optocouplers.

The MAX5175/MAX5177 incorporate a proprietary on-chip circuit that keeps the output voltage virtually "glitch free," limiting the glitches to a few millivolts during power-up. Both devices come in 16-pin QSOP packages and are specified for the extended (-40°C to +85°C) temperature range. The MAX5171/MAX5173 are 14-bit pin-compatible upgrades to the MAX5175/MAX5177. For pin-compatible DACs with an internal reference, see the 13-bit MAX5132/MAX5133 and 12-bit MAX5122/MAX5123.

Applications

  • Digital Gain and Offset Control
  • Digitally Programmable 4mA–20mA Current Loops
  • General Purpose
  • Industrial Process Controls
  • Motion Control
  • Remote Industrial Controls

MAX5175
Low-Power, Serial, 12-Bit DACs with Force-Sense Voltage-Output
MAX5175, MAX5177: Functional Block Diagram
Add to myAnalog

Add product to the Products section of myAnalog (to receive notifications), to an existing project or to a new project.

Create New Project
Ask a Question

Documentation

Learn More
Add to myAnalog

Add media to the Resources section of myAnalog, to an existing project or to a new project.

Create New Project

Software Resources

Can't find the software or driver you need?

Request a Driver/Software

Hardware Ecosystem

Parts Product Life Cycle Description
Digital to Analog Converters (DACs) 6
MAX5174 LAST TIME BUY Low-Power, Serial, 12-Bit DACs with Voltage-Output
MAX5176 Obsolete Low-Power, Serial, 12-Bit DACs with Voltage-Output
MAX5122 PRODUCTION +5V/+3V, 12-Bit, Serial, Force/Sense DACs with 10ppm/°C Internal Reference
MAX5123 PRODUCTION +5V/+3V, 12-Bit, Serial, Force/Sense DACs with 10ppm/°C Internal Reference
MAX5352 PRODUCTION Low-Power, 12-Bit Voltage-Output DACs with Serial Interface
MAX5353 PRODUCTION Low-Power, 12-Bit Voltage-Output DACs with Serial Interface
Modal heading
Add to myAnalog

Add product to the Products section of myAnalog (to receive notifications), to an existing project or to a new project.

Create New Project

Latest Discussions

No discussions on MAX5175 yet. Have something to say?

Start a Discussion on EngineerZone®

Recently Viewed