MAX506
PRODUCTIONQuad, 8-Bit DAC with Rail-to-Rail Outputs
See MAX5100 for Single-Supply New Designs
- Part Models
- 11
- 1ku List Price
- Starting From $10.76
Overview
- Operate from Single +5V Supply or Dual ±5V Supplies
- Output Buffer Amplifiers Swing Rail-to-Rail
- Reference Input Range Includes Both Supply Rails
- Factory-Calibrated for 1 LSB TUE
- Double-Buffered Digital Inputs (MAX505)
- Microprocessor and TTL/CMOS Compatible
- Require No External Adjustments
- Pin-Compatible Upgrades to MX7225/MX7226
- Now Available in Tiny SSOP Package
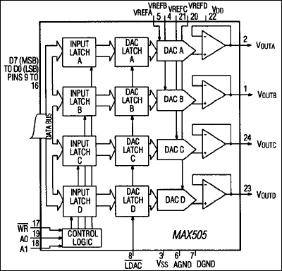
The MAX505 and MAX506 are CMOS, quad, 8-bit voltage-output digital-to-analog converters (DACs). The parts operate with a single +5V supply or a dual ±5V supplies. Internal, precision output buffers swing rail-to-rail. The reference input range includes both supply rails. Offset, gain, and linearity are factory calibrated to provide 1 LSB total unadjusted error (TUE) over the full operating temperature range.
The MAX505 contains double-buffered logic inputs, which allow all analog outputs to be simultaneously updated using the asynchronous load DAC (active-low LDAC) control signal. The MAX505 also has four separate reference inputs, allowing each DAC’s full-scale range to be independently set. The MAX506 has separate inputs latches for each of its four DACs. Data is transferred to the input latches from a common 8-bit input port. The DACs are individually selected through address inputs A0 and A1, and updated by bringing active-low WR low. All MAX506 DACs share a common reference input. All logic inputs are TTL and +5V CMOS compatible.
Applications
- Arbitrary Function Generators
- Automatic Test Equipment
- Digital Offset/Gain Adjustment
- Industrial Process Control
- Minimum Component Count Analog Systems
- Programmable Attenuators
Documentation
ADI has always placed the highest emphasis on delivering products that meet the maximum levels of quality and reliability. We achieve this by incorporating quality and reliability checks in every scope of product and process design, and in the manufacturing process as well. "Zero defects" for shipped products is always our goal. View our quality and reliability program and certifications for more information.
| Part Model | Pin/Package Drawing | Documentation | CAD Symbols, Footprints, and 3D Models | 
|---|---|---|---|
| MAX506ACPP+ | Plastic Dual-In-Line, Narrow (0.3in) | ||
| MAX506ACWP+ | Small-Outline IC, Wide (0.3in) | ||
| MAX506ACWP+T | Small-Outline IC, Wide (0.3in) | ||
| MAX506AEPP+ | Plastic Dual-In-Line, Narrow (0.3in) | ||
| MAX506AEWP+ | Small-Outline IC, Wide (0.3in) | ||
| MAX506AEWP+T | Small-Outline IC, Wide (0.3in) | ||
| MAX506BCPP+ | Plastic Dual-In-Line, Narrow (0.3in) | ||
| MAX506BCWP+ | Small-Outline IC, Wide (0.3in) | ||
| MAX506BCWP+T | Small-Outline IC, Wide (0.3in) | ||
| MAX506BEWP+ | Small-Outline IC, Wide (0.3in) | ||
| MAX506BEWP+T | Small-Outline IC, Wide (0.3in) | 
This is the most up-to-date revision of the Data Sheet.
Software Resources
Can't find the software or driver you need?
Request a Driver/SoftwareHardware Ecosystem
| Parts | Product Life Cycle | Description | 
|---|---|---|
| Digital to Analog Converters (DACs) 1 | ||
| MAX5100 | PRODUCTION | +2.7V to +5.5V, Low-Power, Quad, Parallel 8-Bit DAC with Rail-to-Rail Voltage Outputs | 
Latest Discussions
No discussions on MAX506 yet. Have something to say?
Start a Discussion on EngineerZone®