LTC2217

PRODUCTION

16-Bit, 105Msps Low Noise ADC

Viewing:

Overview

  • Sample Rate: 105Msps
  • 81.3dBFS Noise Floor
  • 100dB SFDR
  • SFDR > 90dB at 70MHz
  • 85fsRMS Jitter
  • 2.75VP-P Input Range
  • 400MHz Full Power Bandwidth S/H
  • Optional Internal Dither
  • Optional Data Output Randomizer
  • LVDS or CMOS Outputs
  • Single 3.3V Supply
  • Power Dissipation: 1.19W
  • Clock Duty Cycle Stabilizer
  • Pin Compatible with LTC2208
  • 64-Pin (9mm × 9mm) QFN Package

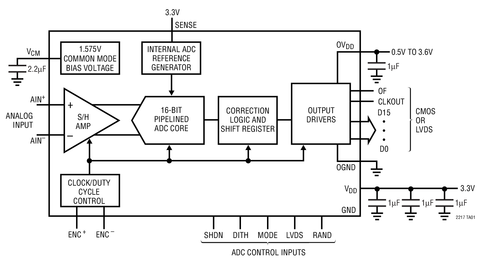
The LTC2217 is a 105Msps sampling 16-bit A/D converter designed for digitizing high frequency, wide dynamic range signals with input frequencies up to 400MHz. The input range of the ADC is fixed at 2.75VP-P.

The LTC2217 is perfect for demanding communications applications, with AC performance that includes 81.3dBFS Noise Floor and 100dB spurious free dynamic range (SFDR). Ultra low jitter of 85fsRMS allows undersampling of high input frequencies while maintaining excellent noise performance. Maximum DC specifications include ±3.5LSB INL, ±1LSB DNL (no missing codes).

The digital output can be either differential LVDS or single-ended CMOS. There are two format options for the CMOS outputs: a single bus running at the full data rate or demultiplexed buses running at half data rate. A separate output power supply allows the CMOS output swing to range from 0.5V to 3.6V.

The ENC+ and ENC inputs may be driven differentially or single-ended with a sine wave, PECL, LVDS, TTL or CMOS inputs. An optional clock duty cycle stabilizer allows high performance at full speed with a wide range of clock duty cycles.

Applications
  • Telecommunications
  • Receivers
  • Cellular Base Stations
  • Spectrum Analysis
  • Imaging Systems
  • ATE

LTC2217
16-Bit, 105Msps Low Noise ADC
64k Point FFT,  FIN = 4.9MHz, –1dBFS Product Package 1
Add to myAnalog

Add product to the Products section of myAnalog (to receive notifications), to an existing project or to a new project.

Create New Project
Ask a Question

Documentation

Data Sheet 1

Reliability Data 1

User Guide 2

Data Sheet

This is the most up-to-date revision of the Data Sheet.

Learn More
Add to myAnalog

Add media to the Resources section of myAnalog, to an existing project or to a new project.

Create New Project

Software Resources

Evaluation Software 2

PScope

The PScope System is a USB-based product demonstration and data acquisition system for use with high performance ADCs and signal chain receiver family. PScope allows users to evaluate the SNR, SFDR, THD, as well as other key parameters, quickly and easily.

LinearLab Tools

A collection of Matlab and Python programs that provide direct access to Linear Technology’s data converter evaluation boards.


Hardware Ecosystem

Parts Product Life Cycle Description
Differential Amplifiers 1
LTC6401-20 LAST TIME BUY 1.3GHz Low Noise, Low Distortion Differential ADC Driver for 140MHz IF
Phase-Locked Loop (PLL) Synthesizers 1
LTC6946 LAST TIME BUY Ultralow Noise and Spurious 0.37GHz to 6.39GHz Integer-N Synthesizer with Integrated VCO
Modal heading
Add to myAnalog

Add product to the Products section of myAnalog (to receive notifications), to an existing project or to a new project.

Create New Project

Tools & Simulations


Evaluation Kits

eval board
DC996B-E

LTC2217IUP | LVDS OUT, 105Msps, 16-Bit ADC 1MHz < AIN < 70MHz, (Requires DC890 & LVDS_XFMR)

Product Details

DC996B-E: Demo Board for the LTC2217 16-Bit, 105Msps Low Noise ADC.

eval board
DC996B-F

LTC2217IUP | LVDS OUT, 105Msps, 16-Bit ADC 70MHz < AIN < 140MHz, (Requires DC890 & LVDS_XFMR)

Product Details

DC996B-F: Demo Board for the LTC2217 16-Bit, 105Msps Low Noise ADC.

eval board
DC854D-F

LTC2217IUP | CMOS OUT, 105Msps, 16-Bit ADC 70MHz < AIN < 140MHz, (Requires DC718)

Product Details

DC854D-F: Demo Board for the LTC2217 16-Bit, 105Msps Low Noise ADC.

eval board
DC854D-E

LTC2217IUP | CMOS OUT, 105Msps, 16-Bit ADC 1MHz < AIN < 70MHz, (Requires DC718)

Product Details

DC854D-E: Demo Board for the LTC2217 16-Bit, 105Msps Low Noise ADC.

DC996B-E
LTC2217IUP | LVDS OUT, 105Msps, 16-Bit ADC 1MHz < AIN < 70MHz, (Requires DC890 & LVDS_XFMR)
DC996A-P - Schematic
DC996B-F
LTC2217IUP | LVDS OUT, 105Msps, 16-Bit ADC 70MHz < AIN < 140MHz, (Requires DC890 & LVDS_XFMR)
DC996A-P - Schematic
DC854D-F
LTC2217IUP | CMOS OUT, 105Msps, 16-Bit ADC 70MHz < AIN < 140MHz, (Requires DC718)
DC854D-A - Schematic
DC854D-E
LTC2217IUP | CMOS OUT, 105Msps, 16-Bit ADC 1MHz < AIN < 70MHz, (Requires DC718)
DC854D-A - Schematic

Latest Discussions

Recently Viewed