LTC2209

PRODUCTION

16-Bit, 160Msps ADC

Viewing:

Overview

  • Sample Rate: 160Msps
  • 77.3dBFS Noise Floor
  • 100dB SFDR
  • SFDR >84dB at 250MHz (1.5VP-P Input Range)
  • PGA Front End (2.25VP-P or 1.5VP-P Input Range)
  • 700MHz Full Power Bandwidth S/H
  • Optional Internal Dither
  • Optional Data Output Randomizer
  • LVDS or CMOS Outputs
  • Single 3.3V Supply
  • Power Dissipation: 1.53W
  • Clock Duty Cycle Stabilizer
  • Pin-Compatible Family:
    • 130Msps: LTC2208 (16-Bit), LTC2208-14 (14-Bit)
    • 105Msps: LTC2217 (16-Bit)
  • 64-Pin (9mm × 9mm) QFN Package

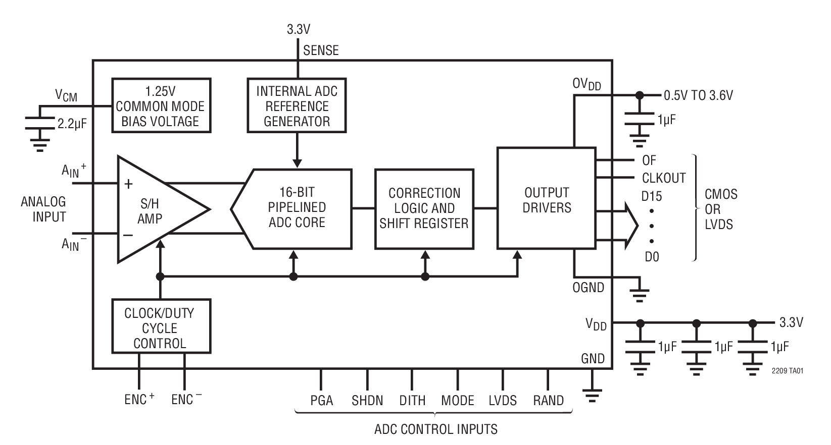
The LTC2209 is a 160Msps 16-bit A/D converter designed for digitizing high frequency, wide dynamic range signals with input frequencies up to 700MHz. The input range of the ADC can be optimized with the PGA front end.

The LTC2209 is perfect for demanding communications applications, with AC performance that includes 77.3dBFS Noise Floor and 100dB spurious free dynamic range (SFDR). Ultra low jitter of 70fsRMS allows undersampling of high input frequencies with excellent noise performance. Maximum DC specs include ±5.5LSB INL, ±1LSB DNL (no missing codes).

The digital output can be either differential LVDS or single-ended CMOS. There are two format options for the CMOS outputs: a single bus running at the full data rate or demultiplexed busses running at half data rate. A separate output power supply allows the CMOS output swing to range from 0.5V to 3.6V.

The ENC+ and ENC inputs may be driven differentially or single-ended with a sine wave, PECL, LVDS, TTL or CMOS inputs. An optional clock duty cycle stabilizer allows high performance at full speed with a wide range of clock duty cycles.

Applications

  • Telecommunications
  • Receivers
  • Cellular Base Stations
  • Spectrum Analysis
  • Imaging Systems

LTC2209
16-Bit, 160Msps ADC
64k Point FFT, fIN = 15.1MHz,  –1dBFS, PGA = 0 Product Package 1
Add to myAnalog

Add product to the Products section of myAnalog (to receive notifications), to an existing project or to a new project.

Create New Project
Ask a Question

Documentation

Data Sheet

This is the most up-to-date revision of the Data Sheet.

Learn More
Add to myAnalog

Add media to the Resources section of myAnalog, to an existing project or to a new project.

Create New Project

Software Resources

Evaluation Software 1

LinearLab Tools

A collection of Matlab and Python programs that provide direct access to Linear Technology’s data converter evaluation boards.


Hardware Ecosystem

Parts Product Life Cycle Description
Analog to Digital Converters (ADCs) 1
LTM9001-A
LTM9001-B
16-Bit IF/Baseband Receiver Subsystem
Differential Amplifiers 2
LTC6400-20 LAST TIME BUY 1.8GHz Low Noise, Low Distortion Differential ADC Driver for 300MHz IF
LTC6417 LAST TIME BUY 1.6GHz Low Noise High Linearity Differential Buffer/16-Bit ADC Driver with Fast Clamp
Phase-Locked Loop (PLL) Synthesizers 1
LTC6946 LAST TIME BUY Ultralow Noise and Spurious 0.37GHz to 6.39GHz Integer-N Synthesizer with Integrated VCO
Modal heading
Add to myAnalog

Add product to the Products section of myAnalog (to receive notifications), to an existing project or to a new project.

Create New Project

Tools & Simulations


Evaluation Kits

eval board
DC1685A

LTC6417 and LTC2209 Combo Board

Product Details

Demonstration circuit 1685A features the LTC6417, a 1.6GHz differential ADC buffer driving the LTC2209, a 16-bit 160Msps ADC. The DC1685B is supplied with a bandpass filter centered at 140MHz between the buffer and ADC. The filter center frequency can be changed to optimize performance at different analog input frequencies. Both single-ended and differential configurations are supported at the inputs. The DC1685A has been developed from the DC1281A, used to characterize LTC2209 family of ADCs.

Use the DC1685A with a DC890 FastDAACS and PScope Software to collect time and frequency data.

eval board
DC1281A-A

LTC2209UP | High IF, LVDS Out, 160Msps, 16-Bit ADC, 1MHz < Ain <80MHz, (requires DC890 & LVDS_XFMR)

Product Details

DC1281A-A: Demo Board for LTC2209 16-Bit, 160Msps ADC

eval board
DC1281A-B

LTC2209UP | High IF, LVDS Out, 160Msps, 16-Bit ADC, 80MHz < AIN <160MHz, (requires DC890 & LVDS_XFMR)

Product Details

DC1281A-B: Demo Board for LTC2209 16-Bit, 160Msps ADC

eval board
DC1282A-A

LTC2209IUP | High IF, LVDS Out, 160Msps, 16-Bit ADC, AIN  >160MHz, (Requires DC890 & LVDS_XFMR)

Product Details

DC1282A-A: Demo Board for LTC2209 16-Bit, 160Msps ADC


 


DC1685A
LTC6417 and LTC2209 Combo Board
DC1685A Application Circuit DC1685A Application Circuit DC1685A Application Circuit
DC1281A-A
LTC2209UP | High IF, LVDS Out, 160Msps, 16-Bit ADC, 1MHz < Ain <80MHz, (requires DC890 & LVDS_XFMR)
DC1281A-A - Schematic
DC1281A-B
LTC2209UP | High IF, LVDS Out, 160Msps, 16-Bit ADC, 80MHz < AIN <160MHz, (requires DC890 & LVDS_XFMR)
DC1281A-A - Schematic
DC1282A-A
LTC2209IUP | High IF, LVDS Out, 160Msps, 16-Bit ADC, AIN  >160MHz, (Requires DC890 & LVDS_XFMR)
DC1282A-A - Schematic

Latest Discussions

Recently Viewed