LTC2208-14

PRODUCTION

14-Bit, 130Msps ADC

Viewing:

Overview

  • Sample Rate: 130Msps
  • 77.1dBFS Noise Floor
  • 98dB SFDR
  • SFDR >81dB at 250MHz (1.5VP-P Input Range)
  • PGA Front End (2.25VP-P or 1.5VP-P Input Range)
  • 700MHz Full Power Bandwidth S/H
  • Optional Internal Dither
  • Optional Data Output Randomizer
  • LVDS or CMOS Outputs
  • Single 3.3V Supply
  • Power Dissipation: 1.32W
  • Clock Duty Cycle Stabilizer
  • Pin Compatible 16-Bit Version
    • 130Msps: LTC2208 (16-Bit)
  • 64-Pin (9mm × 9mm) QFN Package

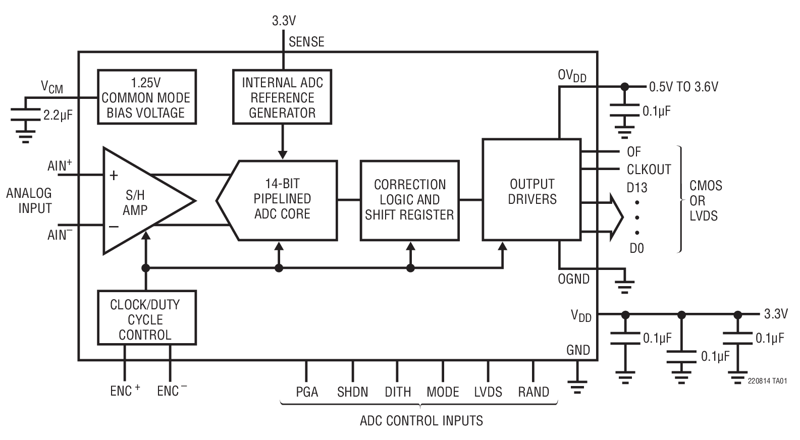
The LTC2208-14 is a 130Msps, sampling 14-bit A/D converter designed for digitizing high frequency, wide dynamic range signals with input frequencies up to 700MHz. The input range of the ADC can be optimized with the PGA front end.

The LTC2208-14 is perfect for demanding communications applications, with AC performance that includes 77.1dBFS Noise Floor and 98dB spurious free dynamic range (SFDR). Ultralow jitter of 70fsRMS allows undersampling of high input frequencies with excellent noise performance. Maximum DC specs include ±1.5LSB INL, ±0.5LSB DNL (no missing codes).

The digital output can be either differential LVDS or single-ended CMOS. There are two format options for the CMOS outputs: a single bus running at the full data rate or demultiplexed buses running at half data rate. A separate output power supply allows the CMOS output swing to range from 0.5V to 3.6V.

The ENC+ and ENC inputs may be driven differentially or single-ended with a sine wave, PECL, LVDS, TTL or CMOS inputs. An optional clock duty cycle stabilizer allows high performance at full speed with a wide range of clock duty cycles.

Bits
LTC2208-14 14
LTC2208-16 16

Applications

  • Telecommunications
  • Receivers
  • Cellular Base Stations
  • Spectrum Analysis
  • Imaging Systems
  • ATE

LTC2208-14
14-Bit, 130Msps ADC
32k Point FFT, fIN = 15.11MHz,  –1dB, PGA = 0, RAND “On”,  Dither “OFF” Product Package 1
Add to myAnalog

Add product to the Products section of myAnalog (to receive notifications), to an existing project or to a new project.

Create New Project
Ask a Question

Documentation

Data Sheet 1

Reliability Data 1

User Guide 3

Technical Articles 1

Data Sheet

This is the most up-to-date revision of the Data Sheet.

Learn More
Add to myAnalog

Add media to the Resources section of myAnalog, to an existing project or to a new project.

Create New Project

Software Resources

Evaluation Software 2

PScope

The PScope System is a USB-based product demonstration and data acquisition system for use with high performance ADCs and signal chain receiver family. PScope allows users to evaluate the SNR, SFDR, THD, as well as other key parameters, quickly and easily.

LinearLab Tools

A collection of Matlab and Python programs that provide direct access to Linear Technology’s data converter evaluation boards.


Hardware Ecosystem

Parts Product Life Cycle Description
Differential Amplifiers 1
LTC6401-14 LAST TIME BUY 2GHz Low Noise, Low Distortion Differential ADC Driver for DC-140MHz
Phase-Locked Loop (PLL) Synthesizers 1
LTC6950 Obsolete 1.4GHz Low Phase Noise, Low Jitter PLL with Clock Distribution
Modal heading
Add to myAnalog

Add product to the Products section of myAnalog (to receive notifications), to an existing project or to a new project.

Create New Project

Tools & Simulations


Evaluation Kits

eval board
DC996B-C

LTC2208IUP-14 | LVDS OUT, 130Msps, 14-Bit ADC 1MHz < AIN < 70MHz, (Requires DC890 & LVDS_XFMR)

Product Details

DC996B-C: Demo Board for the LTC2208-14 14-Bit, 130Msps ADC.

eval board
DC996B-D

LTC2208IUP-14 | LVDS OUT, 130Msps, 14-Bit ADC 70MHz < AIN < 140MHz, (Requires DC890 & LVDS_XFMR)

Product Details

DC996B-D: Demo Board for the LTC2208-14 14-Bit, 130Msps ADC.

eval board
DC996A-Q

LTC2208IUP-14| High IF, LVDS OUT, 130Msps, 14-Bit ADC, AIN > 140MHz, (Requires DC890 & LVDS_XFMR)

Product Details

DC996A-Q: Demo Board for the LTC2208-14 14-Bit, 130Msps ADC.

eval board
DC854D-C

LTC2208IUP-14 | CMOS OUT, 130Msps, 14-Bit ADC, 1MHz < AIN < 70MHz, (Requires DC718)

Product Details

DC854D-C: Demo Board for the LTC2208-14 14-Bit, 130Msps ADC.

eval board
DC854D-D

LTC2208IUP-14 | CMOS OUT, 130Msps, 14-Bit ADC, 70MHz < AIN < 140MHz, (Requires DC718)

Product Details

DC854D-D: Demo Board for the LTC2208-14 14-Bit, 130Msps ADC.

eval board
DC854C-Q

LTC2208IUP-14 | CMOS OUT, 130Msps, 14-Bit ADC, AIN > 140MHz, (Requires DC718)

Product Details

DC854C-Q: Demo Board for the LTC2208-14 14-Bit, 130Msps ADC.

DC996B-C
LTC2208IUP-14 | LVDS OUT, 130Msps, 14-Bit ADC 1MHz < AIN < 70MHz, (Requires DC890 & LVDS_XFMR)
DC996A-P - Schematic
DC996B-D
LTC2208IUP-14 | LVDS OUT, 130Msps, 14-Bit ADC 70MHz < AIN < 140MHz, (Requires DC890 & LVDS_XFMR)
DC996A-P - Schematic
DC996A-Q
LTC2208IUP-14| High IF, LVDS OUT, 130Msps, 14-Bit ADC, AIN > 140MHz, (Requires DC890 & LVDS_XFMR)
DC996A-P - Schematic
DC854D-C
LTC2208IUP-14 | CMOS OUT, 130Msps, 14-Bit ADC, 1MHz < AIN < 70MHz, (Requires DC718)
DC854D-A - Schematic
DC854D-D
LTC2208IUP-14 | CMOS OUT, 130Msps, 14-Bit ADC, 70MHz < AIN < 140MHz, (Requires DC718)
DC854D-A - Schematic
DC854C-Q
LTC2208IUP-14 | CMOS OUT, 130Msps, 14-Bit ADC, AIN > 140MHz, (Requires DC718)
DC854C-P - Schematic

Latest Discussions

No discussions on LTC2208-14 yet. Have something to say?

Start a Discussion on EngineerZone®

Recently Viewed