ADF5901

RECOMMENDED FOR NEW DESIGNS

24 GHz VCO and PGA with 2-Channel PA Output

Viewing:

Overview

  • 24 GHz to 24.25 GHz voltage controlled oscillator (VCO)
  • 2-channel 24 GHz power amplifier (PA) with 8 dBm output
  • Single-ended outputs
  • 2-channel muxed outputs with mute function
  • Programmable output power
  • N divider output (frequency discriminator)
  • 24 GHz local oscillator (LO) output buffer
  • 250 MHz signal bandwidth
  • Power control detector
  • Auxiliary 8-bit ADC
  • ±5°C temperature sensor
  • 4-wire serial peripheral interface (SPI)
  • Electrostatic discharge (ESD) performance
    • Human body model (HBM): 2000 V
    • Charged device model (CDM): 250 V
  • Qualified for automotive applications

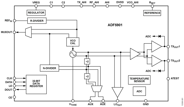
The ADF5901 is a 24 GHz Tx monolithic microwave integrated circuit (MMIC) with an on-chip, 24 GHz VCO with PGA and dual Tx channels for radar systems. The on-chip, 24 GHz VCO generates the 24 GHz signal for the two Tx channels and the LO output. Each Tx channel contains a power control circuit. There is also an on-chip temperature sensor.

Control of all the on-chip registers is through a simple 4-wire interface.

The ADF5901 comes in a compact 32-lead, 5 mm × 5 mm LFCSP package.

Applications

  • Automotive radars
  • Industrial radars
  • Microwave radar sensors
  • Industrial sensors
    • Precision instrumentation
    • Tank level sensors
    • Smart sensors
      • Door opening
      • Energy saving
  • Commercial sensors: object detection and tracking
    • Cars, boats, aircraft, and UAVs (drones): collision avoidance
    • Intelligent transportation systems: intelligent traffic monitoring and control
    • Surveillance and security

ADF5901

24 GHz VCO and PGA with 2-Channel PA Output

ADF5901 Functional Block Diagram ADF5901 Pin Configuration
Add to myAnalog

Add product to the Products section of myAnalog (to receive notifications), to an existing project or to a new project.

Create New Project
Ask a Question

Documentation

Learn More
Add to myAnalog

Add media to the Resources section of myAnalog, to an existing project or to a new project.

Create New Project

Software Resources

Evaluation Software 2

EV-RADAR-MMIC Evaluation Software

 

ADF5901 and ADF4159 Evaluation Board Software

 


Tools & Simulations


Evaluation Kits

eval board
EVAL-TINYRAD

Evaluating the TINYRAD 24 GHz Demonstration Platform

Features and Benefits

  • 24 GHz to 24.25 GHz MIMO FMCW radar
  • Flexible FMCW measurement timing
  • Suitable for target detection and tracking
  • Range resolution of 60 cm, range = 100 m (for RCS = 1 m2)
  • 3 dB beam width = 75° in azimuth and 15° in elevation, azimuth resolution using MIMO angle estimation = 20°
  • 1 PCB, 85 mm × 55 mm
  • 2 front side transmit antennas
  • 4 front side receive antennas
  • Reverse side ADF5901 24 GHz transmit monolithic microwave integrated circuit (MMIC)
  • Reverse side ADF5904 24 GHz receive MMIC
  • Reverse side ADF4159 13 GHz phase-locked loop (PLL)
  • Reverse side ADAR7251 16-bit, 4-channel ADC
  • Reverse side ADSP-BF706 Blackfin DSP
  • Accompanying software controls all functions from a PC
  • Externally powered via the USB connection

Product Details

The EV-TINYRAD24G is a radar evaluation module that allows the implementation and testing of radar sensing applications in the 24 GHz industrial, scientific, and medical (ISM) band. The EV-TINYRAD24G uses frequency modulated continuous wave (FMCW) radio signals and an integrated antenna array in a multiple input multiple output (MIMO) radar scheme. The combined antennas, similar to digital beamforming (DBF), allow the TINYRAD module to detect the distance, speed, and angular position of multiple targets simultaneously. The raw analog-to-digital converter (ADC) data is forwarded by the onboard Blackfin® ADSP-BF706 digital signal processor (DSP) to the PC. The PC evaluation software, with an included graphical user interface (GUI), performs radar signal processing steps to yield radar point clouds that can be visualized as range doppler or range angle plots. The radar algorithms are also available as MATLAB and Python code and enable quick development of user defined, application specific code.

eval board
EVAL-ADF5901

ADF5901 Evaluation Board

Features and Benefits

  • Contains ADF5901 24 GHz VCO and PGA with a 2-channel PA output 
  • Contains ADF4159 13 GHz fractional-N frequency synthesizer 
  • Accompanying software allows control of the ADF5901 and the ADF4159 functions from a PC

Product Details

The EV-ADF5901SD2Z evaluation board allows the user to evaluate the performance of the ADF5901 24 GHz VCO and PGA with a 2-channel PA output. Figure 1 shows the EV-ADF5901SD2Z, which contains the ADF5901, the ADF4159, three high frequency, K-type SMA connectors for the local oscillator (LO) output and two transceiver (Tx) outputs, two high frequency SMA connectors for the AUX and the AUX outputs, banana connectors for power supply, and a connector for the serial interface.

The EV-ADF5901SD2Z evaluation kit also contains software that is compatible with Windows XP and later versions to allow easy programming of the device.

The EV-ADF5901SD2Z evaluation board requires an EVALSDP-CS1Z (SDP-S) controller board, which is not supplied with the kit. The EVAL-SDP-CS1Z allows software programming of the ADF5901 device.

Full specifications on the ADF5901 are available in the ADF5901 data sheet, which should be consulted in conjunction with this user guide when working with the evaluation board.

eval board
EVAL-RADAR-MMIC

Evaluation Board for the ADF5901, ADF5904, and ADF4159 Chipset for a 24 GHz FMCW Radar

Features and Benefits

  • Evaluates the chipset containing the ADF5901 24 GHz Tx MMIC, the ADF5904 24 GHz Rx MMIC, and the ADF4159 13 GHz PLL
  • Accompanying software controls all functions from a PC

Product Details

The EV-RADAR-MMIC2 evaluation board is designed to evaluate the performance of the ADF5901, a 24 GHz transmitter (Tx) monolithic microwave integrated circuit (MMIC); the ADF5904, a 24 GHz receiver (Rx) MMIC; and the ADF4159, a 13 GHz phase-locked loop (PLL) for a frequency modulated continuous wave (FMCW) radar system.


The EV-ADAR-D2S adapter board contains the eight AD8129 differential receiver amplifiers that convert the baseband ADF5904 differential signals to single-ended signals with a 20 dB gain.


The evaluation kit also contains the Analog Devices EV-RADAR-MMIC Software, which is compatible with Windows® XP and later Windows versions to allow easy programming of the device.


The EV-RADAR-MMIC2 evaluation board requires an SDP-S or SDP-B board (not supplied with the kit). The SDP board allows software programming of all the devices.


Full specifications for the ADF5901, ADF5904, and ADF4159 are listed in the ADF5901 data sheet, the ADF5904 data sheet, and the ADF4159 data sheet available from Analog Devices and should be consulted in conjunction with UG-866 when using the evaluation board.


EVAL-TINYRAD
Evaluating the TINYRAD 24 GHz Demonstration Platform
EV-TINYRAD24GANGLE-web EV-TINYRAD24GTOP-web EV-TINYRAD24GBOTTOM-ruler EVAL-TINYRADANGLE-web EVAL-TINYRADTOP-web EVAL-TINYRADBOTTOM-web EVAL-TINYRADCASE-web
EVAL-ADF5901
ADF5901 Evaluation Board
EV-ADF5901SD2Z Image EV-RADAR-MMIC2 Image
EVAL-RADAR-MMIC
Evaluation Board for the ADF5901, ADF5904, and ADF4159 Chipset for a 24 GHz FMCW Radar
EV-RADAR-MMIC2 Image

Latest Discussions

Recently Viewed