AD5751

PRODUCTION

Industrial I/V Output Driver, Single-Supply, 55 V Maximum Supply, Programmable Ranges

Viewing:

Overview

  • Current output ranges: 0 mA to 20 mA, 0 mA to 24 mA, or 4 mA to 20 mA
    • ±0.03% FSR typical total unadjusted error (TUE)
    • ±5 ppm/°C typical output drift
    • 2% overrange
  • Voltage output ranges: 0 V to 5 V, 0 V to 10 V, 0 V to 40 V
    • ±0.02% FSR typical total unadjusted error (TUE)
    • ±3 ppm/°C typical output drift
  • Overrange capability on all ranges
  • Flexible serial digital interface
  • On-chip output fault detection
  • PEC error checking
  • Asynchronous CLEAR function
  • Power supply range
    • AVDD: 12 V (± 10%) to 55 V (maximum)
  • Output loop compliance to AVDD − 2.75 V
  • Temperature range: −40°C to +105°C
  • 32-lead 5 mm × 5 mm LFCSP package

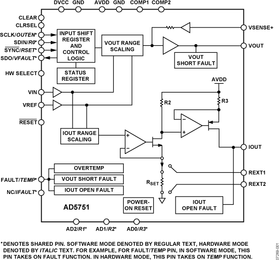
The AD5751 is a single-channel, low cost, precision, voltage/current output driver with hardware or software programmable output ranges. The software ranges are configured via an SPI-/MICROWIRE™-compatible serial interface. The AD5751 targets applications in PLC and industrial process control. The analog input to the AD5751 is provided from a low voltage, single-supply digital-to-analog converter (DAC) and is internally conditioned to provide the desired output current/voltage range.

The output current range is programmable across three current ranges: 0 mA to 20 mA, 0 mA to 24 mA, or 4 mA to 20 mA.

Voltage output is provided from a separate pin that can be configured to provide 0 V to 5 V, 0 V to 10 V, and 0 V to 40 V output ranges. An overrange is available on the voltage ranges.

Analog outputs are short-circuit and open-circuit protected and can drive capacitive loads of 1 μF and inductive loads of 0.1 H.

The device is specified to operate with a power supply range from 10.8 V to 55 V. Output loop compliance is 0 V to AVDD − 2.75 V.

The flexible serial interface is SPI and MICROWIRE compatible and can be operated in 3-wire mode to minimize the digital isolation required in isolated applications. The interface also features an optional PEC error checking feature using CRC-8 error checking, useful in industrial environments where data communication corruption can occur.

The device also includes a power-on reset function ensuring that the device powers up in a known state (0 V or tristate) and an asynchronous CLEAR pin that sets the outputs to zero-scale/midscale voltage output or the low end of the selected current range.

An HW SELECT pin is used to configure the part for hardware or software mode on power-up.

Applications

  • Process control
  • Actuator control
  • PLCs

AD5751

Industrial I/V Output Driver, Single-Supply, 55 V Maximum Supply, Programmable Ranges

AD5751-FBL AD5751 Pin Configuration
Add to myAnalog

Add product to the Products section of myAnalog (to receive notifications), to an existing project or to a new project.

Create New Project
Ask a Question

Documentation

Learn More
Add to myAnalog

Add media to the Resources section of myAnalog, to an existing project or to a new project.

Create New Project

Software Resources


Evaluation Kits

eval board
EVAL-AD5750

AD5750 Evaluation Board

Product Details

The evaluation board can be connected to a PC via USB interface. Software is provided that can be used to program the registers of the AD5750 via the USB interface to the PC.

EVAL-AD5750
AD5750 Evaluation Board
AD5750 Evaluation Board AD5750 Evaluation Board - Bottom View AD5750 Evaluation Board - Top View

Reference Designs

Basic Analog Output Circuit for Single Channel
CN0204 Circuits from the lab

Flexible, High Voltage, High Accuracy, Low Drift PLC/DCS Analog Output Module

Features and Benefits

  • High voltage, up to 44V
  • Programmable analog output
  • Galvanic isolation from rest of system
  • Ideal for PLC and DCS modules
CN0204
Flexible, High Voltage, High Accuracy, Low Drift PLC/DCS Analog Output Module
Basic Analog Output Circuit for Single Channel

Latest Discussions

Recently Viewed